Туалет для дачи без запаха и откачки своими руками
Достоинство дачного туалета в том, что его можно быстро соорудить на участке и при надобности переставить в другое место. На этом плюсы уличного санузла заканчиваются, и начинаются большие проблемы. Выгребная яма со временем заполняется отходами. Ее надо выкачивать или копать новую, а старую консервировать. С наступлением жары запахи от туалета разносятся по всей территории дачи, портя отдых хозяевам и соседям. По новым технологиям сделан туалет для дачи без запаха и откачки, избавляющий хозяев загородного участка от этих проблем.
Источником проблем дачного туалета является выгребная яма
Под летний туалет на даче выкапывают выгребную яму. Резервуар служит накопителем отходов. Для уменьшения распространения плохих запахов и предотвращения заражения грунта, выгребную яму дачного туалета делают герметичную с дном. Однако такой резервуар быстро заполняется и требует откачки. Особенно проблема ощутима, если в яму подключена канализация из жилого дома.
Многие владельцы дачных участков делают дренажное дно выгребной ямы. Первые несколько лет жидкость свободно впитывается в грунт, а твердые фракции оседают на дно. С увеличением осадка начинается заиливание выгребной ямы. Проблем с ее очисткой у дачника возникает еще больше, чем с герметичным резервуаром. Нечистоты с твердыми отходами приходится удалять, после чего нужно восстанавливать фильтрующее дно.
Основное неудобство использования выгребной ямы на даче заключается в следующем:
- Обслуживание выгребной ямы дачного туалета сопровождается определенными расходами. Быстрое заполнение резервуара требует частой откачки. Вызов ассенизаторской машины с каждым годом обходится дачнику дороже.
- Как бы хозяин туалета ни пытался герметизировать выгребную яму, исходящий от нее плохой запах распространяется по большой территории дачи.
- Даже самая надежная выгребная яма со временем утрачивает герметичность стенок. Нечистоты просачиваются в землю, отравляя участок и грунтовые воды.
- На маленьком дачном участке выгребная яма не позволяет обзавестись собственным колодцем. Существует вероятность отравления питьевой воды.
Внимание! Использование выгребной ямы зимой, если на даче имеется канализация, требует позаботиться об утеплении резервуара. В противном случае при сильных морозах существует угроза замерзания жидких нечистот. Вследствие этого, пользование дачной канализацией становится невозможным.
Установив на своем участке туалет для дачи без запаха и откачки, хозяин несет определенные затраты только в начальном этапе. Зато он получает чистый воздух, а также избавляется от лишних затрат на выкачку выгребной ямы.
Варианты обустройства дачного туалета без запаха и частой откачки
Итак, настало время рассмотреть возможные варианты, как сделать на даче туалет без запаха, и чтобы его по возможности реже надо было откачивать. Заменить выгребную яму на даче можно следующими способами:
- установить биотуалет;
- купить пластиковый септик или изготовить самостоятельно из бетонных колец;
- обзавестись современной очистной системой.
Выбор каждого из способов зависит от сезонности и количества проживающих на даче людей, а также финансовых возможностей.
Торфяной биотуалет – самое дешевое решение проблемы санузла на даче
Организовать дешевый туалет на даче без запаха поможет покупка торфяного санузла. При желании такой биотуалет можно изготовить самостоятельно. Суть функционирования туалета заключается в наличии небольшой емкости для отходов. Ее устанавливают под стульчак. После посещения биотуалета человеком отходы присыпаются торфом. У магазинных торфяных туалетов существует механизм, выполняющий работу припудривания. В самодельном варианте торф засыпается вручную совком.
Важно! Очистку емкости дачного биотуалета необходимо производить каждые 3–4 дня. Отходы выносят на компостную кучу, где сверху дополнительно присыпают землей или торфом. После перегнивания получается неплохое органическое удобрение для дачного участка.
Торфяной биотуалет обладает компактными размерами. Его можно поставить в любом месте, будь то отведенный угол внутри дома или выставленная на улице кабинка. Незаменим биотуалет на дачном участке с высоко расположенными грунтовыми водами, так как выкопать здесь выгребную яму не получится. Недостатком торфяного туалета является невозможность подключения канализации. Если на даче проживают люди зимой и в доме есть канализация с подключенными водоразборными точками, от биотуалета придется отказаться.
Совет! От торфяного биотуалета не будет исходить запахов при условии организации вентиляции. При использовании стульчака внутри дома, лучшим вариантом будет обустройство принудительной вентиляции санузла.
Переливные септики – современное решение дачного санузла
При круглогодичном проживании на даче идеально обзавестись септиком. Это уже будет настоящий туалет для дачи без запаха и откачки, способный переработать много нечистот. Септик можно купить готовый или сделать самостоятельно из любых емкостей. Для работы подходят бетонные кольца, пластиковые баки, железные бочки. Вообще, подойдет любой строительный материал, позволяющий изготовить герметичные камеры.
Размер и количество камер рассчитывают по трехсуточному накоплению нечистот. Дело в том, что отходы внутри камер септика перерабатываются бактериями за трое суток. Размера емкостей за этот период должно хватить для вмещения отходов, плюс необходим маленький запас.
Обычно дачный переливной септик состоит из двух или трех камер. В первую камеру попадают отходы из канализации, где происходит разложение на твердые фракции и жидкость. Через переливную трубу грязная вода попадает во вторую камеру, где проходит второй этап очистки. При наличии третьей камеры процедура с жидкостью повторяется. Из последней камеры очищенная вода по трубам уходит на поле фильтрации. Сквозь дренажный слой жидкость впитывается просто в грунт.
Важно! На глинистых дачных участках и с высоким расположением грунтовых вод невозможно обустроить аэрационное поле для отвода жидкости из последней камеры. Выходом из ситуации может служить приобретение септика с биологическим фильтром. Он позволяет выполнять глубокую очистку воды, которую просто можно сливать в отведенное на дачном участке место.
Очистные системы для переработки отходов
Работа очистных систем напоминает септики, только с увеличенным количеством ступеней переработки нечистот, плюс используется дополнительное оборудование. Очистные системы сложны и дороги в качестве дачного туалета, но все же требуют внимания:
- Очистная система на основе ультрафильтрации перерабатывает отходы на полностью очищенную воду, пригодную для повторного использования. Очистка происходит без применения химических реагентов.
- Ионообменные реагенты применяются в системе быстрого процесса переработки отходов. Реагенты позволяют придавать очищенной жидкости требуемую жесткость.
- Очистная система с электрохимическим осаждением после переработки нечистот образует осадок металлических примесей в жидкости. Далее, химикаты выводят эти примеси из воды.
- Лучшей очистной системой для дачи считается мембранный обратный осмос. Проходя через обратную мембрану, отходы перерабатываются на дистиллированную воду. Мембрана через свои поры пропускает только молекулы воды, а все твердые фракции и даже химические примеси задерживает.
Первоначально любая очистная система требует больших затрат, но хозяин дачи забудет о плохих запахах уличного туалета, и частом выкачивании выгребной ямы.
На видео рассказывают, как выбрать биотуалет для дачи:
Вентиляция в дачных туалетах
Причиной распространения по дачному участку плохого запаха от туалета является не только наличие выгребной ямы, но и отсутствие вентиляции. Причем желательно организовать вентиляцию самого резервуара и помещения, где установлен стульчак или унитаз.
Вентиляцию дачного уличного туалета изготовляют из ПВХ трубы диаметром 100 мм. Ее крепят хомутами к задней стенке домика со стороны улицы. Нижний конец трубы на 100 мм погружают под крышку выгребной ямы, а верхний край выводят на 200 мм выше крыши домика. От дождя сверху надевают колпак. Естественную вентиляцию внутри домика организовывают окнами. Снизу предусматривают окошко для притока свежего воздуха, а сверху – для выхода грязных воздушных масс. Чаще всего домики дачного туалета оборудуют одним верхним окошком. Приток свежего воздуха получается за счет щелей в дверях.
Вентиляцию дачного санузла в доме организовывают установкой фановой трубы. Она является продолжением канализационного стояка, к которому подключен унитаз. Внутри санузла лучше всего сделать принудительную вентиляцию. Для этого достаточно установить вытяжной вентилятор, работающий от электричества.
Как видите, если постараться творчески подойти к вопросу, не жалеть вложить денежные средства, можно на даче построить современный туалет, не требующий частой откачки отходов и без плохих запахов.
fermilon.ru
Дачный туалет без выгребной ямы и без запаха: разновидности и установка

Устройство дачного туалета — проблемное, но необходимое занятие. Как сделать туалет без запаха, чтобы еще не нужно было постоянно откачивать отходы из выгребной ямы.



Многие отдают предпочтения дачным туалетам без выгребной ямы. Но при этом опасаются неприятного запаха, который может вполне появиться. Всех неприятных последствий можно избежать, если вовремя и правильно все сделать. Ниже мы расскажем вам о самых простых способах решения неприятностей.



Виды туалетов без выгребной ямы
Можно приобрести специально сделанные для дач туалеты, в которых нет выгребных ям. Это, как правило, компактные и весьма удобные варианты. Но для тех, кто не привык выбрасывать большие суммы, есть инструкции по изготовлению туалетов, можно все сделать по пунктам достаточно просто.
Все туалеты такого типа можно разделить на подвиды:
- септики,
- биотуалеты,
- пудр-клозеты.



Биотуалеты
Они сейчас очень популярны, как на дачах, так и на выездных мероприятиях. Обычно биотуалеты приобретают те, кто не планирует жить неделями на даче, биотуалеты приходится менять, поэтому они хороши для периодических посещений участка. Основные преимущества таких вариантов:
- занимают мало места;
- весят немного;
- не требуют сложных конструкций и устройств для монтирования.



Биотуалеты устанавливают, где угодно владельцам, тут не важен рельеф. Такие туалеты хорошо подходят в случае неглубоких грунтовых вод. Когда в туалете накапливается достаточно отходов, их утилизируют в качестве удобрения.



Септик
Септик — популярный вариант для утилизации, он может объединить в себе не только туалет, но и всю систему канализации в доме. Он отлично справляется с переработкой и очисткой отходов.
Септиков сейчас множество, они разного объема и сделаны из разных материалов.



Пудр-клозет
Третий вариант без выкапывания выгребных ям — это, так называемый, пудр-клозет. Такой туалет требует регулярных действий: практически после каждого использования туалета его нужно засыпать подходящими растворами и смесями. Опилки, зола, химические соединения и торф превращают все отходы в компост. Такой вариант прекрасно подходит для дачников, ведь после использования получится обычный компост, который можно использовать для посадок.



Где расположится унитаз-туалет?
Туалет на улице располагается по определенным правилам. Если даже вы выбрали модель без ямы, то для соображения гигиены расположите его дальше метра от забора и дальше двадцати метров от источника питьевой воды.


Туалеты — это не просто сами унитазы, не требующие выгребной ямы, но и прочные сооружения, в которых нужно разместить резервуары и подходящие конструкции. Отходы должны утилизироваться просто и экологично, желательно, чтобы отходы можно было использовать в качестве компоста.



Материалы
Дачные туалеты строят в виде прочного каркаса. Он создается из бруса или других досок, каркас обшивается вагонкой. Не забудьте доски для создания сидения туалета, если выбранная конструкция этого требует. Крыша покрывается металлом. Своими руками обычно сбивается дверь, но она продается и в строительных магазинах.



Строительство домика
Туалет без ямы возводится по тем же правилам, что и обычный. Если вы хотите подробно ознакомиться со всеми тонкостями, то читайте статью «Дачный туалет своими руками с фото и 48 чертежами». А если вам лень, то расскажем вкратце.
Для прочности и сохранения тепла фундамент укрепляется рубероидом или другим вариантом простилки. Обязательно все детали покройте лаком или защитным составом еще до сборки, это позволит сохранить конструкцию надолго.



После закладки фундамента начинают строить каркас из бруса. Все детали располагаются ровно, прочно закрепляя доски металлическими болтами. Смотрите, чтоб ничего не шаталось и не скрипело. Вертикальные стойки должны быть одного размера и ширины.



Но есть маленькая хитрость, если передние стойки сделать чуть выше, то крыша под наклоном не будет задерживать влагу и снег, а значит на нее не будет оказыватьс дополнительная нагрузка.



Крышу укрепляют дополнительно балками, полы настилают плотно и без зазоров. Самым последним этапом устанавливают тумбу для туалета.



Снаружи и внутри нужно провести обшивку, прочнее всего материал должен быть на крыше, к примеру, руберойд.



Фото: vk.com ok.ru youtube.com
Туалет для дачи без запаха и откачки: разбираем возможные типы
Ссылка на статью успешно отправлена!
Отправим материал вам на e-mail
Туалет для дачи без запаха и откачки представляет собой эргономичную конструкцию, которая монтируется на участках, где нет канализации. Практически любой хозяин жилья мечтает о подобной конструкции, так как систематическое вычищение выгребной ямы является неприятным процессом. Наличие данной канавы сопровождается некоторыми трудностями. Современные технологии позволяют приобрести новейшие системы, которые не требуют откачки. Дачный клозет – это либо внутридомовая уборная, либо отдельно стоящая надворная конструкция.

Создание качественного очистного сооружения позволит сделать клозет, не требующий частой откачки
Содержание статьи
Какие минусы есть у выгребных ям?
Процедура откачивания емкости имеет высокую стоимость, а также сопровождается зловонными ароматами.

Подобные резервуары необходимо часто откачивать с помощью ассенизаторских машин
Наличие данного резервуара сопровождается определенными трудностями:
- на расстоянии нескольких метров от ямы присутствует неприятный запах;
- затраты на постоянные откачивания емкости;
- нарушение герметичности приводит к попаданию загрязненных вод в грунт;
- рядом с подобным резервуаром нельзя устанавливать колодец с питьевой водой.
Существует несколько способов решения подобной проблемы.

Монтаж современных конструкций позволит обойтись без откачки
Туалет для дачи без запаха и откачки: популярные разновидности
Существует несколько разновидностей туалетов для дачи без запаха и откачки. Это биотуалет, торфяные и химические конструкции, а также септики и пудр-клозеты.

Существует большое количество моделей биотуалетов и торфяных конструкций, которые можно использовать во дворе и дома
Конструкции, которые устанавливаются вместо канализационной системы, отличаются следующими достоинствами:
- не требуется монтаж трубопровода и системы слива;
- существует возможность установить туалет в помещении;
- дешевые расходные материалы;
- нет необходимости в выгребных ямах;
- можно получить качественный и полезный компост.

Можно приобрести готовые конструкции, которые не потребуется собирать
К наиболее популярным вариантам относятся биотуалеты, современные очистные конструкции, а также переливные очистные сооружения. Выбор технологии переработки загрязненной воды зависит от возможностей бюджета, времени проживания в здании и количества жильцов.
Торфяной биотуалет для дачи: нюансы конструкции
С помощью торфяного биотуалета для дачи можно удалять нечистоты без применения воды. Подобная конструкция относится к самым простым и недорогим вариантам. После определенной переработки отходов можно получить хорошее удобрение.

Торфяные конструкции можно соорудить своими руками
Для качественного функционирования подобного оборудования требуется торф, который продается в магазине. Состав насыпается в верхний отсек унитаза. В нижней части торф засыпается на толщину 15 мм. После посещения клозета следует нажать на ручку, чтобы раствор из основной части попал в нижнюю.

Многие модели биотуалетов смотрятся очень эстетично
Биотуалеты нужно чистить раз в месяц. Свойства торфа способствуют переработки 10 литров жидкости с помощью 1 кг состава.
При монтаже подобного устройства, стоит учесть следующие особенности:
- чтобы избежать остатков неприятного запаха подобную конструкцию лучше разместить в хозблоке;
- для устранения жидкости необходимо сделать качественную дренажную систему. При установке в помещении стоит продумать, куда выводить отводящую трубу;
- необходимо установить вентиляционную систему.

Монтаж конструкции не отличается особой сложностью
Важная информация! Если туалетом пользуется более четырех человек, то стоит продумать принудительную вентиляцию.
Статья по теме:
Современные очистные установки
Новейшими приборами очистки являются септики, которые оснащены большим количеством очистных уровней. Могут использоваться следующие варианты технологий:
- ультрафильтрационные так тщательно чистят воду, что можно использовать жидкость вторично. При этом не применяются химикаты;

На схеме показано, что конструкция состоит из множества фильтров, каждый из которых обладает определенной пропускной способностью
- реагентные ионообменные установки делают чистку очень быстрой и смягчают воду;

Подобный метод часто применяется на производстве
- чистка электрохимическим способом помогает опустить вниз металлические взвеси;

Электрохимическая чистка относится к новым технологическим разработкам
- самым новым методом чистки является мембранный обратный осмос. При этом из загрязненных жидких составов можно получить дистиллированную воду. Стоки проходят через специальную мембрану, через которую могут пройти только частицы воды. Данный элемент удерживает ненужные примеси.

На схеме демонстрируется сложное устройство мембраны
Переливные бетонные и пластиковые септики
Обустроить клозет без канализации помогут локальные септические устройства. Септик – это оборудование для накопления и чистки сточных вод, которые попадают в резервуар.

Как устроен септик с переливом можно увидеть на чертеже
Загрязненная жидкость проходит по трубам в бочку, поделенную на три части. В первом отсеке смеси отстаиваются и делятся на отдельные растворы. Во второй части жидкость очищается с помощью бактериальной флоры. В последней емкости жидкость отстаивается.

Использование нескольких камер способствует лучшему очищению воды
Полезная информация! Поля фильтрации получается установить не на любом участке. Их можно заменить установками с биологическими фильтрами, которые предусматривают глубокое очищение.
Как выбрать септик для дачи: преимущества и полезные свойства
Перед выполнением конструкции автономной канализации, стоит определиться как выбрать септик для дачи. Специальные рекомендации позволят выбрать лучшее устройство:
- перед монтажом стоит провести экспертизу для определения глубины прохождения грунтовых вод. От этого зависит, можно ли сделать фильтрационные поля или потребуется установка системы глубокой чистки;
- нужно правильно рассчитать подходящий объем бака;
- на выбор септика влияет планируемое время проживания в загородном доме. Некоторые модели плохо переносят простой в холодный период.

Очистная конструкция для дачи может выполняться из разного материала
От чего зависит производительность конструкции
Септики могут иметь различное количество камер. Это зависит от объема перерабатываемой жидкости в сутки.

От массы обрабатываемой жидкости зависит также сложность очистной конструкции и ее структура
Если объем не превышает 1 кубический метр, то можно воспользоваться однокамерной конструкцией. Если предполагаемый объем от 1 до 10, то используются септики с двумя камерами. Трехкамерные применяются, когда надо переработать более 10 кубических метров.
При выборе септиков значение имеет тип почвы. Если в составе грунта большое количество глины, то вода будет плохо проходить. При близком прохождении грунтовых вод, также потребуется отказаться от стандартных септиков.
Полезная информация! Нельзя допускать при использовании септиков простоев. Так как это может привести к гибели бактерий и потере полезных свойств фильтра.

На схеме изображено поле фильтрации, которое трудно установить при слишком плотной почве
Как сделать очистную конструкцию из пластика своими руками?
Очистное оборудование из пластика позволит создать качественный туалет для дачи. Фото подобных конструкций можно посмотреть на сайте. Установка пластиковых сооружений состоит из следующих этапов:
- подбирается удобное место, и проводятся расчеты габаритов подобного сооружения;
- выкапывается траншея;
- при необходимости планируется место для установки полей фильтрации;
- выполняется сборка емкости;
- резервуар и магистрали закрепляются в траншее;
- регулируется размещение трубопроводной системы;
- производится тестирование устойчивости конструкции.

При монтаже пластиковых конструкций верхнюю часть необходимо утеплить
Расстояние до очистной конструкции должно быть не менее пяти метров. Так как жидкость после прохождения через очистные барьеры может проникнуть под фундамент.
Полезная информация! Для точного определения параметров траншеи следует учесть габариты резервуара, высоту основы и размер верхней прослойки. Перед заморозками стоит соорудить теплоизоляцию для крышки сооружения.
Дачный туалет без выгребной ямы своими руками: конструкция из бетонных колец
Создать очистную конструкцию можно из обычных бетонных колец. При этом необходимо выполнить следующие шаги:
- нужно приобрести три люка и девять колец;
- в ряд выкапывается три котлована;
- две траншеи следует дополнить бетонными подушками;
- производится монтаж колец с помощью строительной техники.
После установки пространство между элементами заполняется стеклянным составом и засыпается землей.

Необязательно использовать по три кольца на каждую камеру, можно рассмотреть и другие варианты
Полезная информация! Труба, которая подводится к первому резервуару, прокладывается с определенным уклоном. Следующая магистраль должна размещаться на 202 мм ниже, а третья опускается еще ниже.
Как сделать туалет для дачи: фото и этапы монтажа
Прежде чем сделать туалет для дачи без запаха и откачки, нужно подобрать оптимальную разновидность конструкции. Торфяные установки и биотуалеты не требуют сборки, так как продаются в готовом виде.

Под туалет внутри помещения нужно подобрать отдельную комнату, которая применяется для хозяйственных нужд
Для установки туалета стоит произвести определенные действия:
- выбирается место для расположения туалета;
- монтируется домик с применением брусков, досок, металлических уголков и шифера;

Корпус для дачного туалета может быть разной конфигурации
- монтируется устройство с перерабатывающей системой отходов;
- устанавливается вентиляционная конструкция.

Для вентиляционной системы используются специальные трубы
Полезный совет! При использовании туалета стоит применять антисептические препараты, биодобавки и освежители воздуха натуральные или химические. Для устранения запахов могут применяться уксус, соль и сода.
Любая из описанных конструкций, которая не требует откачки, позволяет создать комфортные условия. При этом не требуется постоянно вычищать яму и бороться с неприятными запахами.

Клозет на даче без запаха можно создать на любом участке
Видео: клозет без запаха и откачки

Экономьте время: отборные статьи каждую неделю по почте
homemyhome.ru
Туалет для дачи без запаха и откачки: самые эффективные способы
ПОДЕЛИТЕСЬ В СОЦСЕТЯХ
Любой владелец дачи хочет, чтобы отдых на участке был максимально комфортным. Для этих целей в отсутствии центральной системы канализации делается туалет. Но постоянно чистить его и откачивать скопившиеся отходы – не особо приятное занятие. Итак, в данной статье мы рассмотрим лучшие способы, как сделать туалет для дачи без запаха и откачки.

Комфортный туалет существенно облегчит ваше пребывание на даче
Содержание статьи
Выгребные ямы: недостатки
В содержании на своем дворе туалета с выгребной ямой есть целый ряд недостатков. Перечислим основные минусы:
- Довольно высокая конечность стоимость использования – яма регулярно наполняется и требует постоянной очистки, что предполагает частые большие расходы.
- С течением времени стенки ямы имеют свойство разрушаться и как следствие скопившиеся отходы проникают прямо в почву и грунтовые воды, тем самым лишая вас возможности полноценно пользоваться колодцем или источником.
- Рядом с туалетом часто бывает неприятный запах, который делает пребывание в постройке невыносимым.
Таким образом, у выгребных ям довольно много недостатков, которые легко можно устранить при рассмотрении других вариантов обустройства дачных туалетов.

В содержании выгребных ям есть множество минусов, главный из которых – загрязнение грунта и вод, которые в нем расположены
Туалет для дачи без запаха и откачки: три возможных решения
Существует три возможных варианта постройки туалета без необходимости откачки. Все они фундаментально различаются между собой по конечной стоимости, целесообразности в связи со временем проживания на участке и дачных условий, поэтому прежде чем сделать выбор, внимательно изучите описание всех решений.

Обратите внимание на критерии выбора клозета
Торфяной биотуалет для дачи
Данный вариант является оптимальным ввиду целого ряда причин. Во-первых, это самое дешевое решение, для которого не надо возводить каких-то сложных конструкций. Во-вторых, перерабатывая отходы человеческой жизнедеятельности, биотуалеты производят прекрасное удобрение для почвы под посадку разнообразных растений. В-третьих, данное решение не занимает много места, а для его правильной и эффективной эксплуатации вам понадобится лишь специальный торф, который вы можете легко приобрести в любом строительном магазине.
Главным плюсом торфяного туалета является то, что его необходимо очищать всего раз в месяц даже при условии активного регулярного использования.
Как уже упоминалось ранее, у всех представленных вариантов есть свои нюансы установки. В случае с торфяным клозетом они следующие:
- Оптимальным местом для обустройства такого туалета будет обычный хозблок. Это решит проблему возникновения неприятного запаха.
- Для того чтобы ликвидировать абсолютно всю жидкость, необходимо обязательно создать систему дренажа, а в случае если туалет будет располагаться в доме – подвести к нему шланг.
Таким образом, установка торфяного биотуалета для дачи позволит решить целый ряд проблем и неприятностей, связанных с обустройством санузла.
Важно! Главное условие отсутствия неприятного запаха в любом из вариантов – тщательно продуманная и оборудованная система вентиляции. Принудительная вентиляция обеспечит приток свежего воздуха, благодаря чему ароматы не будут застаиваться.
Торфяной клозет во многом хорош благодаря своей низкой цене и простоте установкиБетонные или пластиковые септики
Данный вариант представляет собой целую специально оборудованную систему, которая предназначена для сбора и очистки жидкостей и отходов. На каждом из этапов жидкость очищается при помощи разных компонентов, что исключает возможность попадания вредных веществ в почву. Принцип ее работы довольно прост и заключается в постепенном очищении жидкостей по секциям, а затем заключительной фильтрации на поле.

Примерная схема расположения септиков на участке
Усовершенствованные современные конструкции
Подобные туалеты для дачи без запаха и откачки представляют собой улучшенные и усовершенствованные септики, с более высоким уровнем очистки. Наиболее часто применяются такие варианты как:
- Септики ультрафильтрации позволяют очистить жидкость до такой степени, что становится возможным ее повторное использование. Кроме того, большим плюсом данного метода является то, что в нем не используется никаких вредных химических веществ.
- Ионообменные устройства позволяют очистить воду до нужной кондиции и сделать ее гораздо более мягкой, чем до очистки;

Такой вид имеет один из современных вариантов септиков
- Электрохимические конструкции позволяют очистить воду при помощи особых реакций;
- Мембранный осмос является самым современным видом очистки жидкости, и позволяет очистить воду до состояния дистиллированной. Это становится возможным благодаря специальным мембранам, проходя через которых молекулы воды очищаются от всевозможных примесей, опасных для здоровья человека, например ртути или хлора.

Так выглядит усовершенствованная система очистки
Как выбрать септик для дачи: практические рекомендации
К выбору септика следует подойти более чем ответственно. Обязательно ознакомьтесь с правилами подбора, так как они обеспечат вам надежный и долговечный результат.

Без соблюдения некоторых правил устроить качественный клозет не получится
- Первым делом проведите специальную экспертизу или узнайте у соседей по участку, какова глубина залегания грунтовых вод. Именно от этого фактора будет зависеть, можно ли будет располагать поля фильтрации или будет необходимо покупать закрытый глубинный фильтр.
- Рассчитайте примерное суточное количество отходов, которое попадает в бак. Исходя из этих расчетов подберите такой объем, который позволит вам не очищать емкость каждую неделю.
- В обязательном порядке учитывайте сезон своего проживания на даче, так как многие конструкции не переносят морозов.
Полезный совет! Если вы не живете на даче зимой, то выбирайте морозостойкие варианты, иначе бактерии внутри емкости погибнут и не смогут больше обслуживать туалет.

Для того чтобы избежать промерзания септика зимой его можно утеплить специальным материалом
Таким образом, выбор септика для дачи – ответственный момент, от которого будет зависеть вся дальнейшая эксплуатация клозета.

Правильно подобранный септик избавит вас от проблем в дальнейшем
Статья по теме:
Самые лучшие биотуалеты для дома. Цены и отзывы. Обзор популярных моделей, характеристик, цен и отзывов читайте в специальной публикации нашего портала.
Дачный туалет без выгребной ямы своими руками
Наиболее популярным вариантом среди самостоятельного изготовления туалетов для дачи, фото которых представлены выше, является сооружение из бетонных колец.
- Первым делом закупаются строительные материалы – 9 колец и 3 люка к ним.

Люк – обязательное условие герметичности конструкции
- Вырываются три ямы в ряд, с диаметром в 2,8 метра и глубиной 3 метра.
- Для первых двух ям необходимо сделать бетонную подушку.

Так выглядит установленное кольцо без бетонной подушки
- В каждую из ям при помощи специальной техники устанавливается по три бетонных кольца. Щели между ними заполняют специальной гидрофобной смесью, а оставшуюся полость между землей и кольцом.

Монтаж перфорированных колец
Туалет для дачи: фото и рекомендации по установке канализационной системы
Схема размещения труб имеет следующую последовательность:
- Труба, которая опускается в первый резервуар, должна идти под наклоном.
- Вторая труба должна быть ниже на 20 сантиметров.
- Третья, которая будет соединять два последних резервуара, опускается на еще столько же.

Установка труб в конструкции из бетонных колец согласно инструкции
Делаем выводы
Туалет для дачи без запаха и откачки – это отличный вариант для современной дачи, который обеспечит вам комфортный и приятный отдых. Для дополнительной уверенности в своих силах посмотрите представленное ниже видео.

При соблюдении всех рекомендаций и инструкций вы получите максимально качественный результат
Организация санузла без откачки (видео)
ПОДЕЛИТЕСЬ В СОЦСЕТЯХ
Загрузка…aquatic-home.ru
без выгребной ямы, виды, как сделать самому
Если частый вызов ассенизаторской машины неудобен для владельцев участка, можно устроить дачный туалет без выгребной ямы. Такие конструкции снабжаются утилизаторами, полностью или частично перерабатывающими отходы, поэтому использование спецтехники требуется значительно реже или потребность в ней исчезает вовсе. Туалет для дачи без запаха и откачки может быть как проще так и сложнее в устройстве, однако его удобство в полной мере компенсирует средства, время и силы, потраченные на сооружение.
Виды туалетов без ямы
Можно построить дачный туалет без выгребной ямы своими руками или приобрести готовую заводскую конструкцию. В первом случае вы сэкономите средства, во втором – время и силы, поэтому всегда есть варианты для выбора, следует только учитывать особенности каждого вида, нюансы монтажа и эксплуатации.
1. Биотуалеты становятся все более популярными среди дачников, посещающих свои участки не слишком часто и не проживающих за городом длительное время. Такие модели могут быть только покупными, однако они выгодно отличаются компактностью, небольшим весом и минимальными требованиями к обслуживанию.
Сухой или жидкий наполнитель резервуаров содержит бактерии, способствующие разложению отходов. Также большой популярностью пользуются модели с торфяной засыпкой. Благодаря этому исключается вероятность гниения, образование резкого неприятного запаха. Биотуалеты могут быть установлены на любом участке вне зависимости от его рельефа, типа почвы и уровня залегания грунтовых вод, а отходы относятся в компостную яму для дальнейшей переработки, после которой они становятся натуральным удобрением.
Торфяной биотуалет — удобный вариант без обустройства ямы и регулярной ее откачкиКроме того, существуют также модели электрических биотуалетов, в которых отходы могут высушиваться до состояния золы.
Биотуалеты могут располагаться как непосредственно в доме, так и в уличных строениях.
Важно: Отходы из биотуалетов, в качестве наполнителя которых выступают химические вещества, утилизировать в компост и использовать в качестве удобрения нельзя.
2. Септик — это целое семейство конструкций очистных сооружений для утилизации отходов не только от туалета, а от всех сантехнических и бытовых приборов в целом, включая стиральную и посудомоечную машины. Отличаются по производительности и степени очистки стоков. Септики (системы автономной канализации) могут быть покупными или построенными своими руками, но для их установки в любом случае потребуется выполнение земельных работ – резервуары всегда находятся под землей, а от дома также под землей к ним прокладывается труба.
Установка септика является универсальным решением для обустройства как туалета, так и всей канализации на участке в целомВыбор конструкции зависит от ряда условий. Например, модели с почвенной доочисткой не рекомендуются для участков с глинистыми малопроницаемыми почвами или в тех местах, где грунтовые воды находятся близко к поверхности. Септики в основном могут быть одно-, двух- или трехкамерными. Количество камер во многом определяет качество очистки воды, а общий объем резервуаров выбирается по среднесуточному объему стоков.
Обычно к септикам подключают туалеты, которые размещаются в доме.
3. Пудр-клозет – это удобный и экономичный туалет на даче без выгребной ямы. После каждого посещения отходы присыпаются составом, способствующим их преобразованию в компост. В некоторых случаях для этих целей используется зола или опилки, но эффективнее всего торф или торфо-опилочная смесь. По мере наполнения резервуар его содержимое выгружается в компостную яму для дозревания. Таким образом можно получить безопасное органическое удобрение и решить проблему утилизации.
Пудр-клозеты заводского изготовления (торфяные биотуалеты) могут иметь специальные распределители засыпки, устройства для разделения отходов на твердую и жидкую фракции. Самодельные модели просты в изготовлении и снабжаются емкостью для торфа и совком. Резервуары пудр-клозетов герметичны и устанавливаются на поверхности, поэтому такие конструкции могут устанавливаться на любых участках.
Устройство самодельного пудр-клозетаВыбор места
Санитарные нормы, предъявляемые к утилизаторам отходов жизнедеятельности человека, важны, в первую очередь, для септиков с почвенной доочисткой и для туалетов с выгребными ямами. Тем не менее, правильным будет соблюсти их и для герметичных накопителей, это позволит гарантированно избежать неприятностей, даже при аварийных ситуациях.
- До источника водоснабжения (скважины или колодца) от вашего туалета расстояние должно быть, как минимум, 25 метров.
- Учитывая розу ветров, вы сможете установить конструкцию таким образом, чтобы неприятные запахи относились в сторону от вашего дома и от дома соседей.
- От забора туалет должен располагаться на расстоянии от 1 метра.
Строительство туалета
Дачные туалеты без выгребной ямы – это не только утилизаторы, но и строения, в которых будет помещаться полностью конструкция (биотуалет, пудр-клозет) или часть ее (унитаз, стульчак), соединенная с расположенным под землей резервуарами в случае использования септика для обустройства общей канализации на участке.
Материалы
Надземная часть дачного туалета – это, чаще всего, каркасная конструкция с внутренней и наружной обшивкой. Для ее постройки потребуются:
- для каркаса – брус или обрезная доска,
- для обшивки – вагонка, доски, сайдинг , профнастил и пр.,
- для устройства стульчака – доски или фанера,
- для крыши – рубероид, шифер, оцинкованный металл, профнастил, черепица (металлическая или керамическая).
Дверь можно собрать самостоятельно или приобрести готовый блок.
Для сборки потребуются метизы (саморезы, гвозди, болты) и инструменты.
Устанавливать конструкцию следует на фундамент, для которого потребуется бетонный раствор или кирпичи.
Строительство фундамента
Наличие фундамента повысит надежность вашей постройки и позволит избежать неприятностей. Домик для туалета или, как его называют еще, «скворечник» или «шалаш» — это достаточно легкая конструкция, поэтому для нее оптимальным вариантом станет как ленточный, так столбчатый фундамент.
- Для строительства ленточного фундамента по периметру места установки вырывается траншея, на дно которой укладывается песчаная подушка высотой не менее 15 см. Слой песка при этом следует уплотнить вибротрамбовкой или вручную. После этого собирается опалубка из любого доступного материала (досок, фанеры, листов оцинкованного металла и пр.). Для придания прочности конструкции необходим армирующий каркас, который собирается из металлических прутов с сечением около 12 мм и проволоки. Опалубка с размещенным внутри нее каркасом заливается бетонным раствором.
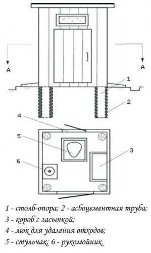
- Столбчатый фундамент подразумевает устройство опор на углах домика. Такие столбы могут быть выполнены из армированного бетона по аналогии с устройством ленточного фундамента или из кирпичной кладки. Также возможно использование асбестоцементных труб, которые для прочности частично заливают бетоном.
Схема дачного туалета с засыпной емкостью (пудр-клозета)Строительство домика
С точки зрения конструкции самого домика, туалет для дачи без запаха и откачки, не имеющий выгребной ямы, строится так же, как и туалет с ямой.
После сооружения фундамента, его накрывают листами рубероида. Такая прослойка обеспечивает гидроизоляцию и увеличивает срок службы конструкции.
Перед сборкой каркаса его элементы рекомендуется прогрунтовать и покрасить для защиты от влаги. Можно также использовать специальные пропитки.
В дальнейшем действуют по следующей схеме:
- Собирают раму из бруса или досок и устанавливают ее на фундамент поверх рубероида.
- На углах рамы по уровню монтируют вертикальные стойки для опоры и стойки для навешивания двери. Для этих целей можно использовать болты или саморезы. Угловые стойки при этом устанавливаются так, чтобы передняя пара была несколько выше задней. Это необходимо для наклона крыши, который предотвратит скапливание на поверхности влаги от осадков.
- Устанавливается балочная конструкция для монтажа крыши с небольшим выступом по всему периметру.
- Во внутренней части будущего домика настилается пол и сооружается еще один каркас с обшивкой – тумба, ступень или подиум для установки сидения. В верхней части для этого выполняется отверстие (это актуально, если не планируется использовать готовый биотуалет).
Строительство туалетного домика - На перекладины для будущей крыши настилается рубероид, поверх которого укладывается шифер, черепица или другое покрытие.
- Выполняется внутренняя и наружная обшивка конструкции. Для того, чтобы она лучше держалась, каркас дополняют поперечными перекладинами.
- Если обшивка выполняется из материалов, неустойчивых к воздействию влажности (досок, фанеры), то выполняется грунтовка и окраска поверхностей.
- Устанавливается дверной блок или навешивается собранная самостоятельно дверь.
- Выполняется освещение. Оптимальным вариантом будет подводка электропитания и установка светильника, но в некоторых случаях можно использовать фонарь или лампу с аккумуляторами.
В двери или над ней рекомендуется прорезать отверстие для естественного освещения в дневное время, после чего туалет для дачи без ямы практически готов к использованию. Остается только позаботиться о внутреннем оснащении – установить сидение и крышку, полку для принадлежностей, емкость для отходов, бак для торфа и совок (в случае выбора пудр-клозета).
В отдельной статье на нашем сайте есть описание заводских биотуалетов, а также там можно почитать про торфяные туалеты для дачи отзывы, оставленные их владельцами.
Часто на участке бывает необходим дачный умывальник с подогревом воды. О его видах и популярных моделях читайте в другой статье.
А про душевые бочки и баки, и их особенности, мы рассказали тут.
Вентиляция
Вентиляция нужна не только для выгребных ям, но и для туалетов, работающих без подобного накопителя. Наличие вентиляционной трубы обеспечит удаление неприятного запаха и приток воздуха, необходимого для жизнедеятельности перерабатывающих отходы бактерий.
Самым простым решением станет монтаж пластиковой (прочной, но легкой) трубы диаметром 100 мм с закреплением ее на внешней задней стенке постройки. Труба обычно устанавливается так, чтобы ее верхняя часть была примерно на 20-50 см выше уровня крыши, а для обеспечения тяги устанавливают дефлектор.
okanalizacii.ru
Как сделать туалет на даче без запаха: доступные варианты
Туалет на даче вещь столь же необходимая как источник водоснабжения, но в отличие от воды он может разносить по дачному участку неприятные запахи. Проблема осложняется тем, что в городских квартирах есть канализация, отправляющая стоки на очистные сооружения, здесь же отходы остаются на месте.
Решить эту проблему можно несколькими способами, о которых будет рассказано в данной статье.
Устройство дачного туалета без запаха
Самые простые и дешёвые способы устранения запаха от туалета, использование опилок и торфа. Засыпая ими фекалии, мы способствуем образованию компоста, а затем используем его как удобрение на участке.
Вокруг клозета можно высадить сильно пахнущие растения. Но полностью избавиться от запаха таким способом не удастся.

Насаждения вокруг туалета
Другой способ, нужно сделать туалет полностью герметичным по типу люфт-клозета. В этом случае туалет может располагаться в доме, а канализационная труба выходить в выгребную яму, построенную из кирпича и обработанную гидроизоляционными материалами, исключающее попадание отходов жизнедеятельности в землю.

Люфт-клозет
Сейчас многие делают выгребные ямы из стеклопластика или бетонных колец большого диаметра.
Выгребная яма должна быть ниже уровня земли, иметь вентиляционную трубу, которая может быть располагаться как отдельно, так и соединена с дымоходом в доме. Люк, расположенный на улице, должен закрываться плотно и обеспечивать герметичность, чтобы избежать неприятных запахов. Расстояние от дома до выгребной ямы должно быть не меньше 4 метров, канализационные стоки должны поступать туда самотеком, для чего трубу устанавливают с наклоном 4 градуса.
В доме можно использовать стандартный фаянсовый унитаз с бачком, который может наполняться вручную или быть подключенным к системе водоснабжения.
Очищение ямы проводится один раз в год или по мере наполнения с помощью ассенизаторской машины.
Биотуалеты или пудр-клозеты
Сейчас активно используются биотуалеты или пудр-клозеты. Они различаются по способу обработки биоотходов.
Биотуалет, изготовленный своими руками, устанавливается на дачном участке и имеет две емкости: бак для отходов и емкость для опилок или торфа. При использовании пудр-клозета, вы пересыпаете отходы опилками или торфом. По мере заполнения этой ёмкости ставите новый бак, а предыдущий освободите при образовании в нем компоста. Бак должен плотно закрываться крышкой, чтобы избежать неприятного запаха.

Пудр-клозет: торф или опилки для засыпки
Современный биотуалет может использовать биологические или химические очистители. В первом случае используются биобактерии для переработки отходов их разложения и удаления неприятного запаха. Бактерии уничтожают жировую пленку, грязь, пищу, бумагу и фекалии. Любая органика является питательной средой для них.
Биобактерии работают только при положительных дневных и ночных температурах от +4 до +32 градусов. Они препятствуют наросту жировых отложений в дренажных трубах и канализационных системах, абсолютно безопасны для природы и человека. Образовавшуюся биомассу можно использовать как удобрение, а воду для полива огорода.
Искусственно выращенные бактерии состоят из энзимов, дрожжей и гнилостных бактерий. Они обладают высокими очистными свойствами и разлагают биомассу в несколько раз быстрее, чем природные бактерии.
В этой статье подробнее о биопрепаратах для выгребных ям.
Химические антисептики не имеют ограничение по температуре и работают с агрессивной средой, то есть стоками, поступающими от стиральных машин. Биобактерии в такой среде погибают.
Отходы, обработанные химическими антисептиками из выгребных ям нужно удалять ассенизаторской машиной, так как при попадании в грунт они вызовут экологические проблемы.
Выгребная яма при использовании химических антисептиков должна быть и изготовлена из бетона или полимерных материалов.
Антисептики, которые в основе своей имеют нитратные окислители, прекрасно разлагают органику, а очистители с соединением аммония ускоряют процесс разложения и гасят запахи.
Популярные септики с биобактериями «Доктор Робик», «Эколайн», «BIOFORCE Septic» — туалет без запаха и химический антисептик «Део Турал».

Они прекрасно удаляют запахи и разлагают органику, снижают необходимость автоассенизации, очищают канализационную систему от заиливания и жировых отложений.
Видео: средства для выгребных ям и туалетов.
Деревенский туалет без запаха
При строительстве туалета в деревенском доме нужно обязательно руководствоваться соблюдением санитарных норм и правил (СНиП 30-02-97), за неисполнение которых может налагаться штраф. В них написано, что туалет может быть построен не ближе одного метра от границы соседнего участка и находится на удалении 8 метров от источника воды (колодец, артезианская скважина, пруд).
Этими же правилами предусмотрено, что выливать мыльную воду после стирки на землю нельзя, она должна быть вылита в специальную фильтровальную траншею со слоем песка и гравия.
Современный деревенский дом строится с комфортом приближенным к городскому уюту. Поэтому требуется строительство автономной канализационной системы. Самый дешёвый способ канализационной системы в деревенском доме – это устройство выгребной ямы.

Выгребная яма
Расчет ее размеров должен исходить из того, что каждый человек при постоянном проживании расходует 200 литров воды в сутки, которые после использования окажутся в выгребной яме. Семье из четырех человек будут заполнять объем 2,4 кубических метра в месяц.
Внутри дома монтируется система водопровода и канализации, стоки из неё должны попадать в выгребную яму. Глубина траншеи от дома к яме должна быть ниже промерзания грунта в вашей местности, чтобы исключить замерзание канализационной трубы в зимние месяцы.
Локальная канализация может собирать отходы в два разных резервуара.

Раздельная система для сброса фекальных и бытовых стоков
Отдельно собираются стоки из туалета, из них можно сделать с помощью биобактерий компост для удобрения земельного участка. В другой резервуар собирается вода, после стиральной машины. Их нейтрализуют с помощью химических антисептиков и по мере заполнения удаляют с помощью ассенизаторской машины.
Как построить уличный туалет без запаха
Есть еще простой способ сооружения уличного туалета без запаха, не требующих особых затрат. Выкапываете сливную яму, укрепляете деревянными брусьями стены, чтобы они не осыпались. Размер её:
- ширина один метр, длина и глубина полтора метра.
- Вниз ямы насыпьте слой мелкого гравия толщиной 6-8 сантиметров.
Сверху сооружаете туалетный домик со стулом, который должен плотно закрываться. Из сливной ямы выводите вентиляционную трубу из ПВХ диаметром 10-15 см. При высоте туалета 2,3 метра, вентиляционная труба должна быть выше крыши на 40-60 сантиметров. Место входа трубы в яму изолируйте паклей или герметикам, а сама труба прикрепляется хомутами к задней стенке туалета.

Когда яма заполнится отходами на 2/3 от объема, ее засыпают землей, а туалет переносят на другое место. Такого туалета хватит на 3-4 года.
Отходы от предыдущего туалета превратятся в компост через 5 лет и их можно использовать как удобрение. Процесс можно ускорить, используя биобактерии.
Видео: как построить туалет на даче своими руками.
Обустройство дачного туалета без запаха дело ответственное, но при достижении положительного эффекта ваша жизнь на даче или в деревенском доме будет ничем не омрачена и принесет вам немало радостных мгновений.
dachadoma.ru
Туалет для дачи без запаха и откачки: варианты септика, технология строительства
Многие люди имеют дачный участок. И конечно, им хочется иметь максимум комфорта. А это значит, что они озадачиваются вопросом устройства туалета. Если для вас большой проблемой является вызов АС-машины, то необязательно строить это санитарное сооружение с выгребной ямой. Вы можете построить дачный туалет, который её не имеет.
Особенность конструкции такого туалета заключается в том, что он снабжен утилизатором. В специальном резервуаре происходит полная или частичная переработка всех отходов. Это позволяет гораздо реже обращаться за услугами ассенизаторских машин. В некоторых случаях потребность в их вызове полностью отсутствует.
Дачный туалет без выгребной ямы, от которого не исходит запаха, может быть самым разным по своей конструкции. Некоторые туалеты, в первую очередь деревенские, отличаются простотой своей конструкции. Другие — более сложные. Какой устроить — каждый решает сам. Здесь все во многом зависит от наличия свободного времени и физических сил.
Виды туалетов без ямы
Если вы испытываете большие неудобства без туалета на даче, то вы можете легко решить эту проблему путем приобретения заводской конструкции. Если вы не хотите тратить денежные средства, то можете построить его своими руками.
Занимаясь решением этой проблемы самостоятельно, вы можете сэкономить свои денежные средства. Если вы приобретаете заводскую конструкцию, то вам придется выделить время на эту работу, а также потратить определенные физические силы. Какой вариант является более предпочтительным, каждый для себя решает сам. Если вы решили заняться самостоятельным строительством дачного туалета, то необходимо заранее узнать о нюансах возведения этого сооружения, а также познакомиться с особенностями его эксплуатации.
Биотуалеты
За последние годы популярность биотуалетов существенно возросла. Многие дачники делают выбор в пользу этих конструкций. В основном их выбирают те владельцы, которые не слишком часто посещают свое загородное поместье. Модели биотуалетов для дачи могу быть только покупными. Такое оборудование отличается:
- компактными размерами;
- небольшим весом;
- минимальными требованиями, которые предъявляет к этим санитарным конструкциям владелец.
В составе конструкции биотуалетов присутствует резервуар, который содержит сухой или жидкий наполнитель. В нем присутствуют бактерии, благодаря которым происходит разложение поступающих в резервуар отходов. Довольно популярными являются модели, которые имеют в резервуаре засыпку. Использование такого туалета позволяет исключить:
- возникновение процессов гниения;
- появление в процессе эксплуатации биотуалета неприятного запаха.
Одним из достоинств биотуалетов является то, что их установка может быть произведена в любом месте на вашем участке вне зависимости от рельефа. Уровень залегания грунтовых вод тоже не имеет большого значения. Отходы, образующиеся в процессе эксплуатации биотуалета, можно легко переместить в компостную яму для дальнейшей переработки. Потом они становятся органическим удобрением.
В последнее время на рынке стали доступны электрические биотуалеты, которые осуществляют не только переработку, но и сушку отходов, которые доводятся до состояния золы.
Размещение биотуалетов на даче может быть разным. Их можно установить в доме или в одном из уличных строений.
Септик
Септик — это слово объединяет в себе целый набор различных конструкций очистных сооружений. Главное их назначение — утилизация отходов. Они перерабатывают отходы не только от туалета, но и сточные воды из дома. Одна из отличительных особенностей таких систем — при высокой производительности септик обеспечивает отличную очистку стоков.
Магазины предлагают различные системы септиков. При желании эту систему очистки можно построить своими руками. Однако придется потратить немало сил на выполнение земляных работ. Связано это с тем, что при устройстве септика резервуары располагаются под землей. От дома непосредственно к ним необходимо прокладывать трубу.
Какой септик выбрать для своего участка, во многом зависит от целого ряда условий. Например, для участков, на которых преобладает грунт с малой проницаемостью, не рекомендуется использовать септики с почвенной доочисткой. Также не стоит устанавливать такие системы на тех участках, где близко к поверхности земли залегают грунтовые воды. Современные модели септиков могут быть одно-, двух- или трехкамерными. От количества камер зависит качество очистки воды. При выборе общего объема резервуаров необходимо отталкиваться от среднесуточного объёма стоков. Обычно при устройстве на участке септика к нему подключают туалет.
Пудр-клозет
Пудр-клозет — под ним принято понимать экономичный туалет, отличающийся удобством использования, который лишен выгребной ямы. Когда человек справляет естественные потребности, то происходит присыпание отходов составом, благодаря которому они преобразуются в компост. В отдельных случаях для этого используется зола или опилки. Однако наиболее эффективно использовать для переработки торф и торфо-опилочную смесь. Содержимое резервуара по мере его накопления погружается в компостную яму, где происходит созревание. В результате при использовании таких туалетов можно получить из отходов органическое удобрение, тем самым, решив проблему с их утилизацией.
На рынке сегодня доступны пудр-клозеты заводского изготовления. Их отличает наличие специальных распределителей засыпки, а также устройства, которое обеспечивает разделение отходов на твердую и жидкую фракции. Некоторые владельцы дачных участков сооружают такие туалеты самостоятельно. Они снабжают конструкцию емкостью для торфа, а также совком. Устанавливаемый в пудр-клозетах резервуар отличается высокой герметичностью. Она размещается на поверхности. Поэтому установить такой туалет можно в любом месте на вашем участке.
Выбор места
Нормы, которые предъявляются к объектам, предназначенным для утилизации отходов, наиболее важны для септиков с почвенной доочисткой, а также туалетов, снабженных выгребной ямой. Но и для туалетов, которые лишены выгребной ямы, они также должны соблюдаться. Это позволит избежать неприятных моментов при возникновении аварии.
-
при выборе места для размещения туалета необходимо принимать во внимание, что от источника водоснабжения он должен находиться на удалении не менее 25 м; - при выборе места необходимо принимать во внимание розу ветров. Это поможет избежать появления неприятного запаха рядом своим и домом соседей;
- от забора санитарный объект должен размещаться на расстоянии не менее 1 м.
Строительство туалета
Предусмотренные для дачи туалеты, лишенные выгребной ямы, представляют собой не только сооружения, предназначенные для утилизации отходов, но и объекты, внутри которых будет размещаться конструкция, частично или полностью соединенная с резервуаром.
Материалы
В большинстве случаев наземная конструкция туалета возводится по каркасной технологии. Сооружение имеет внутреннюю и наружную обшивку. Для того чтобы построить ее, потребуются следующие материалы:
- на каркасы необходимо использовать брус или обрезную доску;
- в качестве материала обшивки стен применяют вагонку или профнастил;
- для устройства стульчика используются доски или выбор делается в пользу фанеры;
- для покрытия крыши используют оцинкованный металл или профнастил.
Дверь можно изготовить своими руками или приобрести в магазине уже готовое изделие.
Чтобы собрать конструкцию, не обойтись без крепежа – саморезов, гвоздей, болтов. Также в вашем распоряжении должен быть необходимый инструмент.
Чтобы конструкция прослужила долгие годы. необходимо позаботиться об устройстве фундамента, для создания которого потребуется приготовление бетонного раствора или же его можно сделать кирпичным.
Строительство фундамента
Если вы будете строить наземную часть туалета для дачи на фундаменте, то сможете обеспечить надежность конструкции. и она прослужит вам долгие годы. Достаточно легким является типичное сооружение туалета на даче типа скворечник или шалаш. Поэтому в качестве фундамента можно выбрать ленточный или столбчатый фундамент.
Если владелец решил в качестве основания для наземной части туалета построить ленточный фундамент, то первым действием необходимо по периметру будущей установки вырыть траншею.
Затем необходимо уложить подушку из песка с толщиной слоя не менее 15 см с последующим трамбованием.
Далее можно переходить к устройству опалубки, для создания которой используется любой доступный материал — фанера или доски.
Для того чтобы основание получилось надежным, необходимо позаботиться об устройстве армирующего каркаса. Для его сборки необходимо использовать арматуру или металлический прут. Следует выбирать материал с сечением не менее 12 мм.
После этого траншея с установленной опалубкой и уложенным армированным каркасом заливается приготовленным бетонным раствором.
Более простой задачей является устройство столбчатого фундамента. Он представляет собой опоры, устраиваемые на углах домика. Они могут быть выполнены из армированного бетона. Также для устройства такого фундамента можно использовать асбестоцементные трубы, которые частично заливаются бетонным раствором.
Строительство домика
Конструкция туалета без выгребной ямы возводится точно так же, как и конструкция, которая имеет такую яму. На устроенный фундамент необходимо уложить листы рубероида. Такая прослойка будет выступать в качестве гидроизоляционного слоя и обеспечит более продолжительный срок службы основания.
Перед тем как собирать каркас домика, необходимо все его составные элементы прогрунтовать и покрасить. Это позволит обеспечить надежную защиту от влаги, и домик прослужит дольше.
Далее необходимо действовать по следующей схеме.
Сначала необходимо собрать раму из бруса и досок. Она устанавливается на фундамент поверх рубероида.
После этого нужно выполнить монтаж вертикальных стоек для опоры, стоек для навешивания двери. Для их закрепления можно использовать саморезы или болты. Отметим, что стойки должны быть установлены таким образом, чтобы передняя пара была выше, чем задняя. Это необходимо для обеспечения уклона крыши, благодаря которому при эксплуатации домика будет исключено скапливание влаги на поверхности крыши.
После этого можно устанавливать балочные конструкции для последующего монтажа крыши с небольшим выступом по периметру.
Следующим этапом идет настилка полов во внутренней части домика. Кроме того, сооружается еще один каркас с обшивкой – тумба или подиум для установки сидения. В верхней части необходимо сделать отверстие.
Потом на необходимо на перекладине крыше уложить рубероид или другое кровельное покрытие.
Далее можно переходить к выполнению обшивки конструкции как снаружи, так и изнутри. Чтобы она лучше держалась, её необходимо укрепить поперечными перекладинами.
Если для изготовления обшивки используются материалы, нестойкие к воздействию влаги, то необходимо произвести их окрашивание и грунтование.
Далее можно установить дверной блок.
После этого переходят к монтажу освещения. Оптимальный вариант — подводка электропитания с последующей установкой светильника. В отдельных случаях можно обойтись фонарем или установить лампу, работающую на аккумуляторах.
Над дверью необходимо сделать отверстие для обеспечения в домике естественного освещения. После этого можно считать работу по созданию туалета завершенной. Осталось только обустроить внутреннее помещение – установить сидение и крышку. Для принадлежностей следует устроить полку. Также необходимо разместить в туалете бак для торфа и совок.
Вентиляция
Необходимость в вентиляции возникает даже в туалетах, которые не имеют выгребной ямы. Когда будет устроена вентиляционная труба, то будет обеспечено эффективное удаление неприятного запаха. Кроме этого, будет присутствовать постоянный приток воздуха, который необходим для жизнедеятельности бактерий, осуществляющих переработку отходов.
Самый простой вариант создания вентиляции в туалете — монтаж пластиковой трубы. Следует выбирать трубу диаметром не менее 100 мм. Она закрепляется на внешней задней стенке конструкции. Установка трубы производится таким образом, чтобы верхняя часть была выше уровня крыши на 20-50 см. Дефлектор устанавливается для обеспечения тяги.
Заключение
Чтобы пребывание на даче было комфортным, не обойтись без туалета. Его можно приобрести и устроить своими силами. Его конструкция довольно простая, поэтому больших затруднений владелец не испытает. Чтобы не допустить ошибок, можно перед началом этой работы ознакомиться, как правильно построить туалет на даче. Следуя советам специалистам, вы по завершении работ получите санитарное сооружение, благодаря которому во время пребывания на даче не будет испытывать никаких неудобств.
Оцените статью: Поделитесь с друзьями!nashgazon.com

Строительство туалетного домика
при выборе места для размещения туалета необходимо принимать во внимание, что от источника водоснабжения он должен находиться на удалении не менее 25 м;