Какие бывают стандартные размеры у пластиковых окон
Раньше рамы со стеклопакетом стояли дорого, но теперь они стали доступны для многих. В современных домах обязательно ставят рамы со стеклопакетами. Они имеют привлекательный внешний вид и служат очень долго.
Чтобы установить раму со стеклопакетом, необходимо замерить проём. Столкнувшись с таким вопросом, многие хотят знать, какие пластиковые окна существуют, и какие стандартные размеры пластиковых окон?
Как же не ошибиться в выборе при покупке конструкции?
Части конструкции из пластика
Прежде чем покупать пластиковую конструкцию, нужно знать её состав. Независимо от планировки дома, в комплект к раме со стеклопакетом идут следующие компоненты: отлив, подоконник, откосы и сэндвич-панелями.
Отлив из пластика служат для отвода дождевой воды. Неотъемлемая часть проёма. Устанавливается снаружи, при этом его край должен заходить под низ пластиковой конструкции.
Рама со стеклопакетом являются главными элементами проёма. У них бывают разные габариты. Пластиковые конструкции бывают глухими и отрывающимися. Во много тип постройки влияет на габариты проёма.
Подоконник, в отличие от отливов, устанавливают внутри проёма. Используется для красоты. На ширину подоконника во много влияет толщина стен в доме.
Откосы – это верхние и боковые части проёма. При монтаже рам со стеклопакетом сэндвич-панелями закрывают откосы. Эти панели прекрасно обладают хорошей теплоизоляцией и защищают от шума. Они имеют привлекательный внешний вид.
Как подобрать нужные пластиковые окна?
Максимальные размеры пластиковых окон зависят от профиля и армирования. Размеры — это не главное. При покупке окна стоит пристальное внимание уделить его техническим характеристикам. Давайте рассмотрим их. Варианты профиля – неотъемлемая часть рам со стеклопакетом. На рынке строительных материалов представлен огромный выбор вариантов профиля. Качественные окна имеют гарантию сорок лет. Такие профили не сломаются и не утратят привлекательный внешний вид.
Оптимальной толщиной окна считается 7–8 см. Этого вполне достаточно, чтобы тепло не уходило через окно. Толщина пластиковых окон влияет на комфорт в помещении. Чем толще конструкция, тем меньше тепла будет уходить из помещения. Профиль делится на классы. Всего их три. Первый профиль класса A имеет внешние и внутренние стенки толщиной 2,5 см. Второй класс B имеет толщину стенок 2 см. Для жилых помещений подходит класс A и B, но не С. Объектный профиль используют некоторые производители. Окна из объектного профиля нельзя устанавливать в жилых помещениях из-за его плохого качества материала.
Армирование – неотъемлемая часть конструкции из пластика. Он отвечает за жёсткость и прочность пластикового окна. Не во всех типах рам со стеклопакетом производители его устанавливают. Стеклопакет является отдельным элементом окна. Стеклопакет может быть один или их может быть несколько в одной конструкции. Стеклопакеты имеют форму стеклянных блоков. Стеклопакеты между собой герметично соединяются. Чем больше количество стеклопакетов, тем прочнее вся конструкция. Стеклопакеты могут быть с разными свойствами. На стеклопакет наноситься особая плёнка.
Виды рам со стеклопакетом
Для каждого вида рам со стеклопакетами существует стандартные размеры. Максимальные размеры пластиковых окон, завися от их технических особенностей. Существуют следующие виды рам со стеклопакетом:
- Глухие.
- Одностворчатые поворотно-откидные.
- Двустворчатые (открываются две створки в одной конструкции).
- Трёхстворчатые (открываются три створки в одной конструкции).
- Балконные (устанавливают на балконах).
Створка является закреплённой подвижной частью конструкции. Чем больше в конструкции используется створок, тем дороже она становится. Среди всех видов рам со стеклопакетом самыми востребованными являются двустворчатые и трёхстворчатые пластиковые конструкции. Для двустворчатой пластиковой конструкции стандарт будет 130х140 см. В старых домах проём может быть больше, чем стандартный размер двустворчатого окна. Оптимальным решением будет выбор раму со стеклопакетом, размеры которого будут почти полностью совпадать с габаритами проёма.
Сначала необходимо замерить расстояние между стенками проёма, чтобы подобрать пластиковую конструкцию нужного габарита. После этого необходимо вычислить нужную ширину. Для этого из общей ширины проёма надо отнять немного на зазоры, так как монтажной пеной будут обрабатываться швы. Ширина зазора с каждой стороны проёма будет составлять 2 см.
Как только будут вычислена нужная ширина, можно замерит высоту проёма. Из общей высоты проёма необходимо вычесть четыре сантиметра из-за зазоров и столько же на подоконник. Таким образом, из общей высоты необходимо вычесть 8 см. Не стоит забывать, что размер подоконника не всегда стандартные. Обязательно необходимо замерить внешнюю сторону и внутреннюю сторону проёма, чтобы при установке конструкции из пластика не возникло проблем.
Параметры рам со стеклопакетом, определяющие его стоимость
Заказывая установку нового конструкции из пластика у фирмы, вы должны понимать, что на стоимость работы влияют технические характеристики самого устанавливаемого окна. К параметрам, влияющим на цену за оказанные услуги можно отнести размеры конструкции, технические характеристики конструкции (глухая, распашная створка), число камер в конструкции, длина и ширина отлива, размеры подоконника, наличие дополнительных элементов (москитная сетка).
Эти параметры влияют на сложность проводимых работ и на цену за оказанные услуги. К тому же, цена окна будет зависеть от фирмы, проводящей установку.
Стандартные размеры для разных типов рам со стеклопакетом
Хотя существуют стандарты конструкции из пластика, они могут быть любого размера. Стандартные размеры рам со стеклопакетом зависят только от типа пластиковых окон. На максимальные размеры пластиковых окон влияет и заказчик. Производители конструкции из пластика ориентируются на требования заказчика. Рассмотрим стандартные размеры для конструкции из пластика:- Одностворчатые 1,15х 1,9 или 0.85х 1,15 м.
- Двустворчатые 1,15 х 1,9, 1,3х 2,2 или 1.5 х 1,9 м.
- Трёхстворчатые 2,4 х 2,1 м.
Размеры стандартного окна в панельном доме типа «хрущёвка»:
- Двустворчатые 1,208 х 1,34 м.
- Трёхстворчатые 2,04 х 1,5 м.
Некоторые кирпичные и панельные дома имеют нестандартный проём. У них максимальный размер окна обычно 1,45 м в высоту и 1,5 м в ширину. Максимальный размер рам со стеклопакетом может быть любым для новых или кирпичных домов.
remontoni.guru
Максимальные размеры пластиковых окнон по ГОСТ
Любая пластиковая конструкция имеет свои предельные размеры — ответственный производитель обязательно учитывает этот параметр. Так, максимальные размеры окон REHAU зависят от вида профиля и способа его армирования, они не могут превышать строго определенных значений. Их превышение чревато обрушением конструкции, которая может не выдержать большой ветровой нагрузки в сочетании с резкими перепадами окружающей температуры.

Параметры ширины и высоты
Рассчитываются максимальные размеры по ГОСТ с учетом вида и толщины профильной системы, способа ее армирования и установленного стеклопакета. Максимальные размеры пластикового окна по ГОСТ для глухой конструкции без створок:
- Высота — 2755 мм, при этом ширина не должна превышать 1770 мм.
- Ширина — 2670 мм, но допустима только при высоте 1160–2060 мм.
Модные на сегодняшний день конструкции «от пола до потолка» на 2–3 этажа в частном коттедже или в двухэтажной квартире-студии можно изготовить из нескольких стеклопакетов. При определении габаритов имеет значение вид стекол.
- Закаленное стекло (толщина 10–15 мм). Максимальный размер пластикового окна 5900 х 3150 мм.
- Триплекс на толстом, закаленном стекле (13–48 мм). Габариты 4700 х 2800 мм.
- Незакаленное стекло (4 мм). Допустим размер 3400 х 2800 мм.
Надо заметить, что перевозить и устанавливать незакаленные стекла небольшой толщины довольно проблематично. Они хрупкие и могут треснуть.
Зачем знать допустимый размер пластиковых окон
Знать приблизительные параметры оконных блоков нужно при планировании остекления в доме или производственном помещении, желании установить пластиковые перегородки с дверями, а также тем, кто рассматривает вариант панорамного остекления. Важно, что максимальные размеры окон REHAU достаточно велики и во многом зависят от используемого профиля. В основном, самое крупное окно не может представлять собой конструкцию высотой более 6000 мм и шириной свыше 3210 мм. При этом при остеклении высотных зданий, это значение бывает меньше — сказывается наличие сильного ветра.
Технические дополнения для очень больших окон
Регламентируются максимальные размеры по ГОСТ и при внушительных проемах все части конструкции соединяются между собой дополнительными планками, часто устанавливаются специальные теплокомпенсаторы. Площадь каждой отдельной части большого окна не может превышать 3,5 м2 при толщине стекол 4 мм. Также строго определены и максимальные размеры створок. Здесь взаимосвязанными параметрами становятся высота и ширина — чем больше один, тем меньше допустимая величина другого.
Техническая документация
Ограничения по размерам — оконные и дверные системы REHAU 70 мм
Ограничения по размерам — оконные и дверные системы REHAU 60 мм
Ограничения по размерам — оконные и дверные системы REHAU Blitz
Окна REHAU
www.okno-moskva.ru
Максимальная ширина створки пластикового окна гост

Размеры окон
Изготовление окон в целях остекления жилых помещений регламентировано нормами Государственных стандартов строительной отрасли, согласно которым, максимальная площадь оконного изделия из ПВХ профиля не должна превышать 6,0 м 2. Кроме того, площадь открывающихся створок не должна быть больше 2,5 м 2 .

Правильное задание размеров окон при проектировании
Сделать остекление качественным, практичным и надежным можно только опираясь на указанные стандарты. Таким образом, если вы создаете проект домов с большими окнами. то проемы целесообразно будет делать не более 6 кв. метров. Практически любой производитель сможет предложить решение по остеклению такого дома.
Если говорить непосредственно о процессе покупки окон, то заказывая конкретное изделие на производстве или приобретая окна у строительно-монтажной компании, учтите, что все открывающиеся элементы с площадью свыше 2,5 кв. метров не подпадают под действие стандартов, а их установка предполагает наличие специализированных испытаний по безопасности и безотказности в работе.
Подбирая стеклопакет для открывающихся окон важно, чтобы расчетная масса створки не превышала 80 кг. Так, например, створка площадью 2,5 кв. метра с тройным стеклопакетом (3 стекла 4 мм) весит порядка 75 кг. Увеличение количества стекол или их толщины может привести к превышению критической массы.

Открывание створок распашного типа должно осуществляться внутрь помещения для всех категорий жилых зданий, кроме окон первого этажа. Также допускается открывание наружу в изделиях, выходящих на балконы (лоджии). В других случаях возможность открывания створок наружу устанавливается в проектной документации.
Габариты неоткрывающегося окна (глухие окна)
Помимо открывающихся частей, пластиковые окна (оконный блок из ПВХ профилей) могут иметь и части глухого остекления, то есть неоткрывающиеся. Согласно ГОСТ 23166-99, устройство неоткрывающихся створок в оконных блоках жилых помещений не допускается, кроме окон первого этажа, а также в изделиях, выходящих на балконы (лоджии). Возможность применения неоткрывающихся окон в нежилых зданиях регулируется проектной документацией на строительство.
Примечание: ограничение на остекление глухими окнами выше первого этажа не распространяется на изделия с габаритами менее 800*400 мм. При осуществлении монтажа глухого остекления необходимо использовать системы вентиляции помещения или устройства для проветривания.
Окна стандартных, рекомендуемых, размеров приведены в следующей таблице:
На пересечении строк и столбцов указаны цифры условных обозначений для конструкций заданных габаритов высоты и ширины.
Отклонение от линейных размеров окон ПВХ
При производстве окон ПВХ возможно некоторое несовпадение линейных размеров с проектной документацией. Нормальным считается отклонение +2 мм; -1мм. Разность длин диагоналей прямоугольных рам не должна превышать 2,0 мм при длине стороны до 1400 мм; свыше 1400 мм – допустимое отклонение 3,0 мм.
Более подробно допустимые отклонения от линейных размеров, пропорционально габаритам изделия, указаны в таблице (выдержка из ГОСТ 23166-99. БЛОКИ ОКОННЫЕ. Общие технические условия)

Установка окон ПВХ по правилам. Как правильно проконтролировать выполнение работ, на что обратить внимание при выборе монтажной бригады, компании по установке оконных изделий.
Как установить пластиковое окно самому, своими руками. Подготавливаемся к замене окон, подбираем инструмент. Поэтапное выполнение работ по монтажу окна с детальной инструкцией.
Какая максимальная высота створки в пластиковых окнах?
Согласно Государственных стандартов изготовления окон в жилых помещениях, изготовленных из ПВХ, максимальная площадь окна не должна быть больше 6 квадратных метров. Там же указано, что максимальная площадь открывающейся створки не должна быть больше 2,5 кв.м. Еще один параметр, который применяется при расчетах это вес открывающейся створки, вес ее не должен превышать 80 кг.
Исходя из вышеуказанных данных и размером Вашего окна (высота 2,0 метра), то путем несложных подсчетов получаем максимальную ширину окна 1,25 м. При двухкамерном остеклении (3 стекла по 4 мм), получается примерно 75 кг, что укладывается в максимально возможные параметры, указанные в ГОСТе.
Но это еще не все. Данное окно близко к граничным максимальным значениям и не каждая фирма даст гарантию на такое окно, все таки нагрузки будут пограничными. Для изготовления окна таких размеров нельзя экономить на механизмах и креплениях.
система выбрала этот ответ лучшим
Сразу же отмечу, Вы не совсем верно подходите к решению задачи.
Высота это только одна составляющая, при помощи только этой величины задачу не решить.
К Высоте нужна ширина створки.
Высота на ширину это площадь.
Максимально допустимая площадь открывающейся створки, это 2,5 метра кв.
То есть теоретически если отталкиваться от площади (это по ГОСТу), то при ширине створки в 0,5-ь метров высота створки может быть 5-ь метров.
0,5 х 5 = 2,5-й метра, то есть укладываемся в допуск по площади.
Но такие окна не выпускают, есть стандарты размеров окна.

Створки могут быть и открывающимися и глухими и это надо учитывать.
Получается что поиск некой «максимальности» по одной величине, это бесполезное занятие, надо отталкиваться от стандартных размеров и от площади всего окна с учётом площади створки.
При проектировании окна учитывать надо максимально разрешённую ширину для открывающихся створок, а не не нужную высоту, высота сама «всплывёт» из-за разрешённой (максимальной) площади.
Если всё же интересуют «рекорды» то многое зависит от типа Вашего окна.
Если это одностворчатое окно, поворотно-откидное, тот тут максимальная ширина створки может быть метр, но высота до 150-и см.
Увеличиваем высоту (максимально допустимая 2,2-а метра) тут же уменьшаем ширину, если высота створки 2,2-а метра, то ширина уже не должна быть больше 70-и см.
Ещё и ветровую нагрузку надо учитывать, есть свои «раскладки» для малоэтажных зданий и высоток.
То есть площадь окна и площадь створки, может быть больше для зданий до 3-х этажей и меньше в высотных строениях.
Специально задался таким вопросом и поинтересовался на фирме занимающимся изготовлением и установкой пластиковых окон.
Так вот мне ответили высота створки с условием если она будет только открываться может быть до 2.5 метров, причём это не значит, что каждый профиль и фурнитура выдержит такую нагрузку, но всё же возможна.
А вот если створка должна иметь функцию откидывания на проветривание, тут высота сокращается максимум до полтора метра и то опять же, не на каждой фурнитуре и профиле.
Получается в вашем варианте если есть желание можно установить просто открывающиеся как дверь створки окна либо сделать окно зонированным, тогда будет возможность установки откидной фурнитуры!
Как разделить перегородками достаточно высокое окно, это уже ваша фантазия и работа менеджера-дизайнера который покажет как оно будет выглядеть — надеюсь мой ответ будет полезен!
в избранное ссылка отблагодарить
Если высота вышего оконного проема 2 м, то можно смело ставить в него пластиковое окно. Максимальная высота створки должна укладываться в 2,2 — 2,4 м. Превышение этих размеров даст чрезмерно высокую нагрузку на фурнитуру, ведь вес такой створки будет немалым. Максимальная ширина створки, ограниченная по тем же причинам, составляет 1,2 — 1,4 м. Максимальная площадь стеклопакета в створке должна быть не более 2,8 м. Учитывая высоту вашего окна, створки можно делать любой ширины, вплоть до максимально допустимой.
в избранное ссылка отблагодарить
Какая маскимальная ширина створки ПВХ
Согласно Государственных стандартов изготовления окон в жилых помещениях, изготовленных из ПВХ, максимальная площадь окна не должна быть больше 6 квадратных метров. Там же указано, что максимальная площадь открывающейся створки не должна быть больше 2,5 кв.м. Еще один параметр, который применяется при расчетах это вес открывающейся створки, вес ее не должен превышать 80 кг.
Исходя из вышеуказанных данных и размером Вашего окна (высота 2,0 метра), то путем несложных подсчетов получаем максимальную ширину окна 1,25 м. При двухкамерном остеклении (3 стекла по 4 мм), получается примерно 75 кг, что укладывается в максимально возможные параметры, указанные в ГОСТе.
Но это еще не все. Данное окно близко к граничным максимальным значениям и не каждая фирма даст гарантию на такое окно, все таки нагрузки будут пограничными. Для изготовления окна таких размеров нельзя экономить на механизмах и.
Изготовление окон в целях остекления жилых помещений регламентировано нормами Государственных стандартов строительной отрасли, согласно которым, максимальная площадь оконного изделия из ПВХ профиля не должна превышать 6,0 м2. Кроме того, площадь открывающихся створок не должна быть больше 2,5 м2.
Правильное задание размеров окон при проектировании
Сделать остекление качественным, практичным и надежным можно только опираясь на указанные стандарты. Таким образом, если вы создаете проект домов с большими окнами, то проемы целесообразно будет делать не более 6 кв. метров. Практически любой производитель сможет предложить решение по остеклению такого дома.
Если говорить непосредственно о процессе покупки окон, то заказывая конкретное изделие на производстве или приобретая окна у строительно-монтажной компании, учтите, что все открывающиеся элементы с площадью свыше 2,5 кв. метров не подпадают под действие стандартов, а их установка.
1380 — нормальная пропорция для любой фурнитуры.
СТП
1.5 кв. м = 45 кг — нормальный вес для любой приличной фурнитуры.
В любой створке армирование = П, замкнутый квадрат может быть только в створке.
Про 2 мм армирование забудьте, хорошо если 1.5.
Если штатный режим работы створок — откинуто, то о размерах, профильной системе и фурнитуре можно не париться, при условии, что производитель ставит «копыто», «трамплин» или что-либо еще с каким-либо другим названием.
Это деталь (как правило — пластиковая), которая ставится либо на раму (старый вариант, но мне нравится) либо на створку в фурнитурный паз для разгрузки петель в положении откинуто/закрыто.
В некоторых фурнитурных системах эту функцию выполняет комбинированный противовзломный поворотно-откидной зацеп (устанавливается в нижнем непетлевом углу рамы).
Мне не нравится.
На что советую посмотреть:
1. Частота армировочных саморезов — не реже 300мм.
2. Если пустят.
Ограничения по размерам относятся к габаритным размерам створок и зависят от типа открывания, требуемого класса сопротивления ветровой нагрузке и цвета наружной поверхности ПВХ профилей. Нижеприведенные ограничения действительны в случае, если между точками прижима приборов запирания выдерживается расстояние менее 80 см.
Максимальный вес оконной створки:
поворотная / наклонно-поворотная (П/НП): 100 кг; поворотная / наклонно-поворотная (П/НП) с применением технологии вклеивания остекления в створку: 130 кг; наклонно-сдвижная дверь (PSK): 160 кг.
Максимальный вес створки входной двери:
створка входной двери с дверными петлями: 120 кг.
Вес пакетов профилей (створка + армирование + штапик + П/ НП приборы) для определения максимального веса створки в пересчете на 1 пог. метр:
Наряду с нижеприведенными ограничениями необходимо учитывать рекомендации производителей фурнитуры (максимальные размеры створок, крепление фурнитуры) и рекомендации.
Фурнитура для пластиковых окон и дверей 3
Поворотно-откидная фурнитура для пластиковых окон
Базовый комплект (см. рис. 6.) — это компоненты и для поворотного окна Rehau. Большая часть компонентов взаимозаменяемая и может использоваться как для поворотного окна, так и для поворотно-откидного пластикового окна. Компоненты, которые используются только в поворотно-откидном пластиковом окне — это ножничный кронштейн, блокиратор ошибочного движения ручки и петли для поворотно-откидных окон Рехау. Вариативность взаимозаменяемости элементов фурнитуры у разных производителей окон разная.
Кроме основного механизма к комплекту поворотно-откидного пластикового окна входит ручка. Также к комплекту, при увеличении размеров окна, прибавляются компоненты для установления запирания в дополнительных точках. При увеличении размеров створки соответственно увеличивается ее вес. При весе створки более 30 кг в поворотно-откидной комплект входят те же элементы, что и для комплекта для.
Какие стандартные размеры окон ПВХ по ГОСТу
ГОСТы строительной отрасли регламентируют изготавливать окна таким образом, чтобы максимальная площадь оконного изделия из пластикового профиля была не больше 6 м2. Также открывающаяся створка по своей площади не должна превышать 2,5 м2.
Как правильно задать размеры окон на этапе проектирования
Только соблюдая стандарты и нормативы ГОСТа можно сделать остекление качественным, надежным и практичным. К примеру, если вы решили строить загородный дом с панорамным остеклением, то стоит принять во внимание тот факт, что окна должны быть не больше 6 м2.
В этом случае вы избавитесь от многих проблем, да и производителя найти не составит труда. Практически все компании смогут предложить решения по остеклению такого дома.
Если вы решили купить уже готовые окна на производстве или у строительной компании, то обратите внимание на площадь открывающихся элементов. Если она будет больше.
Эта статья посвящена конструктивным ограничениям, накладываемые на изготовление пластиковых окон. В принципе при заказе окон менеджер с хорошей квалификацией расскажет Вам – какие окна возможно изготовить. а какие нет и посоветует как лучше сделать заказ. Но не всегда попадается хороший менеджер, поэтому если Вы хотите заказать не стандартные конструкции. то эта статья поможет избежать потери времени связанные с возвратом заводом изготовителем заказа для внесения изменений и доработок.
-Минимальный радиус арки, для профильных систем шириной 58-60мм составляет около 35см, для систем шириной 70мм ,примерно 40см (радиусы даны примерно, у каждого профиля свои ограничения). При меньших радиусах при процессе гибки на профили идет «гармошка». Единственный выход в этой ситуации — изготовление арки из сегментов (кусочков профиля, т.е. делается не арка. а многоугольник), конструкция в этом случае имеет не очень привлекательный вид и далеко не каждый.
Местный Регистрация 29.10.2012 Сообщений 1,022 Вот призадумался над таким вопросом, планируя заказывать пластиковые окна, а каковы же оптимальные размеры створок могут быть, чтобы фурнитура работала исправно? То что глухое окно ПВХ можно, в принципе, сделать любого размера, а вот какова же максимальная ширина створки, чтобы при открывании на проветривание она не отпала.
24.11.2012 19:36 #0
Местный Регистрация 15.08.2012 Сообщений 1,000
( Зарегистрированные посетители не видят эту рекламу — регистрация ) Местный Регистрация 23.11.2012 Сообщений 119 В принципе такого понятия.
Размер балконной двери определяется точно также, как и размер створки окна – по весу. То есть вам нужно измерить площадь пластикового окна (высоту умножить на ширину). Вес одного квадратного метра однокамерного стеклопакета – 25 кг, двухкамерного стеклопакета – 35 кг. Предельная масса продукции не может превышать 55 кг. Если размер изделия довольно большой, то рекомендуется в нижней части использовать сэндвич панель. Если вы хотите установить полностью стеклянную конструкцию, то ее ширина не должна превышать 75 см, а высота 2,2 м. В противном случае, оно будет очень тяжелым, и фурнитура будет работать со сбоями.
Ширина балконной двери.
Стандартная ширина не должна превышаеть 80 см. Если ваша конструкция больше, используйте сэндвич панель или сделайте штульповую конструкцию с двумя створками. Этот показатель часто невозможно откорректировать. Многие производители не делают изделия с двухкамерным стеклопакетом более 80 см, и с однокамерным стеклопакетом больше 1.
Естественно, это зависит от площади окна. Минимально створку можно сделать размером 40х50см – такие часто устанавливают в кассах. А вот площадь окна, имеющего открывающиеся створки, может быть не больше 360см в длину, и 200см в высоту. Сколько в такое окно влезет створок – считай сами, с учетом ширины разделяющего створки профиля. Конечно, технологически можно сделать любые размеры, но нужно учитывать нагрузку на профиль – слишком большая площадь подразумевает слишком большой вес, поэтому существуют определенные нормы, которые учитывать для нормального функционирования окна.
Если Вас интересуют максимальные значения размеров створок – то они зависят от типа окна:
если окно одностворчатое поворотно-откидное – тогда максимум ширины будет равен 100см при высоте до 150см, а максимальная высота – до 220см, если ширина при этом не превышает 70см. если окно двухпросветное и имеет одну створку – тогда ширина может быть равна 100см при максимальной высоте 140см, а самая.
Статья 103 — Максимальный размер створки пвх окна
выходящих на балконы (лоджии)). Согласно ГОСТ 23166-99, а также в изделиях, пластиковые окна (оконный блок из ПВХ профилей)) могут иметь и части глухого остекления, то есть неоткрывающиеся. Габариты максимальный размер створки пвх окна неоткрывающегося окна (глухие окна)) Помимо открывающихся частей, устройство неоткрывающихся створок в оконных блоках жилых помещений не допускается, кроме окон первого этажа,заменен на экологически безопасное соединение кальций-цинка (CaZn)). Традиционно используемый при производстве ПВХ-профиля, профили КБЕ, свинец, концерн profine GmbH — производитель оконного профиля КВЕ первым в максимальный размер створки пвх окна мире объявил о переходе своих производств на новую экологичную рецептуру greenline. Главная страница / Пластиковые окна / KBE Пластиковые окна KBE 70 КВЕ 70 greenline — рецептура будущего из Германии.повторяющих цвет и структуру поверхности дерева. Вы можете с равным успехом.
Одной из основных особенностей пластиковых окон является то, что каждое окно изготавливается под индивидуальные размеры оконного проёма, поскольку даже те параметры, которые принято считать стандартными, довольно широко варьируются.
Бывают ли стандартные размеры металлопластиковых окон, можно ли купить готовое окно из пвх, что собой подразумевает понятие «нестандартные размеры пластиковых окон»? — на эти и другие вопросы мы постараемся ответить в данной статье.
Пластиковые окна стандартных размеров
Изначально все металлопластиковые окна производились по стандартным размерам оконных проёмов панельных домов, т.е. это пластиковые окна 120 на 120, 130 на 140 и т.д. При этом общепринятым стандартом размеров пластиковых окон считались конструкции 1200 x 1200.
Стандартные размеры основаны на расчетах, проведенных проектировщиками домов, которые согласно Государственным стандартам обязаны обеспечить любому жилому помещению достаточный уровень.
Размеры металлопластиковых окон
Технологические возможности современного производства металлопластиковых окон позволяют изготовить окна любых размеров в соответствии с имеющимися проемами. Но существуют определенные рекомендации, которые следует учитывать, что бы окно служило дольше и функционировало без возникновения проблем. Перечислим основные рекомендации от «Академии Rehau»:
Ограничения габаритных размеров металлопластиковых окон. Максимальная площадь металлопластикового окна с глухими частями – не более 6.
Минимальные и максимальные размеры окон Rehau 19.01.2016
Минимальные и максимальные размеры окон не придуманы производителями просто так. Все зависит от профиля, из которого будет сделано пластиковое окно, рекомендации производителей фурнитуры и стеклопакетов, а так же, самого оборудования. В ПВХ — конструкциях очень чётко обозначены пределы, за которые настоятельно просим не выходить при заказе пластиковых окон. За каждой границей стоит чёткий расчёт и тысячи переделанных окон ПВХ.
Существующие пределы пластиковых окон из профиля Rehau и их причины
Первым ограничением становятся габариты окон ПВХ
Максимальные габаритные размеры изделий из белого профиля
Ширина изделия не более 4000 мм при остеклении с открывающими частями и не более 3000 мм при глухом остеклении.
Максимальная площадь остекления зависит от используемого стеклопакета, деления конструкции импостами, а так же места монтажа конструкции.
Итак, Вы решили поменять окна в доме. Возможно, Вам захотелось сделать свое жилье более функциональным и современным, привнести в него модные тенденции, новые цвета и фактуры. А может просто надоело снова и снова сдирать краску со старых деревянных окон, перекрашивать их, или ощущать, как из оконных щелей постоянно свозит, а голосящая сигнализация соседской машины возле Вашего дома не дает спокойно уснуть. Каковы бы ни были причины Вашего решения, Вам наверняка понадобиться хороший совет.
© 2007-2014, Окна Люкс, Обзоры рынка пластиковых окон, каталог производителей, советы специалистов. Все права на материалы принадлежат их авторам и охраняются Законом об Авторском Праве. Вы можете использовать любые материалы данного ресурса, но при условии размещения ссылки на okna-lux.net
Источники: http://www.okna-pro.com/st_razmery-okon-pvc.html, http://www.remotvet.ru/questions/15614-kakaja-maksimalnaja-vysota-stvorki-v-plastikovyh-oknah.html, http://www.okna-lux.net/kakaya-maskimalnaya-shirina-stvorki-pvkh
1oknn.ru
Как рассчитать размер пластикового окна

Установка пластиковых окон позволяет избавиться от многих проблем, связанных со звукоизоляцией, тепловыми потерями, герметичностью открывания и закрывания створок. Замена старых окон на новые пластиковые сопровождается определением размеров пластиковых окон, устанавливаемых в старые оконные проемы. Об особенностях выполнения данных расчетных операций рассмотрим далее.
Оглавление:
- Как рассчитать размер пластикового окна
- Инструкция о том как рассчитать размеры пластиковых окон
- Готовые пластиковые окна стандартных размеров
- Размеры пластиковых окон: особенности определения
- Инструкция по измерению оконного проема под пластиковое окно
Как рассчитать размер пластикового окна
Установка пластиковых окон всегда начинается в проведения замеров оконного проема, в котором оно будет вмонтировано. Данный процесс является очень важным, и именно от правильности его проведения зависит простота дальнейших работ по установке окон. Замеры в оконном проеме проводятся с двух сторон, как изнутри помещения, так и снаружи. Именно от данных параметров зависят параметры окна, устанавливаемого в проеме. В некоторых случаях возникает перекос оконного проема, поэтому окно изготавливается с соблюдением данного параметра.

Для того, чтобы после установки окна не образовывались сквозные перекосы, следует в точности измерить размеры оконного проема и в соотношении с ними изготовить окно. После того как параметры будущей оконной конструкции определены, они сравниваются с размерами оконного проема. При наличии каких-либо ошибок, именно на этом этапе существует возможность их исправления. В противном случае, необходимо будет переделывать оконный проем.
Кроме того, данный этап позволяет определить количество штукатурного раствора, используемого в процессе заделывания щелей. Данное значение должно быть минимальным. Для того, чтобы провести обмер, необходимо выполнить такие действия:
1. Измерить оконный проем максимально правильно, при отсутствии опыта в проведении подобных работ, рекомендуем обратиться к специалистам.
2. В точности рассчитать конструкции и их размеры. Определить параметры изделия, изготавливаемого под заказ.
3. Выбрать дополнительные функциональные элементы, такие как москитная сетка, отливы и подоконник, определить их размеры.

4. Кроме того, следует согласовать такие параметры:
- качество оконного переплета;
- стилистику и форму окна;
- цвет основной конструкции, переплетов, фурнитурных элементов;
- вариант стеклопакета и количество стеклопакетов в окне.
5. Унификация размеров окна.
6. Оформление документации, связанной с установкой окон, их изготовлением и другими характеристиками.

Инструкция о том как рассчитать размеры пластиковых окон
Для того, чтобы измерить оконный проем необходимо использовать рулетку. Предпочтительнее если на ней имеется цифровой дисплей. При наличии в проеме четвертей, выступов, они также измеряются.
Изначально необходимо измерить высоту оконного проема с двух сторон, как с правой, так и с левой. Ширину проема, достаточно измерить только снизу. Если существуют сомнения по поводу ровности проема, следует использовать уровень, и с его помощью обнаружить отклонения.
Если проем не имеет четверти, то размер конструкции уменьшается на несколько сантиметров. Значение вертикального размера уменьшается наз значение высоты подоконника, который будет установлен после монтажа окна.
Если на оконном проеме имеются четверти, то процесс выполнения расчетов размеров пластикового окна, значительно усложняется. В таком случае, изначально определяется толщина и высота подоконника, снимаются замеры по высоте и ширине. Ширина будущей оконной конструкции должна быть минимум на 5 см больше, нежели ширина в оконном проеме. Если данное значение превышает 5 см, то рекомендуется применение деревянных черновых доборов или расширителей из поливинилхлорида.

Измерив расстояние между внешними границами окна по вертикали, к нему необходимо прибавить около шести сантиметров. Данное значение будет высотой будущей оконной конструкции.
Значение по заходу рамы во внутрь окна должно быть на 2 см больше замеров. В верхней четверти окна рама располагается таким образом, насколько ей позволит москитная сетка. При отсутствии вертикальной или верхней части окна, оно заходит во внутрь не более чем на два сантиметра. Кроме того, несколько сантиметров оставляется для компенсации установки утеплителя в окне.
Если присутствует необходимость замены балконного окна и двери, то изначально измеряют только окно и только дверь, а затем окно с дверью. Кроме того, размеры створок должны быть в соответствии с оконными системами. Минимальные размеры поворотных створок на пластиковых окнах составляют сорок сантиметров. Если планируется установка пластиковых окон больших размеров, то следует учесть тот факт, что окно должно поместиться во все существующие дверные проемы во время транспортировки. Кроме того, размеры окна и его вес, в обязательном порядке согласовываются с проектной документацией здания, в котором производится их установка. Выбирая окно в дом, коттедж или квартиру, учитывайте общую стилистику экстерьера помещения.

Готовые пластиковые окна стандартных размеров
Для того, чтобы не тратить время на изготовление и заказ пластиковых окон, можно выбрать из стандартных размеров пластиковых окон. При этом, для монтажа окна, достаточно оборудовать под него оконный проем.
Выбор пластикового окна, довольно сложный процесс, во время проведения которого следует обращать внимание на огромное количество показателей. Предлагаем с ними ознакомиться:
- характеристика звукоизоляции;
- защита помещения от тепловых потерь;
- качество фурнитуры;
- качество уплотнителя;
- количество стеклопакетов в окне;
- качество стального и пластикового профилей;
- фирма-производитель;
- надежность и прочность оконных конструкций.

Однако, первоначальный этап подготовки к покупке окон — это определение их размеров. Кроме того, в процессе покупки пластиковых окон следует уточнить у поставщика стоимость доставки оконных конструкций, их транспортировку непосредственно к месту установки. Откосы и их монтаж, также следует уточнить у поставщика, у которого вы покупаете товар.
На стоимость пластиковых окон влияют такие факторы как размер окна, количество стеклопакетов, устанавливаемых в нем, качество фурнитурных элементов, количество створок, наличие функции проветривания, подоконник и т.д.
При выполнении расчетов обратите внимание на высоту и ширину окна, его вид: глухое или с возможностью открывания, количество створок одна, две или больше, количество камер в окне.
Учтите, что цена на пятикамерные пакеты всего лить на тридцать процентов выше, нежели на трехкамерные. Однако, такие окна обладают довольно высокими тепло- и звукоизоляционными характеристиками.
В зависимости от типа открывания створок они могут открываться в поворотно-откидном положении или только в поворотном. Тип ручек и других фурнитурных элементов определяет длительность эксплуатации окон.
Кроме того, пластиковые окна имеют большое количество дополнительных функций, таких как энергосберегающие системы, самоочищение стекла, родительский контроль открывания окна, возможность тонировки, сетка, защищающая помещение от насекомых и т.д.

Довольно высокой популярностью отличается монтаж стеклопакетов, у которых присутствует низкоэмисионное покрытие. У них присутствует огромная способность отражения тепла, поэтому в летнее время года, в помещении всегда прохладно, а в зимнее — тепло. Стоимость пакетов с данными функциями на 3-4% выше, чем у обычных стеклопакетов.
Для того, чтобы создать декоративное зонирование окна и улучшить привлекательность его внешнего вида, устанавливаются фальшимпосты. Данные элементы увеличивают стоимость готового изделия, однако, с ними окно смориться гораздо красивее. Особо актуальна их установка в окнах для средневекового или классического стиля.
Если в процессе монтажа окон потребуется заменить еще и подоконник с отливом, то стоимость проведения работ возрастет. Кроме того, потребуется также измерить подоконник. Для заказа готового пластикового подоконника измерьте его ширину и длину в оконном проеме. Кроме того, следует измерить длину и ширину отлива, а также выбрать материал, из которого будет изготовлен подоконник.
Типовые размеры пластиковых окон составляют по высоте 130 см, а по ширине 140 см. Минимальные размеры пластиковых окон в старых домах составляют 130 на 135 см. Максимальный размер пластикового окна зависит от размера оконного проема, существуют определенного рода лоджии или балконы с панорамным остеклением, в таком случае, пластиковые окна изготавливаются под заказ и достигают очень больших размеров.

Размеры пластиковых окон: особенности определения
Определяя размеры пластикового окна самостоятельно следует руководствоваться такими документами как ГОСТ и СНиП. Только в таком случае удастся получить качественную оконную конструкцию, которая прослужит вам на протяжении долгих лет.
Стандартные пластиковые окна должны обладать хорошими светопропускными способностями. Они также должны интенсивно освещать окно и выполнять все предназначенные для них функции.
Учтите, что даже в одном многоэтажном доме могут быть установлены окна разных размеров. Поэтому, в любом случае, перед заказом пластиковых окон, следует измерить величину оконного проема, в котором они будут установлены.
От размера пластикового окна зависит функциональность его эксплуатации и уровень освещения помещения. Размер окна должен сопоставляться с общей площадью комнаты, в которой оно будет установлено.
На определение размера пластикового окна влияют такие факторы как размер комнаты, пропускание света окном, направление и место установки окна. Минимальный размер пластикового окна зависит от размера оконного проема и места его установки.

Стандартное двустворчатое окно имеет размеры 130 на 140 см. Окно, у которого имеется три створки имеет такие размеры: 206х140 см.
Кроме того, чаще всего изготавливают пластиковые окна нестандартных размеров. Так как гораздо проще измерить оконный проем и изготовить под него окно, нежели подгонять под готовое стандартное окно имеющийся оконный проем.
Если вы заказываете окна на специализированном предприятии, то стоимость проведения замеров входит в общую цену на установочные работы. В некоторых случаях, проведение замеров специалистами, вовсе не оплачивается.
Инструкция по измерению оконного проема под пластиковое окно
Если окно будет иметь прямоугольную форму, то следует измерить такие показатели:
- ширина оконного проема в нижней его части;
- габаритная ширина самого окна;
- высота оконного проема как слева, так и справа;
- габаритная высота окна.

Кроме того, следует учесть монтажный зазор. Учтите, что ширина монтажного шва составляет не более 4 см, поэтому не следует ее увеличить больше данного значения.
Выполняя замеры пластиковых окон, следует также учесть тот факт, что в процессе монтажа окна производится установка подставочного профиля. Его рабочая высота учитывается при определении высоты окна.
Оконные проемы в редких случаях имеют форму идеального прямоугольника, поэтому необходимо выполнение контрольных промеров. Для этих целей потребуется наличие отвеса, уровня и измерительной рулетки. Таким образом, удастся в проеме создать идеальный прямоугольник под размеры оконной конструкции. Размеры данного прямоугольника и будет размерами оконного проема.
Далее следует измерить толщину стены, на которой находится оконный проем. После этого определяется положение в котором будет расположено пластиковое окно. Учтите, что монтаж окна производится на две трети от толщины стены. Если окно будет чересчур смещено к улице, то его теплоизоляционные показатели значительно снизятся.
Далее следует измерить наружный отлив по длине. Данные измерения проводятся сразу в нескольких местах, так как данный показатель может различаться на разных участках. Далее следует измерить длину будущего подоконника. Учтите, что подоконник по длине не должен совпадать с шириной окна. Так как после установки окна производится монтаж откосов из пластика, отделка оконного проема, поэтому подоконник не поместиться в окно, если его ширина будет такой же как неотделанный оконный проем.
Далее измеряются внутренние и внешние откосы. Чаще всего, в процессе монтажа окон, откосы и подоконник также изготавливают из пластика.
Более сложный процесс — измерение оконного проема под окна трапециеобразной или арочной формы. В данном случае, лучше воспользоваться помощью специалистов.
strport.ru
Как правильно рассчитать размер пластикового окна? Что необходимо учитывать
Из статьи Вы узнаете:
Использование пластиковых окон дает множество преимуществ, связанных с повышенной звукоизоляцией, решением проблемы с теплопотерями, герметичностью конструкции. При смене окон необходимо произвести замеры будущей конструкции, которая будет установлена в существующие проемы.
В процессе определения размеров придерживаются определенной технологии и правил проведения расчетных операций.
Как рассчитывается размер пластикового окна

Первое, с чего начинается обновление окон, определение размеров проема, куда планируется установка новой конструкции. От того, насколько корректно будут выполнены замеры зависит успех всех дальнейших действий по монтажу. Замеры выполняют не только изнутри – необходимо снять измерения с внешней стороны. Двойные замеры проема позволят определить параметры требуемого изделия корректно, избежав возможного перекоса проема и осложнения монтажа.
Исключить сквозной перекос позволит точное измерение проема и учет полученных показателей при дальнейшем производстве. Если ошибки в измерениях выявлены в этот момент, важно их сразу же исправить, ведь позже монтаж станет возможным только после переделки текущего проема.
Уже на стадии замеров можно сделать предварительный расчет количества раствора для штукатурных работ, которые потребуются при заделывании щелей и просветов. Правильные измерения, учет полученных размеров позволят минимизировать объем материала, а, следовательно, и расходов при установке.
Выполняя обмер, рекомендуется придерживаться следующей последовательности:
- Выполнить измерения проема максимально точно. Во избежание проблем с некорректными расчетами, рекомендуется обратиться к мастерам, имеющим опыт подобной работы.
- Определение точных размеров будущей конструкции, изготавливаемой на заказ.
- Подбор дополнительных элементов, придающих повышенную функциональность окну (противомоскитная сетка, подоконник), определяется размер отливов.
- Согласуется качество переплета, стилистика изделия, форма и цвет конструкции, особые характеристики фурнитуры, тип стеклопакета и их количество.
- Приведение размеров окна к единым значениям.
- Подготовка документов по установке, производству изделий, спецификаций и других сопроводительных бумаг.
Руководство по расчету размеров оконных конструкций

При выполнении замеров рекомендуется использовать рулетку, длина которой позволяет снимать необходимые показания. Оптимальный вариант – рулетка с цифровым дисплеем. Замеры выполняют и по имеющимся особым выступам, четвертям.
Прежде всего, снимают показания высоты проема с двух боков. Данные о ширине снимают один раз – в нижней части. В случае, если возникло подозрение о неровности, применяют уровень, позволяющий выявить отклонения.
Необходимо также учитывать, насколько рама заходит в пластиковое изделие – не более, чем на 2 см превышая показатели замеров. Расположение рамы в верхней четверти должно учитывать возможность установки антимоскитной сетки. В отсутствие вертикальной или верхней части, показатель захода в пределах пары сантиметров. Дополнительные сантиметры потребуются для организации утепления в конструкции.
При замене балконного сектора, вначале делают замеры окна и отдельно замеряют дверную конструкцию. Затем снимают показатели значений всего балконного отсека. Проводя измерения, учитывают, что поворотные створки не должны быть меньше 40 см. Если устанавливаются большие окна, при доставке необходимо принять во внимание, что размеры изделия по размерам должны входить в дверные проемы и средство для транспортировки.
Необходимо учитывать вес пластиковой конструкции и ее размеры, согласовав их с разрешенными показателями из проектной документации сооружения. При подборе варианта для частного домовладения особенно важно учитывать стилистическое сочетание конструкции с общим дизайном и интерьером.
Готовые решения оконных конструкций из пластика

Сократить время на приобретение окон позволит выбор готовых изделий из пластика стандартных размеров. Чтобы произвести установку, достаточно лишь правильно подготовить проем.
Подбор конструкции правильных размеров – важный момент, от которого зависит успешное обновление помещения. В процессе подбора необходимо учитывать несколько параметров, основными из которых являются:
- качество звукоизоляции;
- уровень теплопотерь;
- подбор фурнитуры и уплотнителя;
- число стеклопакетов;
- качество используемых профилей;
- изготовитель;
- параметры прочности конструкции.
Установка пластиковых конструкций начинается с выбора моделей с оптимально подходящими габаритами. Прежде, чем заказать готовые конструкции следует уточнить все сопутствующие расходы: на доставку, подъем, оформление откосов, монтажные работы.
На расходы, связанные с покупкой оконных конструкций, влияют их размер, число стеклопакетов, фурнитура, число секций, дополнительный функционал и т.д. Подбирая окна, прежде всего, обращают внимание на основные габариты, способность к открыванию, число секций и т.д.

Различия между трехкамерным и пятикамерным профилем
Число камер в заказываемых пакетах несильно влияет на конечную цену изделий: между пяти- и трехкамерными пакетами разница не более 30%. В то же время, большее число камер дает повышенное качество звуко- и теплоизоляции.
Конструкции также различаются по способности к открыванию: глухие окна, створки с поворотным или с поворотно-откидным открыванием. На надежность изделия и его эксплуатационные качества будет влиять качество используемой фурнитуры и комплектующих.
На выбор заказчика, возможно оснащением такими функциями как: родительский контроль, самоочищение, тонировка, сетка, энергосберегающая система.
При монтаже могут быть использованы популярные низкоэмиссионные покрытия с возможностью отражать тепло, позволяя летом беречь прохладу, а зимой обеспечивать дополнительный приток тепла. Затраты на изделия с данным покрытием всего на 3-4% больше, чем при покупке обычных стеклопакетов.
С помощью фальшимпостов зонируется окно, улучшается его дизайн. Декоративный элемент влияет на цену, однако интерьер помещения значительно улучшается. Некоторые заказчики приобретают изделия, изготовленные в классическом или средневековом стиле.

Иногда при обновлении окна возникает необходимость замены отлива и подоконника, что также увеличивает цену заказа. При замене подоконника, предварительно выполняют его замеры. При выборе готовой оконной конструкции учитывают необходимые габариты подоконника – замеряют исходные значения по ширине и высоте. Аналогично поступают при заказе отлива – необходимо определить нужные ширину и длину, а также подобрать материал изготовления.
Габариты стандартных оконных ПВХ изделий — 130х140 см. Самые небольшие по размерам изделия устанавливают в домах старой постройки – как правило, стандартные показатели высоты – 130 см, ширины – 135 см. Максимальные значения показателей подбирают индивидуально, исходя из габаритов проема. Для лоджий и балконов имеются специальные панорамные варианты остекления. В подобных ситуациях речь идет об индивидуальном заказе, который, порой, достигает значительных размеров.
Нюансы процедуры определения размеров

Рекомендуется при выполнении замеров, учитывать требования, озвученные в СНиП и ГОСТ. Это станет залогом качественного исполнения заказа.
Пластиковые изделия стандартных габаритов должны соответствовать требованиям по пропуску света. Конструкция должна обеспечивать достаточный доступ света в помещение, не снижая при этом качество выполняемых функций.
Несмотря на тот факт, что варианты конструкции подбираются для стандартной многоэтажки, порою, возникает серьезная разница в размерах проемов.
Даже в пределах одного здания, конструкции могут различаться. Поэтому так важно замерить проем для каждого из устанавливаемых изделий.
Габариты конструкции влияют на его функциональность и доступ естественного освещения вовнутрь. Изделие также должно гармонично смотреться, с учетом площади помещения, в котором планируется его установка.
Не только размер помещения, но и сторона расположения, интенсивность естественного освещения, место монтажа будут влиять на размеры конструкции. Размеры самого небольшого ПВХ окна зависят от габаритов проема и его местоположения.
Важно! Размеры обычного пластикового окна из двух створок составляют 130 см в высоту и 140 см в ширину. Если окно трехстворчатое, стандартные размеры будут 206 см в ширину и 140 см в высоту.
На практике сложно подобрать модель изделия, точно соответствующую индивидуальным размерам заказчика. Чаще всего требуется изготовление пластиковых конструкций по конкретным замерам. Монтаж изготовленного на заказ изделия значительно проще, в то время, как удешевление затрат на производство стандартной конструкции всегда связано с трудностями монтажа в существующий проем.
Как правило, работы по снятию размеров будущего изделия выполняются в комплексе оплачиваемых заказчиком услуг. Некоторые производители делают измерения совершенно бесплатно для клиентов.
Измерение проема: руководство к действиям

Прямоугольная форма изделия требует выполнения следующих замеров:
- ширина проема внизу;
- ширина пластикового изделия;
- высота проема с левой и правой стороны;
- общая высота оконного изделия.
При уточнении размеров в учет берут зазор для выполнения монтажных работ. Монтажный шов может достигать 4 см, это значение и следует принимать в расчет при определении габаритов изделия.

Измерения оконных конструкций также учитывают необходимость установки подставочного профиля. В расчет высота изделия принимают рабочую высоту профиля. Очень редко проем имеет идеальные прямоугольные параметры, поэтому после снятия замеров необходимо еще раз промерить все значения для контроля с помощью строительного уровня, отвеса и рулетки. Эти меры позволят выполнить точные замеры и изготовить пластиковое изделие нужных размеров.
Блиц-опрос: Что такое «глухие» окна?Poll Options are limited because JavaScript is disabled in your browser.Следующим этапом станет замер толщины стены там, где располагается проем и определение положения, которое займет окно при установке. Определяя габариты пластикового изделия учитывают необходимое соотношение – монтаж окна выполняется на 2/3 от показателя толщины. Слишком сильное смещение конструкции к наружной части портит теплоизоляционные характеристики, приводя к более сильным потерям тепла.

После определения положения конструкции измеряется длина наружного отлива по нескольким точкам, ввиду возможного искажения показателя на всей длине. Затем необходимо узнать длину подоконника, которая не может быть идентичной с показателем ширины конструкции. Это правило связано с тем, чем установка пластиковых откосов проводится после того, как поставлена конструкция, и произведена отделка проема. Совпадение длины подоконника с шириной ПВХ конструкции приведет к невозможности установки подоконника.
Замер откосов с внутренней стороны и снаружи происходит после определения габаритов подоконника. Материалом для откосов и подоконника, чаще всего, служит пластик. Если форма изделия будет в виде арки или трапеции, процесс измерения габаритов будет более сложной, поэтому без профессиональной помощи обойтись не удастся.
azaoknom.ru
Стандартные размеры оконных проемов для пластиковых окон: ГОСТ
Металлопластиковые окна, вытеснившие с рынка деревянные рамы со стеклами, сегодня переживают пик своей популярности. Имея много плюсов, этот метод остекления особенно удобен при стандартных размерах оконных проемов для пластиковых окон. В случае индивидуальных размеров время изготовления пластиковых рам или остекления дверей составляет от нескольких дней до недели.
Окна из пластикового материала завоевали популярность благодаря своим качествам
Что определяет стандартность изделия
При всем разнообразии зданий, в которых производится остекление, для гарантированного обеспечения тепла и комфорта строители опираются на ряд нормативных документов, включающих государственные стандарты (ГОСТы) и строительные нормативы.
Производства по изготовлению пластиковых дверей и окон предлагают не только стандартные стеклопакеты, соответствующие ГОСТам и СНИПам, но и изделия по индивидуальным размерам зданий различного назначения.
При строительстве современных панельных зданий, типовых дач, бань или строений иного назначения обычно придерживаются стандартных размеров оконных и дверных проемов под пластиковые окна и двери. Практика обращения к ГОСТам существенно экономит деньги на установке пластиковых стеклопакетов.
Изготовление пластиковых рам происходит согласно ГОСТу
Стандартные размеры оконных проемов, предназначенных для пластиковых дверей и окон, разрабатываются с учетом:
- специфики здания;
- габаритных размеров внутренних помещений;
- естественной освещенности, которая определяется по месту расположения строения.
Размеры оконных проемов в современных многоэтажках
Современные многоэтажные дома отличаются разнообразием проектов. Существует более 40 серий. Существование для каждой стандартных типовых размеров оконных и дверных проемов является оправданным.
В случае панельных многоквартирных домов стандартными, согласно ГОСТу, считаются как двухстворчатые, так и трехстворчатые окна. Наиболее часто используются следующие размеры проемов:
- вертикальная составляющая – 1,4 м;
- горизонтальная составляющая для двустворчатой модификации – 1,3 м;
- горизонтальная величина для трехстворчатого окна – 2,05/2,07 м.
Установка стеклопакетов в многоэтажках стандартно происходит еще при строительстве
Высота до подоконника (от пола) стандартно составляет 85 см, практически для всех серий жилых зданий она не меняется.
При желании в стандартных квартирах можно увеличить высоту от пола до подоконника, а вот уменьшать нельзя, так как наружные стены зданий всегда несущие.
Стандартные проемы в «хрущевке»
Для типовых построек 1950-1985 годов характерны:
- маленькая площадь квартир;
- плохая звукоизоляция;
- низкие потолки.
У «хрущевок» стандартными размерами проемов принято считать следующие величины, которые меняются в зависимости от ширины подоконников:
- для узкого подоконника 1,3 м х 1,35 м;
- для широкого подоконника – 1,45 м х 1,5 м.
В зданиях этого типа расстояние от пола до окна обычно стандартное и составляет 85 см.
Параметры проемов в частных и малоэтажных домах
В малоэтажных жилых домах и в случае индивидуальной застройки при определении стандартных значений оконных проемов для пластиковых окон опираются на ГОСТ 11214-86.
Данный нормативный документ регламентирует значения высоты и ширины оконного проема в зависимости от площади помещения, его назначения и, соответственно, требуемого уровня его освещения. Планирование величины и конфигурации оконных проемов производится при обязательном учете архитектурных особенностей здания. Согласно ГОСТу, типовая ширина оконного проема может быть от 0,87 до 2,67 м, а высота – от 1,16 м до 2,06 м.
Стандартные значения оконных размеров в малоэтажных и индивидуальных домах рассчитывают с учетом коэффициента естественной освещенности (КЕО), который является основным критерием, используемым в ГОСТах.
Величина КЕО для всех регионов прописана в СНиПах, помимо этого, в нормативных документах указываются поправочные коэффициенты, учитывающие широту места, где находится здание.
При проектировании частного дома имеется возможность расчет стандартных размеров оконных проемов проводить, применяя упрощенный вариант. ГОСТом площадь проемов рассчитывается как величина, меньшая чем площадь помещения, в 8 раз.
Пластиковые окна могут быть различной формы
Подоконники в частных домах зачастую устанавливаются не по ГОСТу, а по дизайн-проекту.
По строительным нормам, на первом этаже частного дома высота подоконника от пола должна составлять от 70 до 90 см. Такое расстояние удобно для монтажа отопительной системы, а также наиболее комфортно для жителей дома.
На втором этаже показатель пол – подоконник может быть снижен, так как при высоких подоконниках портится вид из окон.
Особенности окон в мансардах
Удобное и интересное решение – мансарда, жилое помещение на чердачном этаже здания. Оконные проемы на чердачном этаже стараются делать как можно большими, для увеличения освещенности. Однако существуют определенные ограничения, регламентирующие форму и размеры проемов для мансард.
На мансарде также оптимальна установка пластиковых оконных пакетов
Определяющие факторы мансардных окон:
- Угол наклона крыши. Чем угол наклона меньше, тем большее по высоте окно можно поставить. Ширину окна рассчитывают, опираясь на величину расстояния между стропилами крыши дома. Она не должна превышать эту величину на 5-6 см.
- Прочность конструкции. Значительные по размеру мансардные окна выглядят привлекательно, однако значительно снижают прочность конструкции. Площадь оконной створки не должна по размерам превышать 90 см². Превышение этой величины ведет к потере прочности всей конструкции.
Даже глухие мансардные окна нельзя делать больше 100 см², так как пластиковые стеклопакеты большего размера быстро деформируются и разрушаются под собственным весом.
В связи с особенностями геометрии помещения подоконники в мансардных окнах не ставят.
Остекление бань
Если раньше окна в банях не ставили совсем или делали их крошечными, с появлением новых материалов и техник тенденция остекления помещений бани вполне оправдана.
С появлением влагостойких материалов можно устанавливать окна в банях и саунах
Пластиковые и любые другие окна в бане в меньшей степени являются частью декора. Они помогают решить важные вопросы:
- возможность просушить баню (пол и стены) по окончании процедуры;
- с целью быстрого понижения температуры при необходимости;
- как дополнительный выход в случае пожара.
Для остекления проемов в банях используются специальные материалы.
В русских банях высокая температура и влажность. Поэтому оконные стеклопакеты изготавливают с применением закаленных стекол, с инфракрасным напылением на внутренней стороне, чтобы избежать потери тепла. Для оконных рам применяют специальный термостойкий материал.
Стандартных размеров оконных проемов для пластиковых окон в русских банях нет, а вот местоположение есть.
Два окошка располагают следующим образом:
- над полком – для возможности контролировать температуру и быстро проветрить помещение;
- под полком, невысоко над полом – для просушки деревянных панелей, предотвращения поражения грибком и гнили; используют в то время, когда баней не пользуются.
Исходя из назначения, пластиковые окна в русской бане делают обязательно открывающимися и без подоконников.
Стандарты производителей стеклопакетов
Производственные технологии металлопластиковых конструкций позволяют воспроизвести изделие практически любого размера и конфигурации, однако существуют определенные ограничения:
- для поворотных створок окон ПВХ высота должна быть больше ширины не менее чем вдвое;
- для откидных створок ширина должна быть больше высоты;
- глухие окна не могут быть больше 100 см², иначе стеклопакет ПВХ быстро деформируется и выходит из строя.
Изготовить стеклопакеты окон и дверей ПВХ, не соответствующие ГОСТу, несложно. Но заказывая нестандартные пластиковые окна и двери для дома, рекомендуется привлекать к замерам специалистов производителя, оговаривая высоту окна от пола. Необходимо учитывать, что стоимость нестандартных изделий ПВХ для дома значительно выше, чем изделий стандартного размера.
При заказе оконных и дверных стеклопакетов недостаточно учитывать только стандартные или нестандартные размеры проемов и их расположение от пола в доме. Сами стеклопакеты различаются по характеристикам и делятся на условные классы:
- эконом;
- средний;
- премиум и суперпремиум.
Современный рынок предлагает множество разновидностей стеклопакетов для ПВХ-окон
Стеклопакеты характеризуются такими критериями:
- количество камер – чем больше, тем лучше сохраняется тепло;
- монтажная глубина коробки;
- количество контуров утепления;
- дизайн фурнитуры;
- взломостойкость.
Наличие в доме стандартных проемов под окна или двери решит вопрос остекления более экономно, но нет гарантии, что не возникнет проблем во время монтажа. Поэтому следует все же вызвать мастера и провести замеры, включая высоту подоконника от пола в доме.
osobnyachkom.ru
Как правильно замерить пластиковое окно при самостоятельной установке

Вопрос, как замерять пластиковые окна, может стоять достаточно остро, особенно если вы планируете самостоятельно заменить конструкцию. Для этого можно нанять замерщика, но на самом деле провести процедуру измерения не так сложно. Для этого потребуется немного времени, терпения и элементарный инструмент, например, рулетка.
к содержанию ↑На что влияет точность замера?
Чем точнее удастся определить размер проема под пластиковое окно, тем проще будет установить конструкцию, будет меньше щелей и зазоров, которые в любом случае придется герметизировать. Отсутствие щелей обеспечит тепло в помещении, так как холодный воздух не сможет попасть с улицы через них.
При измерениях нужно учитывать, что новое окно может быть значительно шире старого деревянного. Его ширина зависит от количества стеклопакетов. Чем их больше, тем лучше конструкция изолирует холодных воздух.

С чего следует начинать?
Для того чтобы понять, как правильно снять размеры для пластиковых окон, можно не только прочитать статью, но и ознакомиться с различными видеоматериалами, где будет наглядно продемонстрированы все этапы работы. Начинать измерения следует с определения глубины оконного проема.
Глубина играет важную роль, так как, если заказанное окно окажется шире проема, исправить эту проблему будет нельзя, и придется заказывать новое окно. Установщик и изготовитель не несут ответственности за неправильно проведенные вами измерения. Стоит измерить все точно и несколько раз, любая неточность может привести к серьезным финансовым потерям.
Если компания, в которой вы собираетесь заказывать окно, предоставляет услуги замерщика, стоит ими воспользоваться. Обычно услуга предоставляется бесплатно; это существенно облегчит вашу задачу, так как будет прислан опытный специалист. Кроме того, если сотрудник фирмы проведет неправильные измерения, и конструкция по размеру не подойдет, ответственность за это будете нести не вы, и компания будет обязана заменить окно уже за свой счет.
Если все же вы хотите знать, как рассчитать размер пластикового окна по проему, и сделать это самостоятельно, проводить измерения придется как с внешней, так и с внутренней стороны оконного проема, только таким образом вы сможете определить его глубину.
к содержанию ↑Как измерить окно без четверти?
Четвертью называют выступ, который может находиться в оконном проеме с внешней стороны. Чаще всего он располагается с трех сторон: сверху и по бокам. Служит этот выступ для того, чтобы у оконной рамы не было возможности выпасть наружу.
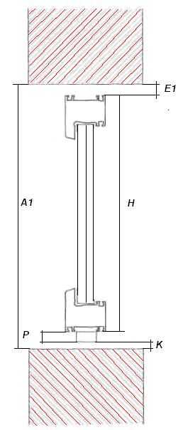
Определение ширины окна без четверти. L – размер для коробки оконных блоков; А – размеры для просвета оконных проемов; E – размеры для монтажных зазоров; Р – высота для подставочного профиля;
Четверти есть не во всех домах: там, где их нет, замер произвести легко, достаточно измерить проем от стенки до стенки или сверху вниз, отняв от полученной цифры примерно пять сантиметров (они потребуются для монтажного шва). Зазор нужно оставлять с каждой стороны не менее 2 см, делать его больше 4 см не рекомендуется.
Обратите внимание, что зазор по высоте несколько меньше и оставляют обычно около 3 см на сторону. Например, если в доме оконный проем без четверти, то при его ширине в 120 см, а высоте в 140 см можно прийти к выводу, что окно нужно не 112х134 см при условии, что вы оставляете максимально допустимый монтажный зазор.

Определение высоты окна без четверти L, H – размер для коробки оконных блоков; А1 – размеры для просвета оконных проемов; E1 – размеры для монтажных зазоров; Р – высота для подставочного профиля; К – размер для нижнего монтажного зазора
к содержанию ↑Измерение окна с четвертью
В этом случае измерения займут немного больше времени, так как придется делать поправку на размер четвертей, производить измерения придется как с внешней, так и с внутренней стороны оконного проема. Удобнее всего начинать от боковых стен. Чтобы не запутаться, дайте измеряемым сторонам буквенное обозначение: например, расстояние А от четвертей боковых стен друг до друга. Стандартное окно должно заходить на 1,5-2 см за наружные откосы. Получив нужное расстояние, прибавите к нему 5 см на каждую сторону. Таким образом вы получите исходную ширину проема; обозначим ее Ш.

Замер ширины окна
После того как вы измерили внешнюю сторону, нужно перейти к замерам внутренней стороны оконного проема. Нужно узнать, чему равна ширина между внутренними откосами, обозначим ее буквой Б. Потребуется узнать ширину подоконника, если он есть (В) при правильном подсчете расстояние должно быть меньше В, но больше Б.
Высота измеряется особым образом, назовем ее Г. Потребуется произвести измерение от верхней четверти до нижней части оконного проема. От полученного результата нужно отнять около 2 см (это зазор для монтажной пены), затем потребуется прибавить замер четверти, чаще всего это 1.5-2,5 см, в противном случае профиль не войдет на свое место. В расчет нужно брать и подставочный профиль, а это еще минус три сантиметра.
Нужно знать, какое расстояние между верхней стеной и подоконником, толщину самого подоконника. Значение Д является контрольным. Будущее окно не может быть больше этого значения. Если данные не совпадают, измерения придется провести еще раз.

Замер высоты окна
Некоторые оконные проемы могут быть перекошены. Это частая проблема старых домов; в этом случае придется учитывать разницу, возможно заказывать конструкцию с таким же перекосом. Произвести такие измерения самостоятельно довольно сложно. Рекомендуется обратиться в специализированную компанию, специалист которой сможет произвести расчет без ошибок.
к содержанию ↑Как определить ширину?
Зная, как правильно замерять пластиковые окна, вы сможете подобрать раму, хорошо соответствующую размеру, что позволит без проблем ее установить; ширина оконного проема играет важную роль. Нежелательно ее изменять, так как это дополнительные затраты времени, сил и денег. Следите за тем, чтобы будущая оконная конструкция уперлась в откосы. Зазор в этом случае должен быть минимальным, отмеряется обычно от стенки до стенки. Проверить нужно, соответствует ли верхняя часть оконного проема нижней и ее середине. Вполне возможны перекосы и в этой плоскости, если они есть, оконный проем рекомендуется выровнять, для этого используется цементный раствор или другие строительные смеси.

Снятие замеров по высоте
Обычно такие измерения не вызывают сложности. Для того чтобы провести их, потребуется измерить расстояние от верхней части оконного проема до нижней плоскости и отнять около двух сантиметров: они нужны для монтажной пены и возможности выровнять конструкцию в нужной плоскости. Стоит обратить внимание, имеются ли на окне четверти. Если они есть, измерения проводят от верхней кромки четверти, а не от самого проема, иначе рама не войдет, и четверти придется сбивать, что делать не рекомендуется.

Узнав, как замерять окна ПВХ, вы вполне сможете сделать это самостоятельно, однако, если у вас есть сомнения в точности расчетов, лучше пригласить профессионала.
oknanagoda.com
