Виды балясин. Балясины для деревянной лестницы. Монтаж своими руками — Стройфора
Необходимость в балясинах для лестниц частного дома понятна, ведь от безопасности и удобства лестниц зависит и безопасность всех жильцов. Нормативы к лестничным конструкциям составляют целый список, один из них — когда в доме растет молодое поколение, все конструкции ограждений, в том числе и лестничные, должны обеспечивать безопасность и минимальные зазоры между деталями, чтобы ребенок не мог просунуть голову через это ограждение, а лучше устанавливать сплошные ограждения. Кроме того, от балясин, их вида, материала и дизайна прямо зависит эстетика и лестниц, и интерьера в целом.
Виды и материал балясин
Балясины — это стоечные элементы в конструкциях лестниц, Форма, толщина, размеры, стиль и материалы для балясин могут быть самые разнообразные. Балясины — очень старинное «изобретение», не потерявшее актуальности и сегодня. Основное назначение балясин — защита, ряды балясин могут формировать балюстрады устанавливаться на фасаде чисто с декоративной целью, выполняя задачи гармонизации фасада с общем стилем здания. Балясины устанавливают не только на лестницах и ограждениях веранд и площадок крылец, но и под карнизы — для повышения устойчивости широких свесов. Для балюстрад и свесов крыш балясины могут быть очень внушительными. В 2018 году очень моден стиль барокко, а классические стили вневременны и модны всегда, и приметами этих стилей наряду с другими являются и балясины.

Бетон и гипс для балясин
Материал балясин очень разнообразен, в древности это был камень, бетон и глина, древесина, гипс и кирпич, с развитием технологий появились балясины из полимеров, в основном из полиуретана. Бетонные и гипсовые балясины производят по сходным технологиям. Стойки из бетона и гипса фигурные, исполнение в основном классическое, сфера применения для зданий — под карнизами плоской крыши, для ограждения балкона, террасы и лестницы, как внутренней, так и наружной. Балясины из бетона и гипса производят формовкой в единичном варианте или стразу секциями. Как правило, выполняется армирование стоек. Армокаркас закладывают в опалубку, затем заливают растворной или бетонной смесью. После распалубки готовые элементы шлифуют, если есть необходимость. Классика гипсовой балясины — вытянутая изящная ваза с узкими участками, перехваченными кольцами — такие стойки лестниц очень распространены в классических интерьерах, их стиль относят к одному из самых древних. Отливки можно окрашивать защитными составами, покрывать пропитками для защиты от неблагоприятных атмосферных условий, для использования на улице.

Отливка балясин в формах долгое время выполнялась отдельными деталями, с последующей установкой в нужной композиции. Сегодня конструкции ограждений собираются чаще из готовых секций, а не из отдельных деталей. При этом существуют и стандарты прямых, изогнутых под различными углами, полукруглых, криволинейных секций — для разных видов ограждений. Балкон, площадка или лестница монтируются со специально изготовленными по размерам секциями из ряда балясин — это точность, скорость монтажа и высокое качество. Но минус тоже есть — стоимость отливки с армокаркасом высокая. Кроме того, у элементов немалая масса, это обусловлено материалом, его плотностью и весом. Поэтому применение бетонных и гипсовых стоек в качестве балясин деревянной лестницы частного дома — крайне редкий вариант.
Балясины из камня
Ценные, дорогие и исключительные по надежности и долговечности балясины изготавливаются из натурального каменного материала методом вытачивания из цельного камня или каменных кусков с последующей тонкой ручной сборкой. Еще один метод — каменные балясины не из природного камня, а литые, из камня искусственного. Формовка и литье напоминает технологии бетона — тоже специальные формы со смазкой и растворные смеси. Компоненты — каменная крошка, песок, мелкофракционный гравий или щебень, пигменты, для армирования — как правило микрофибра, стеклянная или тонкая стальная.

Натуральные каменные стойки балясин красивы, долговечны, эстетичны и гармоничны в любом интерьере, но крайне дороги и имеют немалый вес, и для деревянных лестниц почти не используются. Основная сфера применения и натуральных каменных балясин, и искусственно-каменных, это лестницы наружные и фасады, имеющие облицовку аналогичным каменным материалом. Здание становится по-особому респектабельным с подобной отделкой. Но деревянная лестница слишком легкая для каменных балясин, и кроме того, сочетание камня и дерева в общей конструкции далеко не верх гармонии. Но плюс балясин из камня по сравнению с гипсовыми и бетонными — это разнообразие формы и стиля.
Балясины из металла
Металл для изготовления стоек балясин предполагает особые технологии — ковку, литье или сварку из отдельных элементов. Металлические стойки готовят чаще по отдельным заказам для строго определенного участка монтажа, при условии точных замеров и после расчета на нагрузки. Также необходимы эскизы и общий дизайн лестницы. Для широких и массивных деревянных лестниц кованые стойки подходят прекрасно и выглядят роскошно и эксклюзивно.
Балюстрада с металлическими балясинами возможна в качестве ограждающей конструкции для лестниц и площадок, веранд и для защиты окон, с одновременной декоративной функцией, причем стойки могут быть и кованые, и литые и с применением сварки. Форма балясин из металла может быть объемной и плоской, такие виды балясин до сих пор можно увидеть в зданиях прошлого века. Для деревянной лестницы отлично подходят балясины из металла в виде тонких деталей. При условии гармоничного сочетания и без избытка металла.

Балясины из полиуретана
Главное достоинство полиуретановых стоек — малый вес и недорогая цена. Форма может быть самая разнообразная. Качества современных полимеров позволяют изготавливать детали прочные и плотные, не боящиеся механического повреждения. Полиуретан гигиеничен, практичен, легок, а стойка из него может иметь сложнейшую форму, причем на цене это скажется незначительно. Внутри полиуретана, составляющего оболочку, имеется армирующий металл в виде стержня, придающий балясине массу и устойчивость. Выпуски стального стержня по торцам, отверстия или закладные детали для монтажных площадок крепления дают возможность для быстрого и качественного монтажа она основу и перила. Декор белого полиуретана можно выполнить под камень, металл и дерево, и применять данные стойки можно и для каменных и для деревянных лестниц, причем имитация будет вполне достоверная.

Балясины из дерева
Натуральное дерево для балясин — классическая примета стилей русской архитектуры. Формы стоек могут быть и плоскими рельефными и объемными. Для получения объемной детали требуется технология вытачивания и дерево-кругляк, прошедшее обработку, а плоский элемент можно выпиливать из доски, практически любых размеров по ширине и толщине. Крепление объемных и плоских балясин из дерева имеет значительные отличия. Фигурные столбики деревянных балясин на фасадах индивидуальных домов — не редкость. Балконные ограждения и веранды часто имеют деревянный декор, для выполнения которого своими руками необходимы инструменты, токарный станок для деревообработки и конечно, навыки. Плоскую балясину изготовить несколько проще, для этого достаточно электролобзика, но шлифовка займет немало времени, особенно если выбрана сложная форма.

При условии правильного изготовления и обработки деревянное ограждение служит ненамного меньше, чем каменное или отлитое из гипса. Для деревянных лестниц частных домов стойки балясин из дерева лучший вариант, поскольку сочетание веса и фактуры идеально, а возможности для дизайна позволяют осуществить любые фантазии хозяев.

Варианты крепежа балясин в конструкциях лестниц
Установка балясин возможна по тетивам лестниц или по краю поверхности ступенек. При крепеже на ступень требуется, чтобы размера в ширину ступеней было достаточно для монтажа, а верх стоек балясин подрезают с сохранением угла наклона пролета лестницы. При достаточной ширине тетивы лестницы балясины можно смонтировать и на тетиву, ни при этом потребуется точная подгонка-подрезка и для нижнего основания стоек, строго по углу наклона тетивы. Подрезка делается для деревянных балясин, а полиуретановые или металлические стойки требуют другого подхода. Как вариант под стойки обустраивают ступенчатые детали для выравнивания под линию уклона, горизонтальные поверхности подкладок под стойки балясин при этом параллельны полу.

Крепление деревянных балясин
Крепеж может осуществляться на ступеньки или на тетиву, крепежные элементы — шканты, шпильки, саморезы. На гвоздях подпорные стойки не фиксируют, такой крепеж один из самых ненадежных и никак не гарантирует безопасную эксплуатацию лестницы в дальнейшем. Лестница — конструкция, находящаяся под постоянной механической и вибрационной нагрузкой, а гладкий гвоздь слишком быстро расширяет отверстие, образованное забивкой в дерево. Расшатывание общей конструкции ограждения возможно очень быстро, что создает риск для использования лестницы.

Крепеж балясин на шпильках
Шпильки могут быть гладкие или резьбовые. При закреплении балясины на гладких шпильках сначала по торцам балясин делают разметку, чтобы центр отверстия совпадал с центром детали, потом засверливают на глубину до 8 см, диаметр 0,8 -1,0 см. Значения примерные, поскольку зависят и от размеров торцов балясин и от диаметров шпилек, но размер отверстия должен быть чуть больше размера шпильки — около 1 мм. Сверление делают с аккуратностью, не допуская трещины в достаточно тонкой деревянной детали. Как метод — меняют диаметр сверла с 5-мм до нужного размера.
Для плотной и прочной посадки шпильки отверстие заливают столярным клеем, а по концу шпильки примерно на длину 6 см делают обработку клеем, для плотности добавляют мелкие опилки. После подготовки шпильки ее вкручивают в подготовленный торец балясины, оставляя наружный выпуск около 8 см. Наплывы лишнего клея убирают, чтобы застыв этот клей не мешал монтажу и креплению стойки к ступени или тетиве лестницы.

В другом варианте крепежа применяют резьбовые шпильки, вкручивая их с обоих концов. Резьба шпилек на одном конце метрическая, с другого — шуруп. При креплении резьбовой шпилькой торец балясины также засверливают, но отверстие делают меньшим, чем резьба шпильки — на 1-3 мм. Перед тем, как вкрутить шпильку, гнездо заполняют столярным клеем, шпильку закручивают острием — шурупом. Чтобы вкрутить второй конец шпильки с метрической резьбой, наживляют одну, две или три контр-гайки, а крепеж делается при помощи торцевого ключа. При этом важно, чтобы шпилька одним концом прочно держалась в отверстии ступени или тетивы. Для этого в их поверхностях высверливают гнезда размером соответственно отверстиям по торцам балясин, а потом расширяют гнезда по месту и вклеивают гайки, выравнивая под основную поверхность. В эти гайки и вкручивают шпильку стойки балясины. На место установки балясину монтируют после того, как клеевой состав полностью просохнет.
Если балясины крепятся ко ступеням небольшой ширины, то поступают по другому — просверливают ступеньку насквозь и вставляют шпильку балясины в это отверстие. Шайбу и прижимную гайку надевают на резьбу шпильки снизу, под ступенью, предварительно промазав весь торец балясины клеевым составом. Шпилька может иметь различную резьбу — крупную шуруповидную или саморез, при этом монтировать стойки ограждений лестницы будет еще проще.
Готовые деревянные балясины можно приобрести с уже закрепленными в них шуруповидными шпильками. Для монтажа в этом случае нужна разметка и подготовка гнезд в конструкции лестницы, а затем выполняют крепеж.

Крепеж балясин деревянными шкантами
Простой и традиционный метод для установки элементов деревянной лестницы. Шканты покупают как мебельную фурнитуру, цена их небольшая, или делают своими руками. Кроме шкантов нужен столярный клей. Диаметры шкантов 0,8 -1,2 мм, длины 10-12 см. Чтобы установить шкант точно по центру в торце балясины, размечают и засверливают отверстие, превышающее размер шканта на 2 мм, на глубину половины длины крепежа. В залитое клеевым составом гнездо вставляют шкант, затем клею дают полностью просохнуть. Излишки клея, выступившие на торец, удаляют немедля. Вертикальность шканта очень важно соблюдать при вклеивании, или стойка балясины окажется не вертикальной, и все ограждение будет кривым.

Для крепления балясины на тетиву или ступеньку делают разметку строго по линии и засверливают отверстия для установки шкантов. После высыхания клея в гнездах шкантов торцы балясин еще раз промазывают тем же клеем, и заливают клей в отверстия в ступенях или тетиве. Установка шканта в отверстие должна быть плотной, с усилием, затем балясины фиксируют и выравнивают вместе со стойками по строительному уровню до того, как застынет клей.
Крепеж балясин на саморезах
Простая и доступная методика крепления балясин на тетиву или ступени — на длинные саморезы ( 8-10 см). После монтажа утопленные шляпки саморезов затирают шпаклевочным составом. Такой крепеж не совсем традиционный, но прочность и надежность конструкции обеспечивает. Саморезы вкручивают сквозь балясины наискосок в засверленные отверстия меньших диаметров. Верхние части отверстий зенкуют, эти уширения обеспечат шляпке метиза скрытое положение, а затем можно зашпаклевать составом под цвет древесины балясины. Но длина самореза не должна быть чрезмерной, чтобы не прошить крепежом поручень лестницы. Шляпки метизов аналогично заглубляют в раззенкованные гнезда и маскируют шпаклевкой.
При монтаже деревянной лестницы применяют столярный клей — и для установки балясин, и для подперильных планок и перил. самостоятельное строительство деревянной лестницы — сложный и ответственный процесс, включающий расчет, знание технологии монтажа и навыки.
stroyfora.ru
что это такое, формы из «нержавейки», размеры и изготовление для маршей лестниц, как изготовить своими руками

Люди, которые сталкивались со строительством двухэтажного дома или квартиры с выходом на лоджию, нередко задумывались о лестнице, способной придать интерьеру изысканность и чувство настоящей сказки. Часто для этого делают перила, которые можно украсить балясинами, делая тем самым лестницу и красивой, и безопасной.

Что это такое?
Балясины – это дополнительные архитектурные детали, украшающие интерьер. Также они служат дополнительной опорой для перил. Применялись такие элементы с давних пор как для создания опорной функции под перила, так и для художественного оформления архитектурного строения. Со временем эти конструкции начали использоваться для украшения фасадов домов.

Стандарты
Если предполагается, что балясины будут выполнять опорную функцию для лестницы, то необходимо соблюдать некоторые нормы в их изготовлении. Например, расстояние между соседними балясинами не должно превышать 150 мм, что особенно важно в тех местах помещения, где будут играть дети, ведь расположенные таким образом элементы декора обезопасят малышей от падения и просовывания головы между опорами. Высоту балясин стоит подбирать под перила – по нормам они не должны быть меньше 90 см.
Однако должны учитываться индивидуальные данные – если в доме проживают высокие люди, то стоит делать так, как будет удобно для них. В доме с детьми возможно устанавливать промежуточные перила под рост детей.
Вне зависимости от материала изготовления все балясины имеют следующие составные элементы:
- Основание. К нему относится часть стойки, которая прикрепляется на ступень или специальную балку, называемую подбалясенник. Часто эта часть балясины не имеет стандартного размера, чтобы при монтаже возможно было выбрать подходящую под перила высоту.
- Центральная часть. Выполняет как опорную функцию, так и декоративную.
- Опора перил – это часть балясины, которая прикрепляется непосредственно к периллам. Изготавливается с запасом для подгона по размеру.

Виды и формы
Балясины можно классифицировать по разным параметрам. По форме они бывают разными – все зависит от дизайнерской задумки и от общего интерьерного оформления помещения.
Самыми распространенными на рынке являются балясины круглой формы, но, помимо таких вариантов, встречаются и другие интересные решения:
- Плоские балясины. В сечении имеют форму узкого прямоугольника или эллипса. Они устанавливаются довольно близко друг к другу, образуя определенный орнамент, тем самым реализуя дизайнерскую задумку.
- Квадратные балясины.
- Балясины в виде спирали, римские витые и множество других необычных форм: веточки, животные, статуи.
Если предстоит выбрать формы балясин, то стоит обратить внимание на общий стиль помещения и предпочтения хозяина дома.
В зависимости от материала, из которого изготовлены балясины, бывают следующие варианты:
- пластиковые;
- бетонные;
- стеклянные;
- из нержавеющей стали;
- из искусственного или натурального камня;
- гипсовые;
- деревянные.
Возможно также сочетание некоторых материалов, которые гармонируют между собой.
Материалы
Каждый материал может проявить свои положительные стороны только при выполнении определенных эксплуатационных условий. Порой одну из главных ролей в выборе материала играет цена изделия и цель применения балясины – она может быть использована как на улице, так и в доме.
Из полиуретана
Пластиковые балясины появились на рынке недавно. Они считаются наиболее удобным и практичным решением для завершения интерьера. Если сравнить с другими видами, то такой вариант наиболее универсален в плане цены, прочности и срока службы.
Кроме того, такие конструкции не подвержены коррозии по сравнению с металлическими вариантами или гниению как, например, деревянные элементы. Столбы из полиуретана чаще используют в качестве декоративных деталей, так как для выполнения опорной функции они являются довольно слабыми. Применяется такая конструкция как внутри, так и снаружи дома.

Можно выделить некоторые особенности этого изделия:
- незначительный вес не нагружает общую конструкцию, в результате чего можно длительное время не беспокоиться о ремонте;
- прочность материала обеспечивает безопасность в использовании, поэтому можно применять их в тех домах, где живут маленькие дети;
- красивый внешний вид конструкции отлично дополнит интерьер;
- износостойкость как на открытых строениях (невосприимчивость к погодным условиям: сырости, прямым солнечным лучам, холодному воздуху), так и внутри дома, а также невосприимчивость к механическим повреждениям;
- уход за таким материалом достаточно прост и не требует дополнительных затрат.

Бетонные варианты
Они являются массивным, но очень привлекательным решением для наружного применения.Основные плюсы:
- материал не требует дополнительной обработки, то есть после покупки имеется возможность их установки;
- длительная служба – стоит один раз потратить небольшую сумму, чтобы потом забыть о расходах на дополнительный уход;
- внушительная стойкость к механическим нагрузкам;
- материал безопасен в эксплуатации;
- бетонные балясины устойчивы к воздействию влаги и разным погодным условиям.

Из отрицательных сторон можно отметить следующие позиции:
- если сравнивать с другими материалами, то бетон устойчив, но не настолько, как гранит;
- для установки потребуются дополнительные приспособления и посторонняя помощь из-за своего веса и массивности;
- внешний вид у натурального камня намного привлекательней, чем у бетонных балясин.
Стеклянные
Это изысканное решение, которое создает прекрасное чувство нахождения в ледовом замке. Балясины могут быть изготовлены как из монолитного стекла, так и с добавлением пузырьков воздуха. Само стекло может быть осветленным или цветным (бронзовое, серое). Чаще покупатели предпочитают изделия из прозрачного стекла, которые можно установить совместно со стеклянными перилами или любыми другими вариантами. Крепежи изготавливаются из «нержавейки» или хромированной латуни.
Один из немаловажных минусов стекла – это то, что оно плохо выдерживает нагрузку и механические воздействия, приводящие к царапинам.
Из искусственного или натурального камня
Чаще в качестве материала для изготовления такого варианта используют гранит или мрамор. Более устойчив гранит. Мраморные и гранитные балясины добавят великолепия в помещение и украсят любую лестницу. Они могут быть использованы как для опоры, так и в виде самостоятельной части интерьера. Если выбор остановился на балясинах из натурального камня, то стоит задуматься об индивидуальном дизайне и найти опытного мастера, который воплотит в жизнь мечту владельца жилья.Гранитные балясины отлично переносят перепады температур во внешней среде и необыкновенно долговечны, а ведь именно эти факты являются решающими в выборе материала.
Немаловажными плюсами являются следующие показатели:
- простота в уходе;
- неподверженность засорениям;
- устойчивость цвета даже при воздействии прямых солнечных лучей.
К минусам можно отнести значительную цену и чувствительность к химическим веществам (моющие средства не предназначены для натурального камня).
Также можно выбрать и перила из искусственного камня – они устойчивы к воздействию агрессивных веществ, что отличает их от натурального варианта.
Бюджетным вариантом является искусственный камень.
У этого материала намного больше палитр цветов, оттенков и узоров.
Преимущества такого материала:
- возможна имитация любого природного камня;
- доступная цена;
- богатый выбор фактуры и цветовой гаммы;
- замечательные эксплуатационные характеристики.
Минусы:
- искусственный камень довольно легко царапается, что особенно заметно на темных оттенках;
- некоторые виды по цене ничем не уступают натуральному камню (например, агломерат).
Гипсовые изделия
Они не только поддерживают перила, но и являются хорошим дизайнерским решением, которое создает загадочную атмосферу элегантной изысканности. Множество вариантов форм открывает большой мир фантазий в стилизации лестничных перил и балконных ограждений. Такие балясины можно изготовить самостоятельно, что не может не радовать, либо использовать специальные формы, купленные в магазине. Однако за такими конструкциями нужен специальный уход, так как влага хорошо проникает в гипс, повреждая его.
Акриловые варианты
Их можно сделать под заказ с любыми размерами и формами. Несмотря на свой небольшой вес, они довольно хорошо выполняют свою функцию в качестве опор под перила. Акрил прочнее в несколько раз, чем само стекло при той же толщине, а за счет прозрачности может и вовсе его заменить. В то же время у акрила больше срок службы. За счет новых технологий можно изготовить акриловые балясины с применением светодиодной подсветки, которая добавит неповторимость и будет прекрасно заменять обычное освещение, что обеспечит безопасный спуск по лестнице в темное время суток.

Простота в монтаже и уходе, а также ценовая политика порадуют потребителя. Однако у такого материала имеются и недостатки: акрил больше подвержен царапинам, что приведет к порче внешнего вида, но это легко исправляется с помощью полировки.
Кроме всего вышесказанного, акриловые балясины отлично сочетаются с другими материалами и взаимодополняют друг друга. Они отлично впишутся в помещение и придадут элегантность самому обычному дизайну.

Деревянные
Можно точно сказать, что такой вариант является самым распространенным материалом для изготовления балясин. Отлично подходит для деревянной лестницы в стиле кантри. Материал довольно легко поддается обработке, в результате чего можно получить любую форму с красивой резьбой. Необходимо помнить, что дерево требует ухода и не очень хорошо выдерживает перепады температур.
В зависимости от использованного материала деревянные балясины бывают:
- Из лиственницы. Это хвойное дерево устойчиво к смене температуры и гниению. Является довольно прочным материалом и уступает только дубу.
- Из бука. При воздействии на древесину паром хорошо гнется – это дает возможность для создания необходимой формы. На открытом воздухе такой материал недолговечен, поэтому используется только внутри помещений.
- Из дуба. Практичность, прочность и долговечность – это основные плюсы такого материала. Древесина характеризуется высокой износостойкостью, устойчивостью к загниванию. Материал имеет темно- либо светло-коричневую окраску, прекрасно смотрится в обработке лаком по дереву. Плотная структура дуба позволяет выполнить самые мелкие детали на материале.
- Ясеневые балясины. Древесина по внешнему виду сходна с дубом, но по сравнению с ним ясень менее твердый. Материал обладает красивой текстурой, устойчив к влаге и гниению, его можно использовать на открытых местах. Имеет желтоватый цвет с темно-светлыми полосами. За счет своей гибкости его можно применять для образования округлых балясин.
- Из березы. Такой вариант редко используют по сравнению с предыдущими материалами по причине предрасположенности к гниению, появлению трещин и сильной усушке. Но при этом береза прекрасно поддается обработке и окрашиванию. За счет специальных красящих средств можно придать березе любой цветовой формат.
- Сосна. Этот материал относится к мягкой породе дерева, что позволяет его подвергать обработке. Древесина невосприимчива к перепадам температур внешней среды и довольно стойка к грибковым поражениям. Цвет древесины в желтоватой гамме. Из-за своей неравномерной пористости прокрашивается по-разному, что может создать впечатление неровности структуры. Можно использовать любой вид древесины, но предпочтение стоит отдать твердым породам.
Деревянные балясины изготавливаются по трем основным технологиям:
- точечные балясины – выполняются на токарном станке;
- фрезерованные – на таких стойках есть нарезки в виде винта, косы и других элементов;
- резные – присутствуют элементы резьбы.
Особенности конструкции заключаются в постоянном уходе за материалом, если она устанавливается на улице. Необходимо постоянно ее подкрашивать и постукивать для укрепления контакта между деталями.
Из металла
Материал универсален по отношению к механическим повреждениям. Конструкции, выполненные из этого материала, отлично выполняют свою опорную функцию. По методу изготовления балясины бывают нескольких видов:
- Цилиндрическими или квадратными прутами. Такие варианты изготовления часто можно встретить в старых многоэтажках. На сегодняшний день многие владельцы жилья отказываются от такого вида конструкций.
- Кованые балясины. Отлично подходят для помещений в стиле барокко, готика и других направлений. Можно комбинировать с некоторыми материалами.
- Литые балясины долговечны и универсальны. Этот вариант дешевле, чем предыдущий.
По сравнению с деревянными вариантами эти конструкции имеют некоторые преимущества: долговечность, простота в обслуживании (хорошо поддаются реставрации), широкий спектр применения – могут использоваться как на улице, так и в доме.
Металлические балясины, как и перила, могут быть использованы не только на лестнице, но и на террасе, балконах и других частях здания. В зависимости от используемого металла балясины могут быть выполнены из различных материалов.
Из нержавеющей стали
Используются как отдельно стоящие конструкции, окруженные стеклом или деревом. Такой материал дает возможность на реализацию самых смелых дизайнерских решений. Стойкость такой конструкции зависит от самого устройства перил. В настоящее время существует множество разновидностей прекрасных и стильных балясин.
К преимуществам такого материала относятся следующие позиции:
- Высокие антикоррозийные показатели. Хромированные балясины подходят для тех помещений, где изменчива температура и повышена влажность.
- Прочность. За счет своей прочности можно изготовить довольно эстетичные детали, которые будут смотреться достаточно легко, придавая ощущение воздушности.
- Простота изготовления.
Из минусов можно выделить высокую цену изделия.

Чугун
К преимуществам материала следует отнести следующие позиции:
- Функциональность. Балясины из чугуна отлично сочетаются с лестницами из любого материала, например, такого, как древесина или металл.
- Долговечность. За счет такого качества металл долго не теряет своих физических и эстетических свойств в течение очень продолжительного времени. Выбрав один раз этот материал, можно надолго забыть о его смене.
Не все лестницы смогут выдержать балясины из этого материала, так как чугун является очень тяжелым металлом.

Размеры
Балясины не выполняют несущую функцию, поэтому их толщина, площадь и размер не имеют значения, так как самую важную роль играет само расстояние между элементами. В основном производители выпускают балясины высотой 900 мм, часто с возможностью регулировки высоты. При строительстве лестниц в частном доме размер может достигать и 120 см – это обезопасит от падения детей.
Для маленьких непосед могут быть установлены дополнительные поручни. Каждую балясину необходимо крепить как наверху, так и внизу. Самую большую нагрузку берут на себя верхние и нижние опоры балясин, поэтому они должны быть установлены правильно. Элементы обычно устанавливаются на прямое основание, к которому они прикрепляются при помощи различных фиксаторов.

Изготовление своими руками
Процесс создания балясин своими руками непрост и требует определенных знаний и соблюдения правил. Для того чтобы изготовить стойки для лестницы, нужно изначально определиться с материалом. Затем стоит задуматься над формой будущей конструкции и сделать ее чертеж.
Однако если нет доверия фантазии или необходимо найти именно то, что подойдет для конкретного дизайна, стоит посмотреть красивые варианты в интернете – там уж точно найдется вариант по душе. Ну а если нет желания делать макет дома, то следует купить в магазине специальное приспособление, в которое можно заливать бетон или гипс для балясин. После проектирования изделия и выбора материала можно начинать работу.
Если выбор остановился на древесине, то стоит выбирать твердые сорта, так как они более устойчивы к влаге, тем самым прослужат довольно долго. Также нужно обратить внимание, чтобы на древесине не было трещин, сучков и прочих дефектов. Конечно, если ранее не было опыта работы по дереву, то лучше брать более экономный вариант: сосну или березу.

Расчет и монтаж
Перед тем как изготовить балясины, стоит произвести замеры высоты будущих перил – рекомендованная высота варьируется в пределах от 0,7 до 1 м. Если в доме проживают высокие люди, то размеры могут быть изменены.
Затем необходимо определить расстояние между стойками – не стоит ставить на первый план затраты на материалы, ведь куда важнее безопасность. В этом случае рекомендуется расстояние не больше 150 мм – от этого зависит количество стоек. Высоту балясин можно рассчитать как разность между общей высотой перил и толщиной поручня. В основном их высота колеблется в пределах от 65 см до 100 см.
Ниже представлены два варианта изготовления балясин: из дерева и гипса.

Дерево
Для создания фигур необходимы резцы по дереву, каждый из которых имеет свое назначение. К примеру, рейер используется для вытачивания сводов, майсель создает шарообразные детали, а штихель – конусообразные. Необходим также станок, на котором будет вытачиваться балясина.
Для работы на нем стоит соблюдать определенную последовательность:
- Фиксация деревянной заготовки на станке происходит строго по центру.
- Чтобы придать заготовке округлую форму, ее предварительно обтачивают полукруглой стамеской с дальнейшей чисткой рейером.
- Самая интересная часть – это производство фигурных деталей. Тут стоит опираться только на свои предпочтения и следовать чертежу. Вытачивание деталей возможно рейером, но здесь нужно понимать, что сила надавливания должна быть одинаковой, ведь от этого зависит глубина. Если есть желание упростить свою работу, то можно делать фигурки фрезером – так они получатся более ровными и одинаковыми. Но фрезер менее гибок в движениях и, как результат, получаются более прямолинейные линии.
- После этого можно приступать к шлифовке и полировке.
- Завершающий этап работы – обработка столбика специальными средствами: лаком, краской, морилкой и другими веществами.
Часто деревянные балясины могут быть плоскими. Чтобы изготовить их в домашних условиях, необходимо заготовить шаблон нужного размера с требуемым орнаментом и выполнить эскиз. Рисунок наносится на заготовку и выпиливается лобзиком по контуру. После этого следует выпилить орнамент, все узоры обтачиваются, выполняются более симметричными и гладкими.

Гипс
Гипсовые элементы могут быть изготовлены двумя основными способами:
- С помощью специальных форм для отливки, которые продаются в специализированных магазинах. Их нужно искать в отделе ландшафтного дизайна.
- С помощью шаблонов, изготовленных самостоятельно. Для этого понадобится определенный набор необходимых инструментов. К ним можно отнести профильные трубы, которые выступают в качестве металлической емкости для отливки, силикон (каучук), древесина и токарный станок.
Самый простой вариант – это купить шаблон в магазине, но он может не соответствовать желаниям хозяина дома. После того как шаблон выбран, нужно приготовить гипсовый состав до сметанообразной консистенции. Две половины шаблона соединяют между собой и скрепляют таким образом, чтобы не было зазоров.
Для того чтобы залить готовую смесь, в верхней части шаблона делают отверстие. В образовавшийся канал наливают готовую гипсовую заливку. Залитая форма выдерживается в течение двух часов, и потом вынимается готовое изделие, которое оставляют на сутки до полного высыхания. После этого его можно доработать, если наблюдаются неточности во внешнем виде.

Установка
Один из главных этапов – это монтаж балясин, ведь от того, как будут они установлены, зависит безопасность эксплуатации лестницы. Стоит помнить, что на поручни могут облокачиваться, поэтому необходимо зафиксировать лестницу прочно.
Установка деревянных балясин может быть выполнена к следующим элементам лестницы:
- на лестничную площадку – для этого необходимо сделать отверстия строго по центру;
- на ступень;
- на тетиву или на косоур.
Проще всего устанавливаются балясины самостоятельно на площадку лестницы или ступени. Если брать крепление в первом варианте, то оно осуществляется на подбалясенник с помощью шпилек.
Монтаж на ступени можно выполнить следующими способами:
- на стальные шпильки – стоит выбирать оцинкованные изделия длиной около 10 см с толщиной в пределах 8 мм;
- на саморезы – довольно надежный и долговечный материал;
- на шканты – это округлые деревянные шипы.
Выполнять монтаж на гвозди не рекомендуется – это связано с тем, что детали могут расходиться и тем самым не обеспечат конструкции достаточной прочности. За счет расхождения деталей будет скрип, что вызовет дискомфорт и неприятные ощущения от хождения по лестнице. Для крепления балясин из дерева необходимо соблюдать некоторые правила, которые сделают конструкцию безопасной. Некоторые из них уже были описаны выше. Стоит только добавить, что в самом начале и в конце лестницы, а также на углах площадки необходимо устанавливать столбы.
Если деревянные балясины плоские, то перед установкой их можно склеить между собой для создания задуманного рисунка. После их соединения монтируется поручень.
Покраска
Для увеличения срока службы изделия необходимо обработать все поверхности. Этот этап необходимо начинать от доски для перил, постепенно опускаясь к нижним элементам.
Все деревянные элементы могут быть покрыты лаком. После этого следует покрасить конструкцию краской. Самым распространенным цветом является белый, но можно использовать и любой другой цвет, который подойдет для дизайна интерьера.
Чтобы защитить гипсовые балясины от повреждений и придать им декоративный вид, изделия стоит обработать защитным слоем лака или влагозащитным средством.

Красивые примеры
Резные столбы из дерева подчеркнут статус жильцов дома и гармонично впишутся в любой интерьер.

Балясины из мрамора и гранита дают понять любому гостю, что в этом доме живет человек, знающий толк в строительстве.

Как сделать римскую балясину, вы узнаете в следующем видео.
stroy-podskazka.ru
Балясины из дерева своими руками: как сделать, чертежи, видео
Содержание статьи
Виды балясин
Балясины могут иметь различную форму и размеры. Различают опоры: круглые, квадратные и плоские. Круглые опоры представляют собой столбики разных размеров с резной или гладкой поверхностью. Наиболее распространённое сечение изделий цилиндрической формы — 2,5-4 см. Большинство квадратных опор выпускаются с таким же сечением. На рёбра их боковых поверхностей наносят декоративные углубления.

Квадратные балясины
Плоские балясины украшаются сквозными орнаментами. Этот вид изделий проще всего изготавливать своими руками. Для их производства достаточно иметь лобзик и наждачную бумагу для шлифовки древесины. В зависимости от способа изготовления различают балясины:
- точёные;

Точеные балясины из дерева
- фрезерованные;

Фрезерованные балясины изготавливают из твердых пород дерева с помощью фрезеровочного станка
- резные.

Резные балясины
Точёные и фрезерные изделия имеют изящный внешний вид. Они наиболее востребованы в деревянном домостроении. По форме балясины делятся на:
- круглые;
- квадратные;
- плоские.
Последний вид опор, чаще всего, используют при устройстве ограждения беседок, террас, крылечек. Делают эти изделия из деревянной доски или фанеры. Узоры на поверхности плоских балясин представляют собой сквозные вырезы по типу резных наличников. Балясины промышленного производства выпускаются в соответствии с требованиями действующих стандартов, которые определяют классификацию изделий по сортам.

Плоские резные балясины
Таблица. Классификация балясин (ГОСТ)
| Сорт | Характеристика |
|---|---|
| А | Балясины категории А относятся к высшему сорту. Они должны иметь однородную текстуру и цвет. Допускаются здоровые сучки и трещины не более 5 мм |
| B | Балясины категории В относятся к первому сорту. Имеют частичный подбор текстуры и цвета. У изделий тёмные оттенки тонировки. Допускаются перепады окраски, разнородность отличия текстуры, глазки и здоровые сучки |
| C | Балясина сорта С относятся ко второму сорту. Стандарт допускает различия изделий по текстуре и цвету. Балясины могут иметь темные сучки небольшого размера и фрагменты заболонной древесины. Стандарт разрешает шпаклевать на этапе изготовления изделий трещины |
По стоимости балясины подразделяются на классы:
- «эконом плюс»;
- «престиж».
Опоры категории «эконом плюс» имеют более низкое качество и скромный дизайн. Чаще всего их приобретают для обустройства дач. Загородные дома оснащают изделиями класса «престиж». После фрезеровки они дополнительно прорабатываются вручную и шлифуются. Стоимость опор категории «престиж» значительно выше балясин «эконом плюс», но их высокое качество обеспечивает им устойчивый спрос.

Балясины категории «престиж»
Как правильно выбирать балясины?
При выборе опор для ограждений различной конструкции руководствуются различными факторами. В их числе:
- внешний вид;
- стоимость;
- размер;
- материал исполнения.
При заказе устройства ограждений специализированным организациям они изготавливают элементы конструкций из древесины одной породы. Такого же принципа необходимо придерживаться при самостоятельном монтаже ограждений. Нельзя устанавливать балясины из дуба, а перила — из ольхи или лиственницы. Приобретаемые изделия должны иметь правильные геометрические размеры. У них не должно быть:
- дефектов;
- деформации;
- синевы на поверхности;
- пустот внутри.
Не стоит покупать изделия с выпавшими сучками или сделанные из сырой древесины.
Цены на различные виды балясин
Балясины
Технология изготовления деревянных балясин
Древесина прекрасно поддаётся обработке. Это позволяет наносить на поверхность балясин-заготовок узоры различного типа и сложности. Мастера создают опоры, подходящие под интерьеры от модерна до хай-тека. Работы начинаются с разработки эскиза изделия. После его утверждения составляется чертёж с указанием всех размеров, включая изгибы и срезы. Перед тем, как приступить к изготовлению опоры, на заготовку переносятся обозначенные на чертеже размеры и делаются метки. Каждой из них присваивается номер. Для вырезания декоративных деталей требуются резцы различной формы.

Резцы для вырезания декоративных элементов на балясинах
Опоры круглой формы изготавливают методом вращения. По такому принципу устроена работа токарных станков. Они приспособлены под обработку болванок, сделанных из различных пород древесины. В токарном станке заготовка фиксируется в шпиндельной бабке. Она вращается с заданной скоростью вокруг своей оси. Орнамент на поверхность наносится жёстко закреплённым суппортом резца. Положение инструмента регулируют с помощью подвижных салазок. Они могут передвигаться вручную или автоматически. От положения резца зависит тип наносимого на поверхность болванки орнамента.
На фрезерных станках вращающийся шпиндель служит для закрепления фрезы. К ней с помощью суппорта подаётся неподвижная заготовка. Промышленностью выпускаются универсальные станки, сочетающие в себе токарные и фрезерные функции. На них изготавливают изделия со сложными орнаментами. При отсутствии универсального оборудования с ЧПУ трудные для вырезки узоры делают на последовательно используемых токарных и фрезерных станках.

Изготовление балясины на станке с ЧПУ
После нанесения узора на поверхность изделий они проходят финишную обработку. Сначала опоры шлифуют ручным или машинным способом, а затем полируют. Подготовленные таким образом изделия можно покрывать древесным лаком или краской.
Узнайте, как состарить дерево своими руками, а также ознакомьтесь со способами состаривания и ошибками при работе, в специальной статье на нашем портале.
Видео — Как самому сделать балясины римского типа?
Требования к материалу для балясины
Каждый вид древесины имеет свои технические характеристики. Дуб или ясень по-разному реагируют на перепады температур и влажность воздуха окружающей среды. Существующие породы деревьев подразделяются на мягкие и твёрдые. У них разная степень жёсткости, что оказывает влияние на:
- способы обработки материала;
- срок эксплуатации;
- место установки.

Балясины и ступени должны быть изготовлены из одной породы дерева
Выбор вида материала определяется его доступностью, востребованностью изготовленной из него продукции, а также условиями её последующей эксплуатации. Устанавливаемые на лестницы балясины должны быть изготовлены из того же вида древесины, что и ступени с перилами. Одинаковые технические характеристики всех элементов конструкции является обязательным условием их изготовления. Это позволяет избежать деформации изделий при эксплуатации. Чаще всего опоры делают из сосны. Материал имеет привлекательный внешний вид. Стоимость сосновых балясин является одной из наиболее низких.

Опоры из сосны
Среди достоинств сосны: податливость обработки, малый вес, устойчивость к перепадам температур. Изготовленные из неё опоры можно использовать для устройства наружных ограждений. Среди других применяемых в производстве видов древесины:
- Лиственница. Твёрдая порода дерева не подвержена гниению, отличается повышенной прочностью и долговечностью. Изготовленные из лиственницы изделия устанавливаются во внутренних и наружных ограждающих конструкциях.

Балясины из лиственницы
- Дуб. Древесина относится к ценным породам. Она имеет красивую текстуру, обладает повышенной прочностью. Несмотря на это, дуб достаточно пластичен. Используют его, чаще всего, для производства лестниц категории «премиум» или «престиж». Выполненные из дуба конструкции прекрасно переносят воздействия окружающей среды и имеют художественную ценность.

Балясины из дуба
- Ясень. Вырубка деревьев этих пород в России строго ограничена. Это придаёт изделиям из ясеня дополнительную ценность. Порода не уступает дубу в пластичности, имеет хорошую прочность. Спектр оттенков древесины от розоватого до бурого. В числе недостатков ясеня — чувствительность к повышенной влажности и сложность в полировке.

Резные балясины из ясеня
- Бук. Лёгкая в обработке порода, хорошо поддающаяся шлифовке и тонировке. Изделия из бука отличаются изяществом. Материал позволяет наносить на его поверхность сложные орнаменты. Из-за повышенной чувствительности к влаге изделия из бука используются только для обустройства внутренних помещений.
- Ольха. Древесина идеально подходит для столярной обработки. Недостатком изделий из ольхи является быстрое потемнение их поверхности при соприкосновении с воздухом. Избежать этого можно с помощью полировки опор. Устанавливают ольховые балясины только в сухих помещениях.
Используемые для производства опор заготовки должны иметь влажность не более 14%. На заготовках не допускаются:
- деформация;
- сколы;
- мёртвые сучки;
- трещины более 1 мм;
- загрязнения поверхности.
Большинство производителей делают болванки из сухого сращенного материала. В нём полностью отсутствуют сучки, что значительно улучшает эстетический вид готовых изделий.

Заготовка для балясины из лиственницы
Плоские балясины: пошаговая инструкция
Плоские опоры проще всего делать самостоятельно. Для их производства не требуется сложного оборудования. Умело сделанные опоры имеют привлекательный вид. Они могут украсить любой интерьер.
Шаг 1. Первый этап работ посвящён подготовки необходимых для изготовления балясин материалов и инструментов: лобзика, бумаги, маркера, ножниц, линейки, наждачной бумаги или шлифовальной машинки, сухих досок или фанеры.

Лобзик электрический
Цены на популярные модели электролобзиков
Электролобзик
Шаг 2. На втором этапе разрабатывается эскиз будущей опоры. Для этого на бумагу наносят полный размер контуров изделия и узоров. После этого по нанесённым на бумагу размерам вырезается шаблон опоры.

Трафареты
Шаг 3. Третий этап посвящен наложению трафарета на заготовку, нанесению на неё контуров будущего изделия и вырезанию по ним лобзиком опоры.

Вырезанные лобзиком плоские балясины
Шаг 4. На четвёртом этапе работ проводится обработка поверхности изделий. Для этих целей используют наждачную бумагу или шлифовальную машину.
Цены на популярные модели шлифмашинок
Шлифмашинки

Шлифование деревянной заготовки наждачным кругом
Шаг 5. Для продления срока службы изделий, их поверхность обрабатывают антисептиком. После его высыхания опоры покрывают древесным лаком. Это улучшает их эстетический вид.

Особенности лакировки лестницы
Узнайте, как сделать деревянную столешницу под раковину в ванную своими руками, в специальной статье на нашем портале.
Крепление опор: варианты
При выборе крепления опор ограждающих конструкций учитывается различные факторы:
- порода древесины;
- размер и форма изделий;
- конструкция ограждения.
Профессиональные мастера, чаще всего, используют для крепления объёмных опор деревянные шпильки или шканты. Рекомендуется не делать их диаметр больше 1/4 от диаметра основания балясины. Это может привести к расколу изделия.

Схема крепления ограждения
Согласно требованиям действующих СНиП, ограждения устраиваются на лестницах, имеющих более 5 ступеней. Минимальное расстояние между опорами — 10-15 см. Верхняя часть опор крепится к поручням. Способ фиксации нижней части балясин зависит от типа конструкции. Они могут соединятся:
- со ступенями;
- тетивой или косоуром;
- лестничной площадкой.
Не допускается использовать для соединения элементов конструкции гвозди. В ходе эксплуатации они быстро расшатываются. Это приводит к потере прочности и разбалансировки ограждения. При крепеже балясин на узкую тетиву, на неё накладывается специальная доска большей ширина. Она служит нижней опорой балясины.

Элементы конструкции лестницы
Неправильно установленные и плохо закреплённые опоры делают эксплуатацию лестницы опасной. Наиболее прочное крепление должны иметь опорные стойки. Между ними с равными интервалами устанавливаются промежуточные балясины. При креплении опор к тетиве их основание и верхняя часть подрезаются на угол уклона, который имеет лестничный пролёт.
Крепление опор шкантами
Процесс крепления начинается с разметки места сверления отверстий под установку шкантов. Оно располагается точно по центру основания балясины. Глубина отверстия равна 1/2 длине вставляемого в него шканта. Крепость соединения элементов конструкции повышают с помощью столярного клея. Им заполняют отверстие перед установкой шканта.

Схема крепления конструкции шкантом
Углубления просверливают в 2 этапа. Начинают с отверстия диаметром 5 мм, а затем его постепенно расширяют, меняя свёрла различного диаметра. Шкант не должен полностью входить в отверстие. Длина наружных концов крепежа должна быть не менее 5,5-6 см. Перед установкой в основание лестницы их смазывают клеем и обсыпают мелкими опилками. Это повышает прочность сцепления элементов конструкции.
Крепление опор металлической шпилькой
Один конец крепежа должен иметь винтовую резьбу, другой — резьбу под гайку. Глубина отверстия под шпильку в основании зависит от длины крепежа. Обычно она составляет от 10 до 20 см. Сначала дрелью в центре основания опоры делают углубление 1-2 мм. После этого в него начинают ввинчивать крепёж. Торчащие из опор концы шпилек вставляют в просверленные насквозь отверстия ступеней, после чего на них надевают гайку с шайбой, которые закручивают до упора.

Схема расположения крепежа
Узнайте, как сделать люк на чердак с лестницей своими руками, а также ознакомьтесь с пошаговой инструкцией, в специальной статье на нашем портале.
Крепление опор саморезами
Самый простой и быстрый способ крепления. Саморезы обеспечивают прочность соединения элементов, но имеют один большой недостаток — после монтажа конструкции видны их шляпки. Это портит эстетический вид лестницы. Подобный вид крепления широко используется для соединения плоских балясин при устройстве беседок, ограждений крылечек.
Видео — Монтаж балясин: инструкция
remont-book.com
Размеры балясины для лестниц из дерева
Изготовление балясин из дерева своими руками
Работы по изготовлению балясин из дерева своими руками под силу далеко не каждому. Такой важный не только в техническом, но и эстетическом плане элемент имеет множество вариаций. Чтобы сделать идеальное изделие, необходимо ознакомиться с конструкционными особенностями этой детали, используемыми материалами и способами непосредственно самого изготовления.
Особенности и виды изделий

Балясины — это в первую очередь безопасность
Балясина представляет собой одну из основных деталей ограждения для лестницы. Именно на этих элементах и держаться перила. Они выполняют сразу несколько функций:
- обеспечение безопасности передвижения;
- крепление перил и поручней;
- придание лестнице декоративного внешнего вида.
Если вы конструируете лестницу, у вас есть два варианта: приобрести готовые балясины либо же сделать их своими руками. При этом доступны такие материалы, как дерево и металл.
Размеры балясин из дерева определяются таким образом, чтобы перила находились на установленной стандартами высоте. На подпил и корректировку уровня оставляют запас по обеим сторонам.
Балясину условно можно разделить на три части:
- Основание – низ детали, место фиксации к полу или ступеням.
- Тело – центральная часть с фигурными элементами.
- Опорная часть – служит для закрепления перил.
Размеры каждой части могут варьироваться в зависимости от дизайна. Различают такие виды:

Деревянные балясины могут быть самых разных форм
Самые простые – плоские и точеные. Фрезерованные содержат сложные декоративные элементы, а резные балясины основаны на резьбе по дереву. Дополнительно может использоваться металл для креплений и украшения.
Чтобы подготовить чертежи, нужно определить высоту будущего ограждения, обычно это значение колеблется в пределах 80-100 см. На бумагу наносятся крайние отметки, а затем прорисовывается форма будущего изделия. Для удобства работы со станком при изготовлении точеных моделей рекомендуется заготовить шаблон и распределить заранее, какие насадки должны использоваться на том или ином отрезке.
При проектировании следует учитывать также расстояние между фрагментами ограждения. От этого во многом зависит дизайн балясин, ведь в конечном виде после монтажа заграждения и перил между столбиками должно оставаться свободное пространство в пределах 10-30 см, в зависимости от типа лестницы и места её установки. Фигура, образующаяся в просветах тоже должна выглядеть эстетично и не создавать дисгармонии в общей композиции.
Подбор материала
Для того чтобы сделать своими руками деревянные балясины, лучше всего использовать лиственные породы дерева с запасом прочности. К таким относятся прежде всего:
А вот деревянные балясины из сосны обладают меньшими показателями прочности, но с таким материалом гораздо проще работать. Из сосны и ели можно сделать плоские модели или простые точеные, а для укрепления несущих деталей использовать металл.

Лестницы из березы долговечны и надежны
Вообще, сочетание в балясинах таких материалов, как металл и дерево – довольно распространенная тенденция. Металл может выполнять функцию крепежа, защиты от влаги и повреждений в нижней части столбиков. Особенно часто такой прием используется для уличных конструкций. Также металл применяют для декора простых изделий. Заранее рассмотрите подобные варианты перед тем, как разрабатывать чертежи и приступать к изготовлению балясин.
Изготовление плоских деталей
Для того чтобы своими руками сделать из дерева плоские балясины, вам понадобятся доски нужной толщины и лекала. Суть процесса состоит в том, чтобы по заранее подготовленным чертежам балясин вырезать из дерева соответствующие детали. Для этого используют электролобзик.
Для удобства проведения работ нужно перенести на заготовку контуры будущего изделия. Можно наклеить сверху непосредственно само лекало. После того как вы выпилите все формы необходимо отшлифовать поверхность. Снимается тонкий слой древесины, стачиваются все углы, создаются гладкие и аккуратные закругления. Своими руками шлифовать плоские балясины лучше всего с помощью специального инструмента или насадки на шуруповерт.

Простые по форме балясины можно изготовить своими руками даже без особых столярных навыков
Объемные элементы
Изготовить своими руками объемные балясины гораздо труднее, нежели плоские. Здесь уже потребуется более профессиональное оборудование, резьба и чертежи. Самый примитивный вариант – разрезать балку с круглым или квадратным сечением на фрагменты необходимой длины. Более прогрессивный вариант – точеные модели. Для них можно использовать ручной фрезеровочный станок или обычную дрель. Последнюю нужно закрепить в устойчивом положении таким образом, чтобы насадка фиксировалась снизу и к ней обеспечивался нормальный доступ. При этом металл для насадок должен быть качественным и не перегреваться.
На станке для вытачивания каждого отдельного элемента используется своя насадка той или иной формы и размера.
Чтобы изготовить большое количество деревянных балясин своими руками, вряд ли удастся обойтись таким самодельным приспособлением. Требуется наличие станка для изготовления. Современные модели такого инструмента основаны на компьютеризированном контроле. Это позволяет создавать сложные фигуры, фрезеровки и целые композиции. Именно на них выполняется резьба балясин из дерева.
При желании своими руками можно сделать деревянные балясины любого типа. Но если вам дорого ваше время, рационально соотносите ваши возможности и желания.
Проектирование лестничных балясин
Для лестницы из дерева гармоничным дополнением будет ряд балясин из той же породы древесины. Строительный рынок представляет немало оригинальных моделей, и сделать выбор между ними нелегко. При наличии оборудования, необходимых навыков и желания потрудиться можно обустроить балюстраду самостоятельно. Но перед началом работы над точеными балясинами необходимо выполнить подробные чертежи и определить расстояние между элементами.
С чего начать изготовление балясин
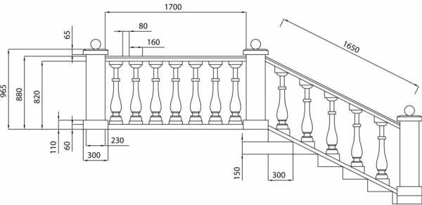
Изготовлению балясин предшествует расчет параметров лестницы. От ее размеров будет зависеть, сколько деталей понадобиться и какого размера они будут. Оптимальная высота балясины для удобного ограждения находится в рамках 650-1000 мм, стандартные изделия имеют высоту 900 мм. Ограждение не только обеспечивает удобство, но и:
- делает движение по лестнице безопасным;
- формирует стиль конструкции;
- повышает прочность сооружения.
Следует определить расстояние между стойками. Между балясинами должен оставаться зазор от 120 до 150 мм. Если в доме есть дети, для их безопасности на лестнице расстояние рекомендуется уменьшить до 100 мм. Когда рассчитывают расстояние между стойками и их количество на лестнице учитывают, что диаметр их сечения составляет в среднем от 40 до 80 мм.
Вместе с обеспечением безопасности балясины повышают прочность конструкции. Она должна получиться не только эстетичной, но и достаточно надежной. Поэтому балясины нужно прочно фиксировать на ступенях или несущих элементах и в основе перил.
Как подготовить чертежи и шаблоны?
Перед тем, как приступать к разработке чертежа, необходимо выбрать дизайн изделия. Можно взять за основу одну из моделей, представленных в интернет-магазинах, или самостоятельно придумать форму балясин из дерева. Затем следует выполнить эскиз изделия, после чего приступить к самому чертежу. Вместе с очертаниями балясины необходимо обозначить размеры и расстояние между фигурными элементами.
Чтобы правильно выполнять все элементы балясин, нужно подготовить шаблон. Особенно он полезен для моделей, часть элементов которых не подвергается обработке на токарном станке. К таковым относятся квадратные или шестигранные фрагменты. Шаблоны изготавливают, беря за основу чертеж. Заготовку фиксируют на станке, после чего карандашом переносят на нее с чертежа разметку. Далее приступают к вырезанию элементов.
На шаблон советуется наносить метки, указывающие, какой инструмент использовать для обработки каждого из участков.
Чертеж для изготовления плоских балясин
Наряду с балясинами округлой формы, немалую распространенность обрели плоские стойки из дерева. Применяют их не только для ограждений лестниц, но и для оформления веранд или балконов. Располагая их в определенной последовательности, можно получить балюстраду, представляющую собой единую композицию.
Хотя для выполнения балясины будет использоваться другой инструмент, ход работы отличается мало. Вначале также выбирается орнамент и фиксируется графически. Затем на заготовку из дерева переносят узор и выпиливают его при помощи лобзика. На заключительной стали изготовления балясины деталь обрабатывают резцами, добиваясь гладкой поверхности и четкости рисунка.
Проектируя балюстраду и выполняя чертежи, необходимо оценить, как смотрятся зазоры между деталями. Они также должны восприниматься гармонично.
Изготовление качественных деталей ограждения во многом зависит от грамотного проектирования. В интернет-магазинах представлены различные образцы. Взяв их за основу и приложив собственную фантазию, можно изготовить необычную модель. Оставьте комментарий и поделитесь своим опытом проектирования и установки лестничных балясин из дерева.
Деревянные балясины для лестницы

Балясины – это архитектурные элементы ограждения лестницы, которые служат вертикальной опорой под перила. Балясины из дерева не только выполняют несущую функцию, но и служат декоративным элементом лестничной конструкции. Податливая структура древесины позволяет создавать самые разнообразные балясины от простых форм до оригинальных фигурных и резных изделий.

Так выглядят классические деревянные балясины для лестницы
Назначение и преимущества стоек из дерева
Балясины для лестниц выполняют следующие важные функций:
- обеспечивают безопасность передвижения по лестничному маршу;
- выполняют опорную функцию;
- придают дополнительную жесткость ограждению лестниц;
- являются самым заметным элементом декора.
Деревянные балясины пользуются повышенным спросом благодаря особым свойствам и преимуществам изделий из дерева:
- Экологичность. Натуральная древесина абсолютно безопасна и не выделяет опасных для организма веществ. Напротив натуральные смолы и эфирные масла имеют оздоравливающее действие.

Готовые с монтажу перила собранные из деревянных балясин

Вариант устройства перил из деревянных балясин
Виды деревянных балясин
Балясины способны преобразить даже самую простую лестницу благодаря большому разнообразию форм и сечений:
- Круглые виды балясин. Простой вариант стоек для лестницы. Столбики имеют цилиндрическую форму с сечением 2,5 — 4 см. Прочные и стильные балясины выполняются из цельной древесины и часто комбинируются с металлическими трубками;
- Квадратные стойки. Изделия с квадратным сечением прекрасно смотрятся с конструкциями лестниц строгих простых форм. На боковины стоек нередко наносятся декоративные углубления;
- Плоские балясины. Такие виды стоек изготавливают из досок или фанеры. Это могут быть отдельные изделия или одна цельная деталь. Стойки украшаются резными сквозными узорами и орнаментами.

Так выглядят плоские деревянные балясины
Плоские опоры для лестниц самый простой вариант для изготовления своими руками. Все резные детали можно сделать с помощью лобзика.
В зависимости от технологии производства деревянные балясины можно разделить на три типа:
- Точеные балясины. Один из самых распространенных вариантов обработки деревянных опор для лестницы. Простому бруску из дерева можно придать совершенно неповторимую изысканную форму с помощью токарного станка. Различная форма резцов позволяют изготавливать разнообразные фигурные изделия из дерева своими руками;
- Фрезерованные стойки. Для работы понадобится фрезерный станок, а для заготовок берутся точеные стойки. На них с помощью станка наносятся различные углубления, спирали, косы и другие нарезные элементы декора;
- Резные балясины.
Самые красивые, дорогие и эстетически совершенные изделия производятся на современных станках ЧПУ, которые позволяют воспроизвести любую форму стойки с помощью 3D-моделирования. Своими руками изготавливать резные балясины достаточно трудоемко, хотя и увлекательно.
Какую породу дерева выбрать
Чтобы лестница долго оставалась прочной и презентабельной рекомендуется выполнять все элементы: перила, балясины, ступени из одного сорта дерева. При изготовлении опор для лестницы правильнее всего выбирать твердые породы древесины:
- Дуб. Благородный и крепкий, отличается самыми высокими эксплуатационными характеристиками. Он прочен, стоек к температурным перепадам, влаге и загниванию. Изделия из дуба имеют красивый темный оттенок. Изделия практически не растрескиваются и не коробятся. Несмотря на плотность древесины, дуб можно обрабатывать всеми доступными способами.

Пример резных дубовых балясин
Чертежи и узоры березовых балясин
Хотя дерево имеет неплохие показатели прочности, легко обрабатывается, шлифуется и окрашивается. Березе после соответствующей обработки можно придать вид благородной древесины.
Для изготовления балясин своими руками важно выбрать древесину правильной влажности, без трещин, сучков и прочих дефектов. Пересушенная древесина очень хрупка, а влажная после сушки может растрескаться.

Различные виды резных балясин
Также начинающим мастерам будет разумнее выбирать недорогие сорта древесины – сосну или березу, которые просты в обработке. Такие ценные породы как дуб или орех слишком дороги, чтобы их можно было портить в процессе обучения.
Изготовление балясин
Процесс создания стоек для лестницы своими руками достаточно сложен и требует специализированных инструментов, определенных навыков и усидчивости. Изготовление балясин проводится в два этапа: проектирование и вытачивание изделия на станке.
Проектирование
Перед тем как начать изготовление балясин нужно спроектировать их форму — множество идей и эскизов можно найти в интернете.
Также производятся замеры высоты перил (рекомендованная высота ограждения должна быть от 0,7 до 1 м). Определяется расстояние между стойками, чтобы высчитать необходимое количество стоек для лестницы.
Составляется чертеж будущего изделия с указанием размеров всех изгибов и срезов. Следующий этап – это перенесение чертежа на деревянную заготовку. Нанесенные метки нужно пронумеровать – для каждой декоративной детали может понадобиться свой режущий инструмент.
Виды резцов для станка
Для создания различных фигур на деревянной заготовке используются специальные резцы, каждый из которых имеет свое назначение:
- Рейер. Резец имеет форму округлой дуги и используется для вытачивания сводов.

- Мейсель. Имеет вогнутый резец и применяется для создания шарообразных деталей.
- Штихель и резец-косяк. Используется для вытачивания конусообразных элементов.
- Фасонные стамески. Конфигурация резца зависит от того какую форму нужно придать детали.
Вытачивание фигурных стоек
Изготовление балясин на станке выполняется в следующей последовательности:
- Закрепление деревянной заготовки на станке, часто для этого требуется сделать на торцах отверстия. Фиксация должна производиться строго по центру для получения ровного симметричного изделия.
- Деревянный брусок предварительно обтачивают полукруглой стамеской, чтобы срезать грани заготовки.

Процесс вытачивания балясины из бруска
Изготовление плоских балясин
Не менее привлекательными, но более доступными для изготовления своими руками являются плоские балясины. Для работы понадобятся доски нужной толщины или листы фанеры, шаблоны и лобзик.
Суть метода достаточно проста – по заранее подготовленным лекалам из дерева электролобзиком вырезаются плоские изделия. Фигурный узор может проходить только по краям балясины или по всему полотну заготовки.
Изготовление плоских балясин для лестницы выполняется в следующей последовательности:
- Создание эскиза. Рисунков и орнаментов для прорезной резьбы. достаточно много представлено в интернете. Понравившийся узор в натуральную величину переносится на картон или бумагу.

- Вырезанный шаблон прикладывается к заготовке, и контур обводятся карандашом.
- Узор вырезается по контуру лобзиком. В сквозном узоре вначале высверливается отверстия дрелью, чтобы можно было завести пилку электролобзика.

Вырезание плоских балясин на специальном станке
Стоимость деревянных балясин
Без специального оборудования и навыков изготовление балясин процесс трудоемкий и не всегда оправданный. Возможно, будет проще купить готовые изделия для ограждения лестницы, подобрав самый оптимальный вариант по стоимости и внешним данным.
Цена на деревянные стойки и перила формируется под влиянием следующих факторов:
- Сорт древесины. Самыми дорогими считаются изделия из дуба или бука. Можно купить балясины и перила, изготовленные из эксклюзивных пород: красное дерево, орех, вишня. Самая доступная цена у сосны.

- Сложность декоративного оформления. Дешевле купить изделие простых форм с минимальной обработкой. Чем больше элементов и украшений, тем дороже цениться работа.
- Способ изготовления балясин для лестниц. Резные изделия ручной работы будут иметь значительно большую цену, нежели изготовленные механизированным способом.
Для сравнения, точеные элементы для ограждения лестницы в зависимости от породы дерева и сорта изделия приблизительно можно купить по следующей цене:

Различные виды деревянных балясин
Источники: http://vseolestnicah.ru/elementy-i-komplektuyushhie/balyasiny-iz-dereva-svoimi-rukami.html, http://7lestnic.com/raschety-i-parametry/chertezhi-baljasin-iz-dereva.html, http://proekt-sam.ru/rezba/balyasiny-iz-dereva-dlya-lestnicy.html
lestnica-mpl.ru
Разновидности и модификации балясин для лестницы из дерева

Подставочный столбик перил, выполняющих функцию ограждения, называется балясиной. Балясины для лестницы из дерева присутствуют в жизни практически каждого человека. Представить себе межэтажную лестницу без перил и опорных столбиков под ними весьма сложно.
На сегодняшний день балясины для лестницы из дерева применяются практически повсюду. В связи с этим каждое новое решение от архитекторов и строителей требует, чтобы этот элемент лестницы, помимо своей прямой конструктивной обязанности, представлял собой элемент, который органично вписывался бы в убранство помещения или наружный фасад здания согласно стилистике.
Модификации балясин для лестниц
Чтобы сделать правильный выбор балясины для лестницы в своем доме или офисе либо в любом другом помещении, необходимо ознакомиться с физической стороной этих элементов.

Итак, современный рынок строительных материалов предлагает на выбор следующие готовые модификации балясины или заказные перила к проекту «лестница», который весьма разнообразен:
- Традиционные балясины для лестницы из дерева.
- Кованые металлические перила для винтовых лестниц в доме, исполненных «под старину» – из алюминия, чугуна, железа (нержавейки – стали) или латуни.
- Стеклянные балясины.
- Пластмассовые перила эконом — класса.
- Кирпичные, цементные или гипсовые балясины.
- Искусственный камень, мрамор.
Часто при строительстве межэтажных лестниц внутри загородного домика в качестве перил и опорных столбиков к ним используют деревянные или металлические ограждения. При этом изделия из металла выглядят нежными и легкими, так как имеют ажурную форму дизайна. Деревянные же балясины для межэтажной стационарной лестницы придают жилью атмосферу уюта и тепла.
Прочтите также нашу статью Преимущества лестниц с забежными ступенями для частного дома.

Просмотреть все часто применяемые разновидности балясин для лестниц можно на фото, представленных ниже.
Разновидности деревянных балясин для лестниц
Деревянные точеные перильца, как правило, очень лаконично и полноценно сочетаются на лестнице из того же материала, выполненной под стиль кантри.
Практически любое натуральное дерево поддается обработке, что позволяет придать исходному опорному столбику любую форму с красиво оформленной на нем резьбой.
Единственным недостатком такого материала (дерево) для придания завершенного вида лестнице является его подверженность к перепадам температур, он так же боится влажности, и его можно повредить механически, поэтому ни в коем случае стоит упускать из виду то, что балясины для лестницы из дерева требуют несложного ухода.
Прочтите также нашу статью Инструкция как выбрать кованые перила для лестниц.
На сегодняшний день различают следующие формы и виды балясин для лестниц из дерева:
- Цилиндрические – классические, простые опорные столбики, увенчанные симметричной резьбой различного диаметра, исполненные либо ручным способом, либо на токарном станке.
- Тонкие и прямые, незатейливые по оформлению точильные перильца, имеющие в разрезе форму узкого эллипса или четырехугольника.
- Фигурные вырезные балясины, выполненные, как правило, из дорогостоящей породы деревьев, вручную. Очень стильные и эффективные компоненты лестничной конструкции.
Таким образом, смонтировать лестницу, используя необходимые для вашей проектируемой конструкции размеры балясины для лестниц из дерева, можно вполне и самостоятельно, вооружившись нехитрым столярным, крепежным и прочим традиционным инструментарием.
Рекомендуем к прочтению нашу статью Хранилище под лестницей: несколько оригинальных идей.

Технология самостоятельного монтажа балясин из дерева
Располагая эрудицией и руководствуясь посильными правилами и рекомендациями, можно совершенно самостоятельно смонтировать балясины для лестницы из дерева и собственноручно, без привлечения недешевого мастера.
Итак, в первую очередь вам понадобится приобрести полный комплект всех основных элементов деревянного ограждения – это столбы, балясины, поручни метизы, кронштейны и т.д. При этом с целью придания безопасности самой конструкции рекомендуется использовать балясины для лестниц из дерева, имеющие оптимальные размеры сторон в сечении от 3-8см, с высотой опоры не менее 80-90см.
Сам же процесс монтажа балясины для лестницы из дерева состоит в основном из 2 этапов:
- Фиксирование нижней части опоры к тетиве лестницы.
- Монтаж верхней части непосредственно к перилам.

Для того чтобы зафиксировать деревянную балясину в нижней её части непосредственно к ступени или тетиве лестницы либо к косоуру, необходимо вставить опору-ограждение аккуратно в паз подперилок. При этом размер сечения балясины должен совпадать с этим пазом. Далее само крепление при помощи винтов, саморезов или металлических шпилек-метизов доводится до окончательного фиксирования балясины к ступенькам лестницы.
Верхняя же часть точеной опоры аналогично фиксируется в предварительно приготовленную для этого в поручне впадинку. Как правило, между поручнем и деревянной опорой-ограждением дополнительно при помощи гвоздей со шляпками и столярного (казеинового) клея фиксируется еще металлическая планка.
Прочтите также нашу статью Чердачная лестница с люком: разновидности и выбор.
К сведению: для надежного монтажа деревянных ограждений к лестнице рекомендуется использовать только металлические стягивающие метизы интенсивного воздействия, так как они исключают вероятность ослабления крепления непосредственно в процессе эксплуатации. Абсолютно недопустимо применение в качестве крепежных элементов для фиксирования деревянных балясин, поручней, тетивы (участках повышенных нагрузок) деталей инертного воздействия — гвоздей, деревянных шкантов, саморезов.

При закупке метизов обращайте также внимание на марку и их популярность, то есть приобретайте проверенные детали с хорошей рекомендацией.
koffkindom.ru
Балясины для лестницы из дерева: виды, преимущества и особенности
В многоэтажном доме лестница не только соединяет разные уровни строения между собой, но и является важным элементом дизайна. Балясины из дерева – небольшие столбики между перилами и ступеньками, напоминающие колонну. Используются они для поддержки перил. В первую очередь балясины предназначены для увеличения безопасности передвижения, исключая возможность падения. С другой стороны, они выполняют декоративную функцию, украшая и дополня внешний вид лестницы. Благодаря тому, что устанавливаются они на протяжении всего ограждения, обеспечивается необходимая жесткость и надежность конструкции.
Материалы для балясин
Изготавливаются балясины из самых разнообразных материалов. Если же говорить конкретно о дереве, то оно также может отличаться. Итак, для изготовления балясин используют следующие породы дерева:
- сосна;
- дуб;
- ясень;
- бук;
- лиственница;
- клен.

Преимущества деревянных балясин
Главными достоинствами балясин из дерева являются:
- Экологичность. Деревянные элементы для лестницы не содержат вредных примесей и являются абсолютно безопасными для здоровья человека.

- Внешний вид. Ограничивается только фантазией изготовителя. Распространены квадратные, круглые, резные, шаблонные. Особо ценятся балясины ручной работы с декоративной резьбой. В отличие от прочих материалов, деревянные превращают лестницу в настоящее произведение искусства. Правда и стоить такое искусство может достаточно дорого.

- Универсальность. Балясины из дерева вписываются в любой интерьер, благодаря прекрасному сочетанию с другими материалами. Их можно использовать не только на лестнице, но и на балконе, для отделки предметов мебели, в качестве элементов ландшафтного дизайна.

- Простота монтажа. Сам процесс монтажа не вызовет особых трудностей. Самый важный этап установки – подгонка опоры для обеспечения максимально плотного крепления.
Разметка мест под балясины
Правильная установка балясинКлассификация по способу изготовления
Здесь также имеется несколько вариаций, благодаря которым мы и имеем такой широкий ассортимент данного продукта. По форме и способу изготовления можно выделить 3 основных вида: • точеные, • фрезерованные, • с элементами резьбы. Точеные балясины изготавливаются на самых обыкновенных токарных станках и обычно имеют форму тел вращения. Характеризуются простотой производства и элегантным внешним видом.
Главное отличие фрезерованных – наличие различных украшений, представляющих собой винтообразные или продольные нарезки. Имеют более привлекательный внешний вид.
Резные балясины стоят существенно дороже, но и выглядят намного лучше и оригинальнее. Изготавливаются на специализированных многоосевых станках, позволяющих получить удивительный результат. 
Деревянные лестницы, в которых используются разные балясины из дерева будут иметь совершенно разный внешний вид. Каждая конструкции будет уникальной, со своим стилем и характером.
Резные балясины
Наиболее привлекательными, безусловно, являются резные балясины. Стоимость их может сильно варьироваться, в зависимости от сорта дерева, а также способа резьбы. Для реализации разных идей и профессиональные мастера используют следующие виды резьбы по дереву:
- Ажурная резьба. Чаще всего применяется для изделий, имеющих плоскую форму. В основном используется в качестве оригинальных украшений для накладных элементов. Ее также называют «сквозная резьба» или «деревянное кружево».

- Глухая резьба. Все изображения и узоры имеют определенный фон. К такому виду можно отнести плосковыемчатый способ обработки дерева. Данные элементы способны украсить не только лестницы, но и все помещение целиком. Только действительно опытные мастера берутся за подобную работу.

- Скульптурная резьба. Позволяет вырезать изображения самых разных животных, людей или чего угодно. Одна такая балясина может стоить очень дорого, но выглядеть она будет не хуже полноценной скульптуры.

Виды дерева для балясин
Каждый вид дерева обладает своими преимуществами и недостатками, которые стоит учитывать при выборе материала для лестницы. Балясины из сосны характеризуются отличной стойкостью против гниения. Материал очень хорошо поддается обработке, что существенно расширяет дизайнерские возможности. Балясины из сосны являются одними из самых распространенных еще и потому, что они имеют привлекательный цвет и интересную текстуру дерева. Позволяют создавать очень теплые светлые конструкции. 
Балясины из дуба обладают повышенной прочностью, твердостью и долговечностью. Благодаря свойству материала стойко переносить воздействие влаги деревянные лестницы можно устанавливать в помещениях с влажным микроклиматом.
С другой стороны, этот материал обладает уникальным и красивым рисунком.Такие балясины будут отлично смотреться без каких-либо дополнительных элементов украшения. Изделия из дуба дерева считаются образцом качества. Дубовые балясины смотрятся благородно, немножко элитарно. Этому способствует еще и тот факт, что со временем дуб темнеет, обретая насыщенный цвет.
Если выбор пал на балясины из ясеня, то изделие будет иметь уникальную красивую текстуру, исключительную твердость и при этом останется достаточно упругим. Древесина имеет серый цвет с розовым или фиолетовым оттенком.
Одно из главных преимуществ балясины из бука – это красивая текстура. По своим физическим характеристикам древесина приближается к дубу, но в отличие от него намного легче поддается обработке. Балясины из бука можно изготовить разной формы, благодаря способности материала гнуться в пропаренном состоянии.
Балясины из лиственницы характеризуются удивительной долговечностью. Высыхая, эта порода дерева практически не подвержена гниению. Отлично противостоит влажности, а при длительном воздействии воды наблюдается эффект «окаменения». По прочности и твердости балясины из лиственницы схожи с дубовыми. 
Безопасность лестницы
Деревянные опоры для лестниц являются одним из ключевых пунктов безопасности. Для достижения максимального эффекта между каждой опорой должно быть расстояние не менее 15 см. Лучше, чтобы высота была более 90 см. При такой схеме расположения обеспечивается необходимая жесткость конструкции. Конечно, можно сделать элементы для лестницы своим руками, но если нет необходимого опыта или инструмента, лучше предоставить это дело профессионалам с большим опытом. 
Совет!Если у вас есть маленькие дети, расстояние между балясинами желательно сократить или же установить между ними сплошные перегородки.
Особенности ухода за балясинами
Существует 2 основные причины регулярно ухаживать за лестницей и ее составными элементами. Во-первых, увеличение срока службы. При своевременном выполнении ремонта или восстановления поврежденного элемента можно существенно сэкономить. Во-вторых, обновление и поддержание красивого внешнего вида. Сам уход довольно прост. Достаточно периодически подкрашивать и протирать части конструкции. Если много резных элементов, то это увеличит трудоемкость процесса.
В случае расшатывания опорных столбиков необходимо выполнить немедленную замену. Если этого сделать не представляется возможным, то можно вбить гвоздь под углом в 45°. Утопить шляпку и замазать шпатлевкой. Однако такой вариант следует использовать только в крайнем случае. При возникновении трещины необходимо хорошенько обработать ее от мусора и залить клеем. После этого при помощи малярного скотча склеить место повреждения.
Совет!Если вы не уверены в своих силах – доверьте ремонт лестницы профессионалу. В противном случае вы можете только усугубить проблему и увеличиить стоимость работ.
Стоимость балясин из дерева
Цена на подобные изделия будет зависеть сразу от нескольких факторов:
- порода дерева;
- способ обработки;
- дизайн и оформление.

Балясины из бука считаются одними из самых дорогих и по цене приближены к дубу. Сосна, напротив, вполне доступна и популярна. Изделия ручной работы отличаются достаточно высокой ценой. Это и не удивительно, ведь балясины получаются изумительными и, зачастую, уникальными. Что касается изделий, изготовленных на станке, их можно отнести к более доступным, но ограниченным по моделям. Запомните: чем больше декора и составных элементов, тем дороже стоит балясина. Варианты деревянных балясин
lestnitsygid.ru
Бетонные балясины — особенности установки и монтажа. Виды балясин
Содержание
Преимущества и недостатки балясин из бетона
Установка бетонных изделий — хорошая идея, поскольку у такого материала есть множество преимуществ, которые проявляются в эксплуатации:
- Материал достаточно прочный и выдерживает различные нагрузки, поэтому ограждение без проблем прослужит долгое время, сохраняя свой первоначальный внешний вид. Это же касается и лестниц: даже если они будут постоянно использоваться, такое воздействие не будет для них разрушительным.
- Бетон отличается устойчивостью к морозам, поэтому декоративные элементы можно применять в любых погодных условиях. Они прекрасно переносят суровые зимы, а в теплое время года будут радовать своих владельцев.
- Одно из важных преимуществ — устойчивость к влаге, что также позволяет не беспокоиться за сохранность бетонных изделий. Они могут находиться на улице, им не повредят атмосферные явления. Благодаря этому свойству бетон можно легко мыть, что позволяет поддерживать опрятный внешний вид сада или домашнего участка.
- Если сравнивать его с другими материалами, которые используются для подобных декоративных работ, например, с гранитом или мрамором, то его стоимость гораздо меньше, что делает такой вариант выгодным.
- Используя различные формы для отливки, можно изготавливать из бетона изделия любой сложности и форм, также при создании балясин могут применять красители, которые придадут им нужный цвет. А еще можно создавать определенную фактуру, что делает возможности для декорирования действительно широкими.
- При желании бетон можно окрашивать, он хорошо держит слой краски, поэтому даже если первоначальный вид балясин надоел, их можно перекрасить в другой цвет и освежить внешний вид.
- Материал отличается долговечностью и может прослужить немало времени, не заставляя задумываться о ремонте и замене ограждений или лестниц.
У бетона действительно много достоинств, поэтому он достаточно популярен в сфере строительства. Однако есть и свои минусы, о которых также стоит знать перед использованием бетонных изделий:
- Неокрашенный бетон служит меньше чем тот, который предварительно покрасили, поэтому рекомендуется покрыть изделия соответствующим составом перед использованием.
- Если сравнивать с гранитом или мрамором, то срок службы у бетона меньше.
- В сравнении с мраморными или гранитными изделиями бетон не настолько прочный.
Можно сказать, что недостатки не слишком существенны, поэтому материал остается одним из лучших вариантов для создания декоративных балясин и других изделий.
Особенности установки и монтажа бетонных балясин
На участке балясины из бетона будут смотреться красиво и оригинально, особенно если это изделия в классическом стиле, которые сразу придают пространству величественный вид. Чтобы достичь желаемого эффекта, необходимо правильно установить имеющиеся изделия. Сделать это можно двумя способами, в зависимости от особенностей самих балясин.
Чаще всего при изготовлении, когда происходит заливка, балясины снабжают специальными крепежными штырями. Это элементы арматуры, крепкие и надежные, они способны хорошо удерживать бетон. С помощью выступающих металлических штырей балясины привариваются к ограждению, перилам или закрепляется каким-то другим способом. Подобные изделия удобны тем, что не нужно покупать дополнительный крепеж, а также монтаж выполняется быстрее. Но при этом стоят они дороже, чем балясины без металлических крепежных элементов. Чтобы закрепить такие изделия, необходимо выполнить следующие действия:
- На основании лестницы или ограждения делают разметку, помечая те места, где будут располагаться балясины.
- Затем необходимо просверлить отверстия для металлического крепежа, при этом диаметр должен быть больше, чем размер самих металлических элементов, должно оставаться свободное пространство, поскольку туда будет заливаться скрепляющий раствор.
- Балясины помещают на размеченные места, в отверстия при этом нужно залить бетонный раствор, а сами изделия тщательно выровнять по уровню, чтобы они стояли ровно. Когда детали будут приведены в нужное положение, можно будет их закрепить.
- Рекомендуется устанавливать колонны и столбики на расстоянии не более 15 см, чтобы обеспечить безопасность, если речь идет о функциональном ограждении. Также чем больше опор, тем лучше будет держаться верхняя часть, которая располагается на них.
- Излишки раствора после заливания отверстий нужно будет аккуратно убрать.
- Когда бетонный раствор затвердеет, поверх балясин можно будет устанавливать перила, чтобы придать лестнице или ограждению законченный вид.



Что касается балясин, которые не имеют специальной арматуры, для них необходим дополнительный крепеж. Обычно в этой роли выступают все те же металлические штыри, только их приобретают отдельно, сверлят отверстия в самих балясинах и вставляют туда. Столбики производят без крепежной арматуры, поскольку такой способ позволяет получать изделия быстрее и в большем количестве. Стоят они из-за этого дешевле, но вот при монтаже с ними придется повозиться, поэтому каждый желающий украсить свой участок может выбрать, что для него предпочтительнее — сэкономить на балясинах или иметь возможность установить их быстро и без лишних хлопот.
Как получают бетонные балясины?
Существуют разные бетонные балясины, цена может варьироваться не только от наличия или отсутствия крепления, но и в зависимости от особенностей изготовления, формы и сложности изделия. Обычно столбики получают двумя способами, в обоих случаях потребуется специальная форма с контурами будущего изделия, чтобы сделать такую, сначала используют специальную модель, которая делается из дерева или гипса.

Первый способ — это отбивка балясин, в этом случае для получения изделий применяется полусухой раствор цемента, который доводят до нужного состояния при помощи воды.
Затем смесь помещают в форму, делают это по частям, каждую порцию тщательно утрамбовывают. Когда процесс закончен, оболочку аккуратно снимают и оставляют балясину застывать. Трогать ее ни в коем случае нельзя, она еще хрупкая. Высыхает такое изделие за двое суток.
Второй способ — отливка. При этом раствор бетона заливают внутрь формы через специальное отверстие, а потом оставляют застывать, периодически поворачивая в горизонтальном положении. Так можно получать изделия быстрее.

Бетонные балясины — отличное украшение для участка, если установить их правильно, они будут радовать владельцев дома и их гостей. Благодаря преимуществам материала, ограждение или лестница сохранят свой первоначальный вид на долгие годы.
betkam.ru







Самые красивые, дорогие и эстетически совершенные изделия производятся на современных станках ЧПУ, которые позволяют воспроизвести любую форму стойки с помощью 3D-моделирования. Своими руками изготавливать резные балясины достаточно трудоемко, хотя и увлекательно.






