Трехходовой клапан на системе отопления: принцип действия, выбор, монтаж
Для постоянного поддержания в доме комфортного теплового баланса в отопительный контур включают такой элемент, как трехходовой клапан на системе отопления, равномерно распределяющий тепло по всем комнатам.
Несмотря на важность этой единицы, сложной конструкцией она не отличается. Давайте разберемся в конструктивных особенностях и принципах работы трехходового клапана. Каких правил стоит придерживаться выбирая приспособление и какие нюансы присутствуют в его монтаже.
Содержание статьи:
Особенности трехходового клапана
Вода, поступающая к радиатору, имеет определенную температуру, влиять на которую зачастую нет возможности. Трехходовой клапан осуществляет регулировку путем изменения не температуры, а количества жидкости.
Это дает возможность, не изменяя площади радиатора, подавать в комнаты нужное количество тепла, но только в границах мощности системы.
Разделительные и смесительные приборы
Визуально трехходовой клапан имеет сходство с тройником, но выполняет совершенно иные функции. Такой узел, оснащенный терморегулятором, относится к запорной арматуре и является одним из главных ее элементов.
Существует два вида этих устройств: разделительные и смесительные.
Первые применяют, когда теплоноситель нужно подать одновременно в нескольких направлениях. Фактически узел представляет собой смеситель, формирующий стабильный поток с установленной температурой. Монтируют его в сеть, по которой подают нагретый воздух, и в водоподающие системы.

Клапан трехходовой применяют как в качестве смесителя, так и распределителя воздуха или теплой воды
Изделия второго вида служат для объединения потоков и их терморегуляции. Для входящих потоков, имеющих разную температуру, предусмотрено два отверстия, а для их выхода — одно. Применяют их при устройстве теплых полов, чтобы предотвратить перегрев поверхности.
Клапан трехходовой и регулятор температуры есть в продаже по отдельности. Для автономных отопительных систем все же более рациональным и эффективным решением считается приобретение конструкции с терморегулятором.
Конструктивное исполнение трехходовых кранов
По конструкционному исполнению клапаны делят на седельные и поворотные. Принцип действия первых основан на ритмичном передвижении штока по вертикали — схема регулировки «шток-седло». Этот вид относится к клапанам смесительного типа. Часто управление осуществляется электромеханическим приводом.
Ключевым элементом поворотной конструкции является вращающийся сектор. Во время движения шток воздействует на шаровую заслонку, и она частично или полностью отсекает подачу теплоносителя. Такую схему регулировки называют «шарик-гнездо».
Эти устройства обладают повышенной износостойкостью. Они адаптированы под большие перепады температур и классифицируются как запорная арматура. В частных домах, где вода расходуется в относительно небольшом количестве, они могут функционировать и как смесители.
Особенностью смесительного клапана является наличие одного выхода и двух входов. Он предназначен для управления температурой рабочей жидкости путем объединения потоков с высокой и низкой температурой. При соответствующей установке, изделие может и разделять потоки.

Здесь схематически отображена работа трехходового крана седельного смесительного и разделительного типа
Трехходовой клапан разделительного типа применяют, когда необходимо подать горячий теплоноситель по нескольким направлениям.
Все модели таких кранов отличаются друг от друга по некоторым признакам:
- механикой затвора — она может быть как натяжной, так и сальниковой;
- формой заглушки — существуют L, T, S-образные;
- типом затвора — встречается цилиндрический, шаровидный, конусный;
- подсоединением к контуру — с использованием муфты, фланца, посредством сварки и др.;
- способом управления — автоматический, полуавтоматический, ручной.
Смесительное устройство снабжено штоком, размещенным по центру, шаровой клапан в нем один. Он перекрывает в нужный момент затвор входного отверстия.
В приборах разделительного типа шток оснащен двумя клапанами, вмонтированными в выходных патрубках.
Функционирует он по несколько другой схеме. Понятней становится работа трехходового клапана после подробного разбора его конструкции.

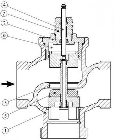
Составными частями трехходового клапана являются: корпус (1), вставка клапана (2), конус клапана (3), полированный штока клапана (4), седло клапана (5), разгрузочная камера (6), сальниковое уплотнение (7)
Корпус у этого типа изделий литой. Изготавливают его из латуни либо бронзы с гальваническим покрытием из хромоникеля. Оно выполняет как защитные, так и декоративные функции. Для соединения с трубопроводом имеются резьбовые отводы — всего три штуки. Тип резьбового соединения зависит от выбранной модели.
Оптимальные параметры давления в отопительной системе для стабильной работы клапана — 10 кг/см². При превышении этого значения, могут возникнуть проблемы.
Существуют ограничения и по температурным показателям — 95º для котлов, 110º — для солнечных батарей. Допустимая регулировка температуры теплоносителя у разных моделей находится в диапазоне 20-60º. Производительность колеблется в пределах 1,6–2,5 м3/ч.
Принцип работы устройства
Установкой смесительного трехходового клапана удается добиться того, что температура жидкости на выходе имеет значение в установленных пределах.
Принцип работы как для замкнутой отопительной системы, так и для системы ГСВ один и тот же. Отличие только в том, что в первом случае теплоноситель равномерно передает тепло от источника к радиаторам, а во втором — переносит теплую воду к бытовым приборам.
До момента, пока термочувствительный элемент не приобретет определенную температуру, теплоноситель подается из фронтального патрубка и беспрепятственно прибывает в правый. По достижении рабочим элементом температуры выше установленной, происходит его расширение.
Это влечет за собой перемещение клапана по вертикали вниз и, как следствие, перекрытие пути поступления нагретого теплоносителя снизу. Следом открывается левый патрубок для подачи холодной жидкости.

На схеме показан порядок подключения трехходового клапана в автономную систему отопления. При его отсутствии в обратном контуре может образовываться конденсат как следствие снижения температуры
Смешивание холодной жидкости с горячей приводит к уравновешиванию температуры. Термочувствительный элемент приобретает прежнюю форму, а заслонка — первоначальное положение.
Если трехходовой клапан установлен в обратный контур, то процесс должен происходить в противоположной последовательности. Когда жидкость охлаждается, напрямую открывается путь для горячей воды из котла.
Приводной механизм прибора
Разным у клапанов может быть и тип приводного механизма. Привод бывает как гидравлическим, так и электромеханическим, пневматическим, ручным.
Привод электромеханический делят на виды, самым распространенным среди которых является простой термостатический. Функционирует в результате расширения жидкости с термоактивным элементом в ее составе. В результате этого возникает давление на шток. Это легкосъемное исполнение, применяемое в изделиях, установленных в бытовых системах.
Следующий вариант — привод с термостатической головкой, укомплектованной чувствительным к изменению температуры элементом. Прибор дополнен выносным датчиком температуры, находящимся непосредственно в трубопроводе. С приводом его соединяет капиллярная трубка.
Этот вид регулировки считается наиболее точным. По желанию простой термостатический привод легко можно сменить на термостатическую головку.

Для клапана с электроприводом пусковым механизмом могут являться электромагниты, сервоприводы, основывающиеся на маломощных электродвигателях или системах передач
Существуют вариант трехходового клапана с электрическим приводом. Управление им осуществляется посредством контроллера, оснащенного температурными датчиками и подающего команды на основной механизм. Упрощенным вариантом привода с контроллером является сервопривод.
Он управляет клапаном напрямую. Самый простой привод — ручной. Здесь регулировку выполняют путем поворота пластмассового колпачка, имеющего резьбовое соединение. Его дно контактирует с концом штока. Путем закручивания или откручивания перемещают золотник.
Наличие электро- или сервопривода позволяет программировать температурный режим с ориентацией по времени суток. Изначально в комплектацию трехходового клапана не входит приводной механизм. Его приобретают отдельно исходя из особенностей конкретной теплосети. Использовать изделие можно в отопительной системе любого исполнения.
Где используют трехходовые клапаны?
Встречаются клапаны этого типа в разных схемах. Их включают в монтажную схему для обеспечения равномерного нагрева всех его участков и исключения перегрева отдельных ответвлений.
В случае наличия твердотопливного котла в его камере часто наблюдается конденсат. Бороться с ним поможет установка трехходового крана.

Клапан, встроенный в систему «теплый пол» отвечает за поддержание температуры на желаемом уровне, подмешивая к теплоносителю небольшие порции горячей воды
Эффективно работает трехходовое устройство в системе отопления, когда существует необходимость подключить контур ГВС и разделить тепловые потоки.
Применение клапана в обвязке радиаторов позволяет обойтись без . Установка его на обратке создает условия для устройства короткого контура.
Нюансы выбора приспособления
Общими при выборе подходящего трехходового клапана являются следующие рекомендации:
- Предпочтительнее авторитетные производители. Часто на рынке встречается некачественная запорная арматура от неизвестных фирм.
- Большей износостойкостью обладают изделия медные или латунные.
- Ручное управление более надежное, но менее функциональное.
Ключевым моментом являются технические параметры системы, в которую его предполагают устанавливать. Учитывают такие ее характеристики: уровень давления, наибольшая температура теплоносителя в точке монтажа прибора, допустимое снижение давления, объем воды, проходящей через клапан.
Хорошо будет работать только клапан с правильно подобранной пропускной способностью. Для этого нужно сравнить производительность своей водопроводной системы с коэффициентом пропускной способности прибора. Она в обязательном порядке обозначена на каждой модели.
Для комнат ограниченной площади, таких как санузел, дорогой клапан с термосмесителем выбирать нерационально.
На больших площадях с теплыми полами необходим прибор с автоматическим регулированием температуры. Ориентиром для выбора также должно являться соответствие изделия ГОСТу 12894-2005.
Стоимость может быть самой разной, все зависит от производителя.
В загородных домах с установленным схема отопления не отличается большой сложностью. Здесь вполне подойдет трехходовой клапан упрощенной конструкции.
Он функционирует автономно и у него нет термоголовки, датчика, и даже штока. Термостатический элемент, управляющий его работой, настроен на какую-то определенную температуру и находится в корпусе.
Производители трехходовых приборов
На рынке присутствует большой ассортимент трехходовых клапанов как от авторитетных, так и никому не известных производителей. Модель можно выбирать после того, как будут определены общие параметры изделия.
Первое место в рейтинге продаж занимают вентили шведской компании Эсбе (Esbe). Это довольно известный бренд, поэтому трехходовые изделия надежны и долговечны.

Трехходовой клапан Esbe смесительного типа применяют как в системах отопления, так и охлаждения. Регулировка у них может быть ручной или автоматической
Среди потребителей известны своим качеством трехходовые клапаны корейского производителя Навьен (Navien). Приобретать их следует при наличии котла этой же компании.
Большая точность регулировки достигается посредством установки прибора датской фирмы Данфосс (Danfoss). Работает он полностью автоматически.
Хорошим качеством и демократичной стоимостью отличаются клапаны Валтек (Valtec), изготавливаемые совместно специалистами из Италии и России.
Эффективны в работе изделия компании из США Ханивел (Honeywell). Эти клапаны имеют простую конструкцию, удобны в установке.
Особенности установки изделия
Во время монтажа трехходовых кранов возникает много нюансов. От их учета зависит бесперебойное функционирование отопительной системы. К каждому вентилю производитель прилагает инструкцию, соблюдение которой позволит избежать впоследствии многих неприятностей.
Общие рекомендации по монтажу
Главное, изначально установить вентиль в правильном положении, руководствуясь подсказками, обозначенными стрелками на корпусе. Указатели указывают траекторию водяного потока.
Символом А обозначен прямой ход, В — перпендикулярное или байпасное направление, АВ — объединенный вход или выход.
Исходя из направления, существуют две модели клапанов:
- с симметричной или Т-образной схемой;
- с ассиметричной или L-образной.
При монтаже по первой из них жидкость поступает в клапан через торцевые отверстия. Выходит через центральное после смешивания.
Во втором варианте теплый поток заходит с торца, а холодный поступает снизу. Выход после смешения разнотемпературной жидкости происходит через второй торец.

Представленная на фото схема монтажа клапана, используется в отопительных системах, запитанных от напорного коллектора
Второй важный момент при монтаже смесительного клапана — нельзя располагать его приводом или термостатической головкой вниз. Перед началом работ необходима подготовка: перед точкой установки перекрывают воду. Далее проверяют трубопровод на наличие в нем остатков, способных стать причиной выхода со строя прокладки клапана.
Главное, выбрать для установки такое место, чтобы к клапану был доступ. Возможно, в дальнейшем его придется проверять или демонтировать. Для всего этого необходимо свободное пространство.
Врезка смесительного клапана
При врезке трехходового клапана смесительного типа в систему централизованного теплоснабжения может быть несколько вариантов. Выбор схемы зависит от характера присоединения системы отопления.
Когда по условиям работы котла является допустимым такое явление, как перегрев теплоносителя в обратке, обязательно возникает избыточное давление. В этом случае монтируют перемычку, дросселирующую избыточный напор. Ее устанавливают параллельно по отношению к подмесу клапана.

Эту схему используют, когда система отопления подключена к безнапорному коллектору. Важно выбирать правильный вариант монтажа исходя из особенностей своего трубопровода
Схема на фото является гарантией качественного регулирования параметров системы. Если трехходовой кран подсоединен непосредственно к котлу, что наиболее часто бывает в автономных отопительных системах, необходима врезка балансировочного клапана.
Если пренебречь рекомендацией по поводу установки балансировочного прибора, в порте АВ могут произойти существенные изменения расхода рабочей жидкости, зависящего от положения штока.
Подключение по приведенной схеме не гарантирует отсутствия циркуляции теплоносителя через источник. Чтобы этого добиться, нужно дополнительно подключить в его контур гидравлический разграничитель и насос циркуляционного типа.
Смесительный клапан монтируют и с целью разделения потоков. Необходимость в этом возникает, когда недопустимо полностью изолировать контур источника, но перепуск жидкости в обратку возможен. Чаще всего такой вариант применяют при наличии автономной котельной.

Балансировочный клапан монтируют в участок трубопровода трехходового клапана, подключенного к порту, обозначенному символом В. Его гидравлическое сопротивление должно быть идентичным сопротивлению котла
Необходимо знать, что при использовании некоторых моделей может возникнуть вибрация и шум. Это происходит по причине несогласованности направлений потока в трубопроводе и смесительном изделии. Из-за этого возможно падение давления на клапане ниже допустимого.
Монтаж разделительного приспособления
Когда температура источника выше, чем необходимо потребителю, в схему включают клапан, разделяющий потоки. В этом случае при постоянном расходе как в контуре котла, так и потребителем, к последнему не придет перегретая жидкость.
Чтобы схема работала, в обоих контурах необходимо присутствие .
На основе вышеизложенного можно подытожить общие рекомендации:
- При монтаже любого трехходового клапана до и после него устанавливают манометры.
- Во избежание попадания всяческих примесей перед изделием монтируют фильтр.
- Корпус прибора не должен подвергаться каким-либо нагрузкам.
- Хорошее регулирование необходимо обеспечить путем врезки перед клапаном приспособлений, дросселирующих избыточное давление.
- При установке клапан не должен находиться над приводом.
Также необходимо выдерживать перед изделием и после него прямые участки, рекомендованные производителем. Несоблюдение этого правила повлечет за собой изменение заявленных технических характеристик. Гарантия на прибор не будет действовать.
Выводы и полезное видео по теме
Нюансы установки, учет которых гарантирует правильную работу клапана:
Подробности установки клапана при монтаже теплого пола:
Такой узел в системе отопления, как термостатический трехходовой клапан необходим, но не во всех случаях. Его наличие — гарантия рационального использования теплоносителя, позволяющая экономно потреблять топливо. Дополнительно он выступает и в роли прибора, обеспечивающего безопасность эксплуатации ТТ котла.
Все же прежде чем приобрести такое устройство, нужно предварительно проконсультироваться по поводу целесообразности его монтажа.
Если у вас есть необходимый опыт или знания по теме статьи и вы можете ими поделиться с посетителями нашего сайта, пожалуйста, оставляйте свои комментарии, задавайте вопросы в расположенном ниже блоке.
sovet-ingenera.com
Трехходовой клапан для отопления с терморегулятором, как работает
Трехходовой клапан для отопления с терморегулятором имеет такую форму, которая напоминает тройник, отсюда и название. Функции же у него совсем другие, он поддерживает в доме комфортный тепловой баланс и равномерно распределяет тепло по всему помещению.
Трехходовой клапан особенно применяется для водяного теплого пола. Обычно температуры в радиаторе подогрева и пола не совпадают, для регулирования этого процесса и применяют устройство.
В данной статье мы поговорим об трехходовом клапане, его устройстве, установке, принципе работы и разновидностях. Применение такого агрегата просто необходимо в системе ГВС.

Устройство трехходового клапана
Конструктивно он представляет два соединенных двухходовых крана в одном корпусе. Но в отличие от них полностью водяной поток горячей воды не перекрывается, а регулируется интенсивность его прохождения. За счет этого меняется температура горячей воды.

- Основные детали клапана:
- корпус;
- шток с запорной шайбой или металлический шарик;
- гайки крепления (муфты).
Клапаны со штоком позволяют автоматизировать управление посредством электромеханического привода. Это позволяет автоматически регулировать температуру воды. Шариковый клапан по принципу действия можно сравнить со смесителем на кухне. Они используются только в клапанах с ручным управлением.
Примите к сведению: выбирая кран, следует обратить внимание на материал, из которого сделан корпус. Латунный более легкий и долговечный в сравнении с чугунным.Чтобы разобраться, из чего состоит и как работает термосмесительный трехходовой кран самого распространенного седельного типа, следует изучить представленную ниже схему.
Внутри латунного корпуса с тремя патрубками методом литья устроены 3 камеры, проходы между которыми перекрываются тарельчатыми клапанами. Они закреплены на одной оси – штоке, выходящем из корпуса с четвертой стороны.

Виды
- Они различаются по способу управления. Условно можно поделить на клапаны:
- с ручным управлением;
- с термоголовкой;
- с электроприводом;
- гидравлические;
- пневматические.
В частном доме наиболее приемлемым будет клапан с электроприводом. Установленные внутри датчики выдают команду через контроллер на привод, если изменяются контролируемые параметры воды.
В результате становится теплее, или наоборот, прохладнее. Термосмесительный эффект происходит автоматически. При этом не важно, какой котел установлен в системе – газовый или твердотопливный.
Если нет возможности в системе отопления установить регулируемый клапан, то лучшим решением в этом случае станет клапан с термоголовкой.
Установка трехходового клапана в системе отопления
Термостатический смеситель устанавливают в систему отопления в смесительном узле при одно – или многоконтурном распределении тепла. Таких контуров может быть несколько. Принципиальная схема не изменится. Добавятся лишь новые элементы.
Например, смесительный узел. Наличие дополнительного контура распределения теплоносителя является его главной отличительной особенностью. Зачем он нужен? Для подключения дополнительных теплопотребителей. Например, теплого пола.
При выполнении монтажных работ по установке клапана необходимо помнить, что он устанавливается перед насосом системы. От соблюдения этого требования зависит работоспособность всей системы.
Во время врезания клапана нужно следить, чтобы в него не попали отходы сварки (шлак, капли расплавленного металла). Так же необходимо предусмотреть возможность легкого снятия клапана в процессе его эксплуатации. Такое действие понадобится при периодической проверке его работоспособности.
Выбор
Чтобы правильно выбрать клапан нужно учитывать очень много различных нюансов.
- В первую очередь:
- количество контуров в отопительной системе;
- конструктивная особенность управления клапаном;
- диаметр входного патрубка;
- пропускная способность трубопроводов системы отопления;
- материал, из которого изготовлен клапан.
С количеством контуров системы отопления легко разобраться самостоятельно. С остальными моментами выбора все обстоит намного сложнее. Чтобы узнать, как устроен и работает трехходовой клапан, достаточно вникнуть в этот вопрос.
А для того, чтобы правильно определить даже его размеры, необходимо иметь понятие в термодинамике.
По своей сути 3-ходовой клапан является вентилем с термостатической головкой. При автоматизированном приводе управления он в состоянии распределять потоки горячей воды в нужном направлении и в необходимом количестве.
Вентили с подобной задачей справиться не в состоянии, что говорит о необходимости наличия трехходового клапана в системе отопления. Используя клапан в системе отпадает необходимость придумывать какой-то выносной пульт управления ею. Все делается без участия человека.
Как работает трехходовой клапан в системе отопления

Принцип работы клапана заключается в смешивании потоков воды с разной температурой. Для чего это нужно делать? Если не вдаваться в технические подробности, можно ответить так: для продления срока службы отопительного котла и его более экономичной работы.
Трехходовой клапан смешивает нагретую воду с остывшей после прохождения по отопительным приборам и направляет ее снова в котел для нагрева. На вопрос, какую воду нагреть быстрее и легче – холодную или горячую – в состоянии ответить каждый.
Одновременно со смешиванием клапан потоки еще и разделяет. Возникает естественное желание автоматизировать сам процесс управления. Для этого клапан оснащается термодатчиком с терморегулятором. В этом случае лучше всего здесь справляется электрический привод. От устройства привода зависит качество функционирования всей системы отопления.
- Такой клапан устанавливается в тех местах трубопровода, где необходимо разбить циркуляционный поток на два контура:
- С постоянным гидравлическим режимом.
- С переменным.
Обычно постоянный гидравлический поток используют потребители, для которых подается качественный теплоноситель определенного объема. Регулируется он в зависимости именно от качественных показателей.
Переменный поток потребляют те объекты, для которых качественные показатели не являются главными. Им важен количественный коэффициент. То есть для них регулировка подачи производится по требуемому количеству теплоносителя.
Есть в категории запорной арматуры и двухходовые аналоги. В чем отличие этих двух видов? Трехходовой клапан работает совершенно по-другому. В его конструкции шток не может перекрыть поток с постоянным гидравлическим режимом.
Он всегда открыт и настроен на определенный объем теплоносителя. А значит, потребители будут получать необходимый объем как в количественном, так и в качественном эквиваленте.
По сути, клапан не может перекрыть подачу на контур с постоянным гидравлическим потоком. А вот переменное направление он перекрывать способен, тем самым позволяя регулировать напор и расход.
Если совместить два двухходовых клапана, то получится трехходовая конструкция. При этом оба клапана должны работать реверсивно, то есть при закрытии первого обязательно открывается второй.
Виды трехходовых клапанов по принципу работы
- По принципу действия этот вид делится на два подвида:
- Смесительные.
- Разделительные.

Уже по названию можно понять, как работает каждый тип. У смесительного один выход и два входа. То есть он выполняет функцию смешивания двух потоков, что необходимо для понижения температуры теплоносителя. Кстати, для создания нужной температуры в системах теплых полов это идеальное устройство.
Регулировать температуру выходящего потолка достаточно просто. Для этого необходимо знать температуру двух входящих потоков и точно рассчитать пропорции каждого, чтобы на выходе получить требуемый температурный режим. Кстати, этот вид устройства, если его правильно установить и отрегулировать, может работать и по принципу разделения потоков.
Трехходовой кран разделительного действия разбивает основной поток на два. Поэтому у него два выхода и один вход. Этот прибор обычно используется для разделения горячей воды в системах горячего водоснабжения. Нередко специалисты устанавливают его в обвязках воздухонагревателей.
По внешнему виду оба устройства ничем не отличаются между собой. Но если рассмотреть их чертеж в разрезе, то есть одно различие, которое сразу же бросается в глаза. В смесительном приборе установлен шток с одним шаровым клапаном.
Он располагается в центре и перекрывает седло главного прохода. В разделительном таких клапанов два на одном штоке, и они устанавливаются в выходных патрубках. Принцип их действия таков — первый закрывает один проход, прижимаясь к седлу, а второй в это время открывается другой проход.
- Современный трехходовой кран делится на два типа по способу управления:
- Ручной.
- Электрический.
Чаще приходится сталкиваться с ручным вариантом, который похож на обычный шаровой кран, только с тремя патрубками — выходами. Электрические автоматические системы чаще всего используются для распределения тепла в частном домостроении.
К примеру, можно настроить температуру по комнатам, распределяя теплоноситель в зависимости от удаленности помещения от нагревательного котла. Или обеспечить совмещение с системой теплого пола. Большие по проходимости приборы устанавливают на теплопроводах между зданиями.
Как и любое устройство, трехходовой кран определяется по диаметру подводящей трубы и давлению теплоносителя. Отсюда и ГОСТ, который позволяет провести сертификацию. Несоблюдение ГОСТа является грубым нарушением, особенно, когда дело касается давления внутри трубопровода.
Схема теплого пола с трехходовым клапаном
Когда есть понимание, что такое трехходовой клапан и в чем состоит его работа, можно рассмотреть различные схемы подключения, зависящие от назначения и роли элемента в отоплении дома.
- Установка термосмесительного клапана производится в таких случаях:
- Для защиты твердотопливного котла от воздействия конденсата и температурного шока после внезапных отключений электроэнергии.
- Теплоноситель в контурах теплых полов должен прогреваться не более чем до 45 °С, что обеспечивается смесительным узлом с трехходовым краном.
- Для поддержания необходимой температуры теплоносителя в разных местах системы.
- Чтобы защитить тепловой агрегат на твердом топливе от образования конденсата, нельзя во время его разогрева допускать подачу в котловой бак остывшей воды из радиаторной сети.
Для этого используется следующая схема подключения котла с байпасом и трехходовым смесительным клапаном:

Схема работает так. Пока теплогенератор не прогрелся, вода циркулирует по малому кругу через байпас. При нагреве теплоносителя в обратке до 50—55 °С клапан начинает открываться и подмешивать холодный теплоноситель из системы. При выходе отопителя на рабочий режим байпас перекрывается и весь поток идет через радиаторы.
В системе теплых полов данный элемент выполняет те же функции. Циркуляционный насос гоняет теплоноситель по греющим контурам до тех пор, пока он не начнет остывать. Как только это произойдет, сработает датчик и термоголовка, после чего трехходовой клапан станет добавлять в замкнутый контур горячую воду, идущую от котла.
Как своими руками правильно выполнить монтаж коллектора теплых полов, насоса и клапана, показано на схеме:
Следующий пример использования и подключение этой важной детали – обвязка твердотопливного теплогенератора и буферной емкости, являющейся аккумулятором тепла.
Чтобы прогреть ее целиком достаточно быстро, температура подаваемого теплоносителя должна быть от 70 до 85 °С, каковая вовсе не нужна в системе радиаторного отопления. Понизить ее как раз и помогает трехходовой клапан, установленный за емкостью вместе с отдельным циркуляционным насосом.

Сложная отопительная система большого коттеджа может иметь множество потребителей, подключаемых посредством гидрострелки и распределительного коллектора.
Причем в каждый из контуров надо подать теплоноситель с разной температурой. Самая высокая нужна бойлеру косвенного нагрева, поэтому на подводке к нему регулирующей арматуры нет. Остальным потребителям нужен более холодный теплоноситель, а потому они подключены через трехходовые клапаны.

- В зависимости от направления потоков, термостатический клапан представлен двумя моделями:
- Т-образная или симметричная схема. При таком подключении вода – горячая и холодная входит через боковые отверстия, а после смешивания жидкость вытекает через центральный ход.
- L-образная или асимметричная схема. В таком случае горячая вода поступает с одного бока, а холодная – снизу. Впоследствии смешанный поток выходит из второго бокового хода.

Схема подключения трехходового смесительного клапана.
Устанавливается смесительный кран, оборудованный терморегулятором, если требуется обеспечить стабильную температуру теплоносителя.
- Рассматривая смесительный узел, можно выделить в нем следующие составные части:
- клапан обратный;
- датчик температурный;
- насос циркуляционный;
- смесительный трехходовой клапан.

Схема смесительного узла для теплого пола
Схема подключения включает циркуляционный насос, монтируемый на подачу. Затем устанавливается температурный датчик, необходимый для определения степени нагрева поступающей воды.
После этого идет термостатический клапан. На «обратку» монтируется обратный клапан с выходом, который присоединяется к трубе с циркулирующей охлажденной жидкостью, направляемой к смесительному клапану.
- При подобной схеме подключения теплоноситель движется по следующему маршруту:
- Закачивание горячей воды при помощи циркуляционного насоса в систему оборудуемого теплого пола. Температура теплоносителя может достигать 80°С.
- Смешивание с холодной водой при прохождении трехходового клапана. В результате достигается нужная температура.
- Распределение теплоносителя по трубам теплого пола.
- Возвращение остывшей воды в «обратку», откуда она забирается в трехходовой клапан для последующего смешивания с горячей жидкостью.
При подобном подключении регулирование степени нагрева поступающей в водяной контур воды осуществляет температурный датчик. Есть и другие способы управления. Самый неэффективный – это ручной метод, когда требуется изменять поступление потоков поворотом рукоятки.
Есть вариант управления при помощи сервопривода, команды на который поступают от контроллера сообразно сигналам, поступающим от датчиков.

Схема узлов на основе трехходового смесительного и термостатического клапанов для теплых полов.
Термостатический кран при оборудовании водяного теплого пола играет важную роль. Не допуская перегревания поступающего в трубы теплоносителя, он позволяет экономить топливо. Кроме этого, обеспечивается безопасность при эксплуатации достаточно сложной системы обогрева и продляется срок безаварийной службы.
Схема установки разделяющего трёхходового клапана
Обеспечивает количественное регулирование у потребителя — за счёт изменения расхода теплоносителя. Применяется, если по условиям эксплуатации источника тепла допускается перепуск теплоносителя в обратный трубопровод и не допускается прекращение циркуляции в контуре источника.
Данная схема установки трёхходового клапана, получила широкое применение в узлах нагрева воды и воздуха, подключённых от автономной котельной. Для увязки гидравлических контуров, потери напора на балансировочном клапане в байпасной линии, должны равняться потерям напора у потребителя.
Данная схема установки трёхходового клапана предназначена для подключения к трубопроводу с избыточным напором. Циркуляция теплоносителя в контуре потребителя обеспечивается за счёт избыточного напора, созданного циркуляционным насосом в контуре источника тепла.

Схема установки разделяющего трёхходового клапана
Схемы установки смешивающего трёхходового клапана на разделение
Обеспечивает количественное регулирование у потребителя с использованием смесительного трёхходового клапана. Применяется если по условиям эксплуатации не допускается прекращение расхода в контуре источника, а перепуск теплоносителя из подающего трубопровода в обратный — допустим.
Подобные схемы подключения трёхходовых клапанов получили широкое распространение в обвязке воздухонагревателей и воздухоохладителей, а также в узлах подогрева воды установленных в автономных котельных.
На подмешивающем патрубке трёхходового клапана рекомендуется установить балансировочный клапан с гидравлическим сопротивлением равным, сопротивлению потребителя. Циркуляция через потребителя и байпас осуществляется за счёт избыточного напора в контуре источника.
При правильном подборе клапана и гидравлической увязке байпаса с контуром потребителя, расход через источник тепла постоянный, а в контуре потребителя — переменный.

Схема подключения смешивающего трёхходового клапана для разделения потока, к напорному коллектору
Так как, поток воды движется в направлении противоположном направлению потока в смешивающем клапане, на некоторых клапанах возможно увеличение шума и вибрации, а также снижение допустимого перепада давлений на клапане.
Схема установки смешивающего трёхходового клапана для разделения к гидравлической стрелке При подключении узла с разделяющим трёхходовым клапаном к источнику тепла непосредственно или безнапорному коллектору, в подающем или обратном трубопроводе необходимо установить циркуляционный насос. Насос может быть общим для нескольких контуров.

Схему подключения трёхходового клапана, разделяющего поток, с дополнительным байпасом в контуре потребителя, параллельным подмешивающей линии, используют при условии превышения температурного режима источника над температурным режимом потребителя.
Особенность данной схемы в том, что расходы в контуре источника и потребителя будут постоянными, а к потребителю не поступит перегретый теплоноситель. У потребителя будет обеспечено качественное регулирование. Для работы данной схемы необходима установка насоса в контуре потребителя и в контуре источника.

Трехходовой смесительный клапан с термоголовкой
Клапан с терморегулятором гарантирует практичность и эффективность функционирования системы. Трехходовые клапаны для отопления призваны регулировать тепловой поток, что обеспечивает комфорт в помещении и экономичность использования.

Прежде чем приступать к проектировке отопительной системы, производится тепловой расчет. На основе его результатов выбирается подходящая мощность и тип отопительных приборов, способных поддерживать оптимальный температурный режим в помещении.
В расчет берется площадь помещения, после чего анализируют возможные теплопотери. Исходя из этого, рассчитывается производительность отопительной системы, необходимая для создания в комнатах комфортного микроклимата. После чего для всех помещений составляется тепловой баланс.
Однако, данные расчеты производятся при конкретных условиях, которые могут меняться в процессе эксплуатации.
- Факторы, влияющие на работу радиатора, различны:
- температурные перепады на улице;
- солнечная активность;
- сила ветра;
- наличие бытовых приборов, генерирующих тепло.
В результате, просчитанный температурный баланс нарушается, и в помещении становится жарко. Однако, изъять из комнаты части радиатора или заглушить тепловое излучение невозможно. Таким образом, возникает необходимость управлять генерируемой тепловыми приборами энергией, чтобы поддерживать в помещении комфортный микроклимат.
- Есть два пути регулировки выделяемой радиатором энергии:
- Качественное изменение свойств радиатора.
- Количественное регулирование выделяемого тепла.
- В обоих случаях необходимы манипуляции с циркулирующей по трубам жидкостью.
В случае, когда вы не можете повлиять на температуру воды, поступающей к радиатору, можно регулировать ее количество. Для этого и необходимо купить трехходовые клапаны для отопления с терморегулятором.
Эти устройства позволяют ограничить количество воды, проходящей через радиатор, и в результате при одной и той же площади батареи в комнату будет поступать больше или меньше тепла, разумеется, в пределах, ограниченных мощностью системы.

Устройство трехходового смесительного клапана с термостатом
Трехходовой клапан для отопительной системы и регулятор температуры, устанавливаемый на радиаторе, могут использоваться по отдельности, однако в автономных отопительных системах современных квартир и частных коттеджей зачастую применяют комбинированный способ для повышения эффективности.
Таким образом, целесообразна покупка трехходового клапана для отопления с терморегулятором.
Важно учитывать, что принцип работы трехходового смесительного клапана позволяет повышать или понижать температуру радиатора лишь в установленных границах. Пределы эти продиктованы техническими характеристиками теплового прибора, а именно, значением его максимальной теплоотдачи, и зависят от каждого конкретного радиатора.
Сервопривод для трехходового клапана
Сервопривод — это электродвигатель, управляемый через отрицательную обратную связь. В данном случае отрицательной обратной связью будет датчик угла поворота вала, который прекращает движение вала при достижении нужного угла.
Для наглядности рассмотрим устройство сервопривода по рисунку:

- Как видно, внутри сервопривода расположены следующие составные части:
- Электрический мотор.
- Редуктор, состоящий из нескольких шестеренок.
- Выходной вал, которым привод вращает клапан или другое устройство.
- Потенциометр — эта та самая отрицательная обратная связь, с помощью которой осуществляется управление углом поворота вала.
- Управляющая электроника, которая расположена на печатной плате.
- Провод, по которому подводятся напряжение питания (220 или 24 В) и управляющий сигнал.
Давайте теперь подробно остановимся на управляющем сигнале. Сервопривод управляется импульсным сигналом с изменяемой шириной импульса. Для тех кто не знает о чем идет речь, привожу еще одну картинку:

То есть ширина импульса (по времени) определяет величину угла поворота вала. Настройка таких управляющих сигналов дело нетривиальное и зависит от конкретного привода. Количество управляющих сигналов зависит от того, сколько положений может занимать выходной вал.
Сервопривод может быть двухпозиционным (2 управляющих сигнала), трехпозиционным (3 управляющих сигнала) и так далее.
Клапан трехходовой регулирующий с электроприводом

В качестве электрического привода трехходовых регулирующих кранов с электроприводом выступают различные элементы.
- Существует две разновидности:
- трехходовые краны для отопления с электроприводом в виде электрического магнита;
- трехходовые клапаны с сервоприводом на базе электрического мотора.
Исполнительный механизм получает команду прямиком от температурных датчиков или от управляющего контроллера. Модели трехходовых кранов для отопления с электроприводом наиболее эффективны, так как позволяют обеспечивать максимально точную регулировку тепловых потоков.
Трёхходовой регулирующий клапан — предназначен для смешения или разделения потока теплоносителя, поэтому их ещё называют смесительными и разделительными клапанами. Трёхходовые регулирующие клапаны имеют три патрубка для присоединения к трубопроводу.
Наиболее широкое распространение получили в системах теплоснабжения подключённых от автономных котельных, в которых нет необходимости в ограничении расхода при сохранении коэффициента смешения.
Они устанавливаются для управления теплоотдачей калориферов системы вентиляции, теплообменных аппаратов систем горячего водоснабжения и отопления подключённых по независимой схеме, управления процессом смешения в системах отопления с зависимым подключением в котельной.
Трёхходовой клапан с электроприводом — это трубопроводная арматура, предназначенная для качественного и количественного регулирования. Трёхходовые клапаны выполняют функцию исполнительного устройства в схемах автоматизации систем теплоснабжения зданий.
Управляют клапаном с помощью электропривода, по сигналу электронного регулятора, либо от центральной системы диспетчеризации. Работа трёхходового клапана основана на создании в циркуляционном кольце контуров с постоянным и переменным гидравлическим режимом, за счёт разделения одного потока или смешения двух потоков теплоносителя.
Вне зависимости от положения штока в трехходовом клапане, циркуляция не прекращается, поэтому такой тип устройства не годится для уменьшения расхода теплоносителя. В этом основное отличие шарового трехходового крана с электроприводом от двухходовых кранов, регуляторов и других устройств.
Данный клапан предназначен для смешивания или разделения, распределения потоков. Разделительный клапан регулирует количество воды, пуская часть жидкости по байпасному пути вместо прямого. Два патрубка устройства служат для выхода, а один – для входа.
Принцип действия трехходового смесительного клапана с термоголовкой основан на подмешивании к горячему теплоносителю более холодного или к холодному более горячего. В результате качественная характеристика, а именно температура теплового потока изменяется, при этом уровень этого изменения зависит от установленной пропорции соединяемых струй.
Два порта для входа и один для выхода могут также выполнять разделительную функцию. Такие клапаны могут использоваться в различных съемах.
Часто актуально использование трехходовых клапанов для твердотопливных котлов, в камере которых выпадает конденсат в начале топки. В таком случае клапан помогает временно отсечь холодную воду, а по короткому контуру пустить часть нагретой жидкости.
Источники: gidotopleniya.ru, teplo.guru, kaminyn.ru, otivent.com, remoo.ru, znayteplo.ru, znayteplo.ru, gidro-term.com.ua, remoo.ru
first-apartment.ru
Клапан трехходовой для отопления
Трехходовой клапан – это специальный фитинг, предназначенный для смешения или разделения жидкостей.
Оборудование такого типа широко применяется в системах водоснабжения и отопления. Более того, которые трубопроводы отопления без трехходовых кранов и вовсе невозможно эксплуатировать в полной мере.
Латунный трехходовой клапан
Что же они собой являют и какие задачи выполнят? Сейчас узнаем.
Cодержание статьи
Назначение и особенности
Рассматривая стандартный двухходовый клапан или кран, мы видим фитинг, соединяющий две трубы. Краном или клапаном его называют по причине наличия возможности в любой момент это соединение перекрыть, за счет вращения или смещения всего одного элемента.
Достаточно повернуть ручку, и дело сделано. Двухходовые модели кранов встречаются на каждом более-менее протяжном трубопроводе. Трехходовой клапан – имеет несколько иные задачи, хотя во многом их предназначения схожи.
Трехходовой клапан управляет не одним, а сразу двумя потоками. Он может смешивать их, контролировать температуру, разделять, перенаправлять и т.д.
Самый популярный и часто встречаемый образец – трехходовой клапан Esbe для отопления, иногда его еще называют балансировочным, смесительным, регулирующим или термостатическим.
Конструкция
Клапан такого типа имеет довольно тривиальную конструкцию. Он состоит из:
- Корпуса.
- Запорного элемента.
- Уплотнителей.
- Ручки переключателя.
- Автоматики, датчиков и другой электроники (необязательно).
Прежде чем купить такой клапан нужно определиться с его свойствами и конструкцией. Чем надежнее конструкция, тем дольше он вам прослужит. А для системы отопления, функционирующей на постоянной основе, надежность конструкции и долговечность – ключевой момент.
Конструкция клапана в разрезеКорпус клапана делается из стали или латуни. Латунь предпочтительнее, так как имеет лучшие характеристики и в общем, намного долговечнее стали, особенно в сантехнической сфере.
Трехходовой клапан на системе отопления предназначенный для подключения котла или любого другого отопительного инструмента имеет два входа и один выход. Входы принимают воду с разных труб, а выход подает ее дальше.
Запорным элементом в клапане выступает шаровый механизм, задвижка с седелками или золотник. С его помощью осуществляется регулировка и смешение потока из двух веток в одну, таким образом перенаправляя носитель так, как нам того требуется.
Дабы избежать протеканий и улучшить качество трехходовых отопительных клапанов все элементы внутри корпуса оборудуют уплотнителями, преимущественно резиновыми. Уплотнители наклеивают на любое уязвимое или потенциально уязвимое место.
Ручка переключателя может быть обычным механизмом, с двумя крайними рабочими позициями, а может и являть собой полноценный вентиль, не только механический, но и с электроникой. Переключатель позволяет настроить работу клапана так, как нам необходимо.
Что же до последнего пункта, то он вовсе необязателен. Современные образцы оборудуют большим количеством электроники. Используют: электронные приводы, соленоидные переключатели, электромагнитные конструкции, датчики, системы автоматического или дистанционного контроля. Вся эта начинка предназначена для улучшения функциональности клапана и всей системы в общем, однако ставят ее не на каждый образец.
Принцип действия и применение
Поговорим о том, как же следует использовать краны или клапаны для улучшения производительности твердотопливного котла.
Для примера возьмем стандартную отопительную систему в частном доме, работающую за счет твердотопливного котла средней мощности.
Система отопления функционирует с помощью котла, нагревающего воду и подающего ее в трубы. По трубам вода растекается, подается на радиаторы, теплый пол и т.д.

Распределение жидкости
Подающая труба с только что нагретым носителем называется трубой подачи. Вода проходит по трубе подачи полный цикл и по трубопроводу возвращается по трубам обратки или обратной подачи к котлу с другой стороны.
После прохождения всей отопительной ветки носитель отдает часть своего тепла трубам, радиаторам и другими отопительным приборам. В нагревательной камере твердотопливного котла регистрируется снижение температуры, снова запускается процесс обогрева и все происходит по новой.
Каждый цикл заканчивающийся запуском котла – это потраченные ресурсы. Если мы говорим про использование котла твердотопливного, то еще и время, затраченное на поддержку в нем нужной температуры.
Очевидно, что количество запусков в целях экономии хотелось бы сократить. Вот где нам и пригодятся трехходовые клапаны.
Эти умные фитинги внедряют в ветки отопления, сводя трубы подачи и обратки в одном месте. В образуемом узле происходит так называемое смешение, то есть подогретая жидкость подмешивается к жидкости из труб обратки, поднимает ее температуру до нужного уровня и подает дальше в систему.
Само использование твердотопливного или обычного котла в таком случае сводится к регулярному, но менее частому и более экономному подогреву жидкости и подаче ее на клапан.

Подключение клапана к трубе подачи и обратки
В чем преимущества такого подхода? В уменьшении количества затраченных ресурсов. Не факт что на обратной подаче вода сильно снизила температуру, не факт что ее полноценный обогрев вообще нужен. Если смешать в клапанном узле, то можно избежать лишних затрат ресурсов, повысив общую эффективность и производительность схемы отопления.
Доказано, что правильно установленный и настроенный трехходовой фитинг снижает количество затраченных на отопление ресурсов на 20-30%. А если он еще и автоматический, то экономия может доходить до 50% и больше.
Преимущества автоматики
В магазине перед вами наверняка встанет вопрос, стоит ли купить продвинутый автоматический клапан, или обойтись его более дешевыми аналогами.
Решать, конечно, вам, мы только отметим, что чем лучше работает автоматика, тем больше вы сэкономите. Качественные автоматические клапаны имеют датчики контроля температуры в корпусе, их можно настроить так, чтобы устройство смешивало воду так, как вам того хочется, а если температура все еще недостаточна, то запускало котел в усиленном режиме.

Клапан с автоматикой
Наличие датчиков и автоматики также избавляет вас от необходимости время от времени диагностировать работу устройства. Исключения составят поломки, но от них, к сожалению, никуда не денешься. Любая техника ломается, а чем больше в ней сложных деталей, тем больше вероятности образования поломки.
Советуем вам перед тем как купить устройство, оценить все его свойства, конструкцию и функции. Убедитесь в том, что его функционал вас полностью удовлетворяет и, что очень важно, не делает ничего лишнего. Переплачивать за лишние возможности – не лучший способ экономии.
Старайтесь покупать только клапаны качественные, от продвинутых производителей. При покупке стоит обратить внимание на клапаны Danfoss, Stad, Cimberio и т.д. Стоит она на порядок дешевле китайских аналогов, зато прослужит вам дольше и проблем от нее не будет.
Выбор клапана для отопления (видео)
Расценки
Что же до конкретных расценок, то есть зависимость от множества факторов. Учитывается используемый материал, количество технологий, имя производителя, назначение клапана и т.д. Качественный ручной образец с простейшим распределителем стоит от 10 до 20-25 долларов.
Другое дело, модели автоматические. Чем больше на них датчиков, систем внутреннего контроля и прочих подобных примочек, тем дороже они стоят. Простейшая автоматика обходится в 30-50 долларов, а если брать действительно качественную и продвинутую модель, то ее реально купить по цене от 60 долларов за единицу.
Учтите также, что продвинутые автоматические клапаны следует сочетать с котлом, имеющим соответствующий функционал, как-то возможность принимать данные с удаленных датчиков и т.д. Только в такой связке реально добиться от схемы отопления максимальной эффективности вместе с удивительной экономией.
Другие похожие статьи по теме:
trubypro.ru
9 основных клапанов для систем отопления. Какие особенности и для чего служат?

В систему отопления зачастую входят механизмы регулирования и механизмы обеспечивающие безопасность эксплуатации. По другому их называют клапанами систем отопления. При помощи данных элементов регулировки происходит изменение параметров теплоснабжения, они также обеспечивают стабильное функционирование и производят автоматическую настройку. Рассмотрим клапаны и регуляторы системы отопления, так как предназначения и функции у них различаются.
Трехходовой клапан отопления

Обычно автоматикой котла не может быть обеспечена потребность в воде с разной температурой для нескольких контуров системы отопления. На помощь приходит трехходовой термостатический смесительный клапан системы отопления, который поддерживает необходимые тепловые параметры теплоносителя в контурах системы отопления, а также малом контуре системы.
На вид клапан походит на простой тройник, металл — бронза или латунь. Вверху данного тройника устанавливается регулировочная шайба, под которой имеется материал чувствительный к перепаду температур. И при необходимости он давит на рабочий шток, выходящий из корпуса. Основная задача клапана основана на удержании температуры теплоносителя на выходе в заданных пределах, путем добавления холодной или горячей воды. При неподходящих температурных изменениях, внешний привод клапана давит на шток. Далее конус выходит из седла и открывается проход между всеми каналами. В ходе работы, контроль за трехходовым клапаном согласно температуре исполняется наружным приводом.
Обратный клапан отопления

В сложной системе отопления присутствует довольно большое количество вспомогательных элементов, задача которых обеспечить надежность и бесперебойность работы. Одним из этих элементов является обратный клапан системы отопления. Обратный клапан ставят для того, чтобы не было протока в обратную сторону. Его элементы обладают очень большим гидравлическим сопротивлением. В связи с этим обстоятельством существуют ограничения по использованию обратных клапанов в системе отоплении с естественной циркуляцией. В такой системе слишком малое давление. При минимальном давлении необходимо ставить гравитационные клапаны с поворотной заслонкой, некоторые из них могут срабатывать при давлении в 0,001 Бар. Основная деталь обратного клапана — это пружина, применяемая почти во всех моделях. Именно пружина перекрывает затвор при изменении нормальных параметров. Это и являет собой принцип работы обратного клапана.
Необходимо учитывать рабочие параметры в той или иной системе отопления. В связи с чем подбирать клапан системы отопления, который имеет необходимую упругость пружины.
Применяемая в отопительных системах запорная арматура обычно изготавливается из следующих материалов: сталь; латунь; нержавеющая сталь; серый чугун.
Обратные клапана подразделяются на следующие виды: тарельчатые; лепестковые; шаровые; двустворчатые. Различаются эти виды клапанов запирающим устройством.
Регулирующие (запорно-регулирующие) клапаны отопления

Регулирующие и запорно-регулирующие клапаны отопления осуществляют систематическое изменение потока теплоносителя, от максимума до минимума, при открытом и закрытом положении клапана. Отсечные или запорные клапана управляют теплоносителем дискретно при полностью открытом или полностью закрытом положении затвора. В состав регулирующего клапана входят три основные блока: корпус, дроссельный узел и привод клапана. Запирающим и регулирующим элементом клапана является дроссельный узел. При выборе втулки, седла, плунжера следует обращать внимание на условия эксплуатации клапана. Учитывается среда и ее температура, наличие примесей, пропускная способность. Основным и важным значением в работе клапана является правильное направление подачи рабочей среды. Обычно оно промаркировано стрелкой на рабочей поверхности корпуса.
Термостатический клапан

В современных реалиях терморегулирующий вентиль — это предварительная норма современного и надежного оборудования в системе отопления. Температура вентиля автоматически регулируется. Работа смесительного клапана системы отопления для радиаторов заключается в ограничении уровня подачи на отдельный радиатор отопления. Шток вентиля производит движения на открытие и закрытие отверстия. Через это отверстие происходит поступление теплоносителя в радиатор. При нагревании вентиля с термостатической головкой, осуществляется закрытие входного отверстия, вследствие чего уменьшается расход теплоносителя. Вентиль терморегулирующийся постоянно изменяет свое положение. И немаловажным фактором является качество материалов на основе которых изготавливается данное изделие. Изделие может выходить из строя из-за заедания штока, а также значительной коррозии и прорыва уплотняющих материалов. Но и в случае выхода терморегулирующего вентиля из строя можно продлить срок его эксплуатации, заменив термостатический элемент.
Клапана системы отопления с термоголовками отличаются в зависимости от формы и варианта подвода к системе теплоснабжения. Они могут быть угловые при подводе к радиаторам с пола, также бывают прямые, которые соединяют трубы с батареей относительно поверхности стены. Осевые, в основном, при соединении труб из стены к батареи. При боковом подключении батарей необходим специальный комплект. В нем используются термостатические головки и клапана. Заведомо батареи идущие с нижним подключением, оборудованы вкладышами клапанного типа.
Регулятор давления

Работа батарей и насоса нарушается в следствии высокого либо низкого уровня давления. Избежать данного негативного фактора поможет правильный контроль в системе отопления. Давление в системе играет значительную роль, оно обеспечивает гарантию попадания воды в трубы и радиаторы. Потери тепла сократятся, если давление будет стандартным и поддерживаться. Здесь приходят на помощь регуляторы давления воды. Их миссия, прежде всего, охранять систему от слишком большого давления. Принцип работы этого устройства основан на том, что клапан системы отопления, находящийся в регуляторе, работает как выравниватель усилий. От типа давления регуляторы классифицируются на: статистические, динамические. Выбирать регулятор давления необходимо основываясь на пропускную способность. Это способность пропускать нужный объем теплоносителя, при наличии необходимого постоянного перепада давлений.
Перепускной клапан отопления

Для сброса рабочей среды служит перепускной клапан терморегулятора системы отопления, который функционирует в обратку при значительном повышении давления. Как правило давление растет за счет достижения установленной в ручном режиме максимальной температуры, подача теплоносителя в радиатор снижается, в следствии чего давление и повышается. Перепускные клапаны системы отопления, в основе своей, предназначены для того, чтобы обеспечить стабильную разность между обратным и подающим трубопроводом. При уменьшении тепловой нагрузки, термостатические вентили закрываются, что приводит к перепаду давления между трубопроводами. В следствии использования перепускного клапана снижается нагрузка на насос, увеличивается температура в обратке, происходит защита котла от коррозии. Область применения перепускного клапана системы отопления довольно широка, он также используется для предотвращения шумообразования терморегуляторов. Установка перепускных клапанов осуществляется не только у нерегулируемого насоса, но и на перемычки стояков.
Клапаны предохранительные

Источником опасности является любое котельное оборудование. Котлы считаются взрывоопасными, так как имеют водяную рубашку, т.е. сосуд под давлением. Одно из самых надежных и распространенных предохранительных устройств, сводящее опасность до минимума — это предохранительный клапан системы отопления. Установка данного приспособления обусловлена защитой систем отопления от избыточного давления. Зачастую такое давление возникает в результате закипания воды в котле. Предохранительный клапан ставится на подающем трубопроводе, как можно ближе к котлу. Клапан имеет довольно простую конструкцию. Корпус изготовлен из латуни хорошего качества. Основным рабочим элементом клапана является пружина. Пружина в свою очередь действует на мембрану, которая закрывает проход наружу. Мембрана выполнена из полимерных материалов, пружина из стали. Выбирая предохранительный клапан следует учитывать, что полное открытие происходит при повышении давления в отопительной системе над значением на 10%, а полное закрытие при снижении давления ниже срабатывания на 20%. В следствии данных характеристик необходимо выбирать клапан с давлением срабатывания выше 20-30% от фактического.
Балансировочный клапан
Балансировочный клапан системы отопления предназначается для регулирования проходимого теплоносителя. Жидкость потребляется в зависимости от давления. Чем больше давление, тем больше потребляется жидкости. Установка данного прибора происходит на стояках. Отбалансированная система обеспечивает беспрерывную работу. Ручной клапан используется как диафрагма, автоматический поддерживает давление и потребление в стояках. Ручной балансирный клапан может перекрывать систему. Конструкция представляет собой устройство вентильного типа. Ручные клапаны могут устанавливаться в паре с запорными.
Регулятор расхода
Установив приборы учета энергии, закономерно возникает вопрос, как можно регулировать и контролировать подачу теплоносителя, ограничивать или добавлять его расход. Для этого существуют всевозможные автоматические регуляторы, применение которых позволяет экономить, они работают от датчиков температуры наружного воздуха и датчиков обратного трубопровода. Еще одно преимущество регуляторов температуры — это контроль температуры непосредственно в месте установки радиатора, в отличии от других устройств. Данное преимущество дает приоритет в получении равномерного температурного фона для комфортного пребывания в помещении. Регулятор предотвратит перегрев воздуха в помещении, чего не всегда смогут отследить датчики на централизованной автоматике. Представляется возможность регулировать температуру для каждой комнаты в отдельности. Иногда решая вопрос регулировки устанавливают обычные краны. Конечно данное решение уменьшает финансовые затраты, но лишает ряда полезных преимуществ. У крана ограниченная функциональность на открытие и закрытие. Существует опасность остановить или завоздушить стояк. Регулируя отопление при помощи кранов невозможно добиться необходимого температурного режима. Используя автоматические регуляторы можно наладить систему точно и эффективно.
eurosantehnik.ru
Трехходовой клапан для отопления с терморегулятором
Трехходовой клапан для отопления с терморегулятором и с электроприводом
Существует один из элементов запорной арматуры, который довольно часто используется в системах обогрева помещений. Обойтись без него при проектировании в любом случае не удастся. Это трехходовой клапан для отопления с терморегулятором. Устройство имеет форму тройника и предназначается для соединения или разделения потоков воды.

Смесительные клапаны
Контролировать нагревание выходящих потоков довольно просто. Для этого достаточно определить температуру входящей холодной и горячей жидкостей и регулировать их подачу в нужных пропорциях. По принципу работы трехходовые клапаны для систем отопления функционируют, как разделительные и смесительные. Как действует каждый вид устройства, можно понять по названию.
В смесительном клапане предусмотрены два входа и один выход. Такое устройство предназначено для объединения потоков, например, горячей и холодной воды, что необходимо для регулировки нагрева теплоносителя. Эти приборы идеально подходят для создания необходимой температуры в оборудованных системах теплых полов. Устройства такого типа могут также выполнять функцию разделения потоков, если установить их соответственно.
Разделительные клапаны
Трехходовой клапан для отопления с терморегулятором разделительного действия разводит на две части основной поток. Такие устройства чаще всего используются для подачи горячей воды в нескольких направлениях. Довольно часто специалисты монтируют эти клапаны в обвязках воздухонагревателей.
Отличие смесительных устройств от разделительных
Оба устройства ничем между собой не отличаются по внешнему виду. Если рассматривать схемы клапанов разного функционального назначения, можно легко заметить существенную разницу. В смесительных приборах устанавливается шток с единственным шаровым клапаном. Он размещен в центре для того, чтобы перекрывать седло входного отверстия. В разделительных устройствах на одном штоке таких клапанов целых два, и они монтируются в выходных патрубках. Когда первый открывает один проход, отодвигаясь от седла, второй в это время блокирует поступление воды по магистрали.
Способы управления
С каждым днем все большей популярностью у покупателей пользуется трехходовой клапан для отопления с электроприводом. Ручные устройства предпочитают покупать только в целях экономии. Автоматические электрические системы довольно часто используются в работе систем распределения тепла в частных домах.
Например, температура в комнатах может регулироваться отдельно, с учетом отдаленности от котла. Такие клапаны легко совместимы с системами теплого пола. На теплопроводе между зданиями часто устанавливаются приборы с увеличенной проходимостью.
Выбор клапана
Как и все остальные приборы, трехходовые клапаны различаются по давлению теплоносителя и диаметру подводящей трубы. Эти характеристики обуславливают создание ГОСТа, позволяющего проводить сертификацию. Несоблюдение государственных стандартов производителями является грубейшим нарушением потому, что вопрос может касаться давления внутри трубопроводов.

Функциональные преимущества
Нужно понимать, что трехходовые термостатические клапаны для отопления смесительного типа не меняют напора теплоносителя, а только регулируют соотношение подачи холодной и горячей воды в системе. Шток всегда оснащен двойным кольцевым уплотнителем, внешняя часть которого может быть заменена без необходимости дренирования всей конструкции. Корпус клапанов выполняется только из материалов, устойчивых к коррозии. На нержавеющем стоке предусмотрено двойное кольцевое уплотнение. Соединения выполняются при помощи паянного, резьбового или сварного фитинга.
Автоматические системы
Трехходовой клапан для отопления с терморегулятором Valtec может в автоматическом режиме корректировать температуру жидкости. Чтобы это было возможно, устройства оснащаются специальной системой привода, получающей импульсы от различных датчиков. Различают гидравлические, пневматические, электрические и другие приспособления.

Электроприводы
Наиболее распространенными считаются устройства с электроприводом, способные осуществлять самую точную регулировку температуры теплоносителей. Пусковым механизмом в такой системе могут служить электромагниты (соленоиды) или сложные сервоприводы, построенные на системах передач или электродвигателях малой мощности. Трехходовой клапан для отопления с терморегулятором может управляться при помощи температурных детекторов иди датчиков давления, которые монтируются в соответствующих частях узлов обвязки.
Кроме электрического, на клапанах может быть одновременно установлен другой тип привода. Комплектация такого вида расширит возможность выбора и монтажа регулирующей системы, способной наиболее оптимально обеспечивать качественную работу в каждом конкретном случае.
Техническая информация
Трехходовой регулируемый клапан для отопления является одной из разновидностей запорной арматуры и создается большей частью из нержавейки, латуни или чугуна. По способу затвора или форме такие механизмы разделяются на шаровые, цилиндрические и конусные. Возможна натяжная или сальниковая посадка затвора. Регулировка производится с нижней стороны устройства при помощи гайки или сверху с применением сальника.

Выбор устройства
Если нужно выбрать трехходовой клапан для отопления с терморегулятором, лучше предварительно определить тип системы, в которой он будет применяться. Следует обратить внимание на тип привода, а также регулирующее устройство механизма. Это может быть шар, вращающийся вокруг оси или шток, выполненный по какому-то конкретному принципу. Регулирующие элементы распределяют потоки жидкости, а не перекрывают их. Такие устройства очень эффективны и вполне надежны. Многие покупатели рекомендуют трехходовой клапан для отопления с терморегулятором Esbe.
Цены на трехходовые клапаны
Стоимость клапанов на отечественном рынке имеет весьма широкий диапазон и может зависеть от определенных факторов. Эта особенность характерна для большей части теплового оборудования. Главным отличительным качеством является материал, из которого сделано устройство. Чугунные и стальные клапаны большей частью используются в системах отопления и трубопроводах с большим потоком. Поэтому цена на такие устройства будет выше, чем на латунные, размеры которых значительно меньше.
Сегодня еще не придумана альтернатива трехходовым клапанам, поэтому только благодаря этим устройствам возможна регулировка температуры при подаче теплоносителя в систему отопления. Технология производства отточена до мельчайших нюансов, поэтому с выбором устройства, соответствующего конкретным требованиям, никогда не возникнет трудностей. Сегодня на отечественном рынке можно приобрести трехходовой клапан для отопления передовых европейских производителей. Качество этих устройств проверено несколькими десятками лет исправной работы.

Особенности применения устройств с электроприводом
Такие клапаны часто используются при смешивании или разделении потоков горячей, холодной воды или воздуха. Приборы функционируют вместе с приводными механизмами с регулируемой характеристикой. Регулирующие устройства нельзя устанавливать в положениях, допускающих попадание воды. В некоторых приборах при сборке необходимости в юстировке не возникает. Для этого предусмотрены специальные смесительно-распределительные клапаны.
Монтаж
Смешивающий или разделяющий трехходовой клапан для отопления необходимо устанавливать соответственно назначению с использованием обычных резьбовых соединений с плоскими уплотнителями. Обязательно необх
www.teplo-ltd.ru
виды, термостатический смесительный клапан для котла, термосмесительный клапан, подключение
Содержание:
В современных системах обогрева помещений, работающих на твёрдом топливе, есть возможность установки трёхходового клапана для твердотопливного котла, который помогает регулировать режим температуры теплоносителя, идущего к батареям. Это актуально ещё и в связи с тем, что в системах, которые работают на твёрдом топливе, существует такая проблема, как резкие перегревы и закипание жидкости, выполняющей роль теплоносителя. Не всегда есть возможность проконтролировать этот процесс, поэтому установка такого оборудования ещё и выполняет роль системы безопасности.

Как работает клапан и для чего он нужен
Стремление к экономии энергоресурсов приводит к созданию всё новых видов оборудования, которое позволяет решать эту задачу. По своей конструкции трёхходовые клапаны объединяют в себе пару двухходовых устройств. Однако они не перекрывают течение теплоносителя, а выполняют функцию регулировки интенсивности водного потока для достижения нужного температурного режима.
Важно. Трехходовой клапан дает возможность, не меняя площадь радиаторов, обеспечивать помещение необходимым количеством тепла, исключительно в границах мощностных характеристик отопительной системы.

У трехходового клапана бывают внешне различные конфигурации и разные типы приводов, но задача одна: смешать два потока воды разной температуры в один поток с установленным температурным уровнем. Жидкость при этом будет перемещаться от одного патрубка к другому, пока температура не дойдёт до необходимой величины. После этого привод будет поэтапно впускать теплоноситель из третьего патрубка для поддержания температуры требуемого температурного уровня. Поэтому и называют его «трёхходовой клапан», так как все действия происходят в три шага.
Главное назначение трехходового смесительного клапана для котла — стабильное поддержание в помещении комфортного теплового баланса. При этом такая задача решается не путём уменьшения температуры теплоносителя, а путём изменения количества жидкости. Это особенно актуально в случаях, когда температуру теплоносителя другим путём понизить невозможно. Несмотря на то, что устройство выполняет такую сложную задачу, по своей конструкции оно достаточно простое.
Конструктивные отличия устройства
По конструктивным отличиям трёхходовые клапаны делятся на следующие виды:
- Смесительный клапан с регулированием штока вверх и вниз («шток-седло»). Шток перемещается с помощью электромеханического привода. По сути, здесь речь идёт о предельной автоматизации работы и регулировки системы. Смесительный клапан предназначен для соединения водных потоков и терморегуляции. Для входящих потоков, у которых различная температура, предусмотрено два входа, и один выход. Эти клапаны часто применяют и при монтаже тёплых полов, чтобы не допустить перегрев системы.
- Второй вид — это разделительный клапан, работающий по системе «шарик-гнездо». Местоположение шарика изменяется благодаря его вращению. Этот клапан используют, если теплоноситель требуется подавать сразу в несколько направлений. По сути, он представляет собой смеситель, формирующий водный поток необходимой температуры. Устройство обладает хорошей износостойкостью, так как предназначено выдерживать резкие перепады температур жидкости. Классифицируют его в качестве запорной арматуры. В домовладениях, где воду расходуют в небольшом объёме, он может применяться и как обычный смеситель.

По форме клапан похож на обычный тройник. Однако функциональные возможности у него совершенно иные. Клапан трехходовой используют и в качестве смесителя, а так же распределителя воздуха или горячей воды.
Какие виды трехходовых клапанов используются
Термостатический смесительный клапан для котла оснащён двумя патрубками для входа и одним для выхода. Типы приводов, посредством которых распределяется жидкость, бывают следующими:
- пневматическими;
- гидравлическими;
- ручными;
- электромеханическими.

Электромеханические, в свою очередь, бывают следующих видов:
- термостатические;
- головчатые.
Термостатический тип приводов обычно используют в быту. Под воздействием высокой температуры чувствительный элемент расширяется, давит на шток устройства и открывает его. Таким образом смешиваются холодная и прогретая жидкости. Термостатическая головка оснащена температурным выносным датчиком, который устанавливают вместо термостата.

Важно. Наиболее удобным, простым и точным способом регулировки потока теплоносителя считается термостатический привод, который не использует электроэнергию.
Устройства с электроприводом принимают сигналы для смешивания жидкости с управляющего блока. Клапаны с сервоприводами — это упрощённые варианты моделей с контролёрами, где управление клапаном происходит напрямую.
Если привод у трехходового термосмесительного клапана для котла головчатый, то кран управляется посредством нажима головки на шток. Этот тип с успехом применяют в напольных системах отопления. Ручной привод приводится в действие путём вращения колпачка, который поставлен на вентиль.
Важно. Если приобрести трехходовой термостатический клапан для котла, к которому можно подключить сервопривод, то авторежим особенно пригодится при системе водяного тёплого пола.
Как выбирать термостатический смесительный клапан
Термостатический смесительный клапан для твердотопливных котлов следует подбирать по параметрам, которые имеют отношение как регулирующей арматуре, так и к характеристикам конкретного отопительного котла:
- По материалу изготовления. Это чрезвычайно важный критерий выбора, влияющий на технические и эксплуатационные характеристики устройства. Лучшим считается медный или чугунный клапан.
- По объёму потребления теплоносителя. Этот показатель можно узнать из техпаспорта к котлу или из проектной документации к отопительной системе. Расход теплоносителя следует обязательно знать, чтобы соотнести его с пропускной возможностью клапана.
- Трехходовой термостатический клапан для твердотопливного котла выбирают, исходя из модификации привода и схемы обвязки. В упрощённом варианте схема следующая: клапан подаёт теплоноситель с третьего патрубка на первый. Как только жидкость в котле нагреется до необходимой температуры, из второго патрубка выйдет поток не прогретого теплоносителя. По сути, произойдёт обмен, когда холодная жидкость из бака теплового аккумулятора сменяется на горячую. Если на кране стоит контролёр, то обвязка более сложная. Здесь понадобится двухконтурный и двухприводный смесители. Первый (термостатический) ставят рядом с источником тепла. Второй привод электрический и управляется контролёром, подающим сигналы от датчика. Термостатический клапан для твердотопливных котлов держит заданную температуру воды.
Важно. Выбор привода это чрезвычайно важная составляющая при приобретении термосмесительного клапана для твердотопливного котла. Ручные гораздо дешевле, более надёжные, но менее функциональны, электрические ломаются быстрее и стоят значительно дороже, но задачу решают кардинально.
- Важнейшим рабочим параметром трехходового смесительного клапана для твердотопливного котла является предельно допустимая температура теплоносителя. Она должна быть от 35 до 60 градусов. Если речь идёт о клапанах для горячего водоснажбения или о полах с водяным подогревом, там требования к устройствам с термостатическим приводом иные, так как температура доходит до 90 градусов.
- При приобретении клапана нужно учитывать размеры внутреннего и наружного диаметров для подсоединения к отопительной системе. В том случае, когда не удаётся найти нужный размер, можно использовать для решения проблемы обычный переходник.
Требования к эксплуатации
При подключении трехходового клапана к котлу, который работает на твёрдом топливе, нужно строго соблюдать правила эксплуатации системы:
- Периодически проводить тщательный осмотр системы, чтобы убедиться в его стабильной работе.
- Не допускать применения оборудования не по его назначению.
- Всё оборудование для отопительной системы должно соответствовать техническим возможностям отопительного котла.
- Нельзя устанавливать запорную арматуру между расширительным баком и системой отопления.
- Чтобы котёл соответствовал правилам по безопасному использованию, отопительная система оснащается краном аварийного сброса, который экстренно срабатывает, когда необходимо понизить давление в отопительной системе.
- Для простоты монтажа, направление движения теплоносителя с трехходовым термосмесительным либо распределительным клапаном, изображено на корпусе устройства стрелками либо буквами. Ставить устройство в отопительную систему следует только по указанным направлениям. Несоблюдение этого правила может стать причиной поломке всей системы и даже взрыву котла.
Монтаж трёхходового термостатического смесительного клапана для твердотопливного котла делают и в случае одновременного подключения нескольких контуров отопления с различными температурными показателями. Достаточно популярный трехходовой клапан esbe, который весьма надежен и практичен в использовании.

Все перечисленные требования необходимо неукоснительно соблюдать, чтобы увеличить срок службы всего оборудования отопительной системы и обеспечить безопасную и эффективную работу.
teplospec.com
Трехходовой клапан для отопления с терморегулятором: схема подключения
В широком ассортименте запорной арматуры, применяемой в отопительных сетях, есть один элемент, который используется нечасто. По форме он похож на тройник, но внутреннее наполнение от последнего отличается сильно. Да и назначение его совершенно другое. Это трехходовой клапан для отопления с терморегулятором. Схема его установки, а также принцип работы будут рассмотрены в сегодняшнем обзоре.
Содержание:

Трехходовой клапан с термоголовкой зонального типа
Разновидности и назначение каждого вида
В основном трехходовые клапаны делятся по принципу действия. Здесь три позиции:
- смесительные,
- разделительные,
- переключающиеся.

Обозначения на корпусе показывают, к какому виду приборы относятся
Первые смешивают два потока теплоносителя с разной температурой в один, вторые, наоборот, разделяют один поток на два. А третьи просто переключают движение воды из одного направления (контура) в другой. Две первые разновидности по внешнему виду друг на друга похожи, поэтому на их корпус наносится схема, которая и показывает, для каких целей прибор надо использовать.
Что касается третьей позиции, то его отличить от остальных просто. У него дополнительно есть блок, с помощью которого и происходит переключение. Клапан этого типа обычно устанавливается в двухконтурную систему отопления, когда необходимо перенаправить поток теплоносителя от отопительной системы к бойлеру и наоборот.

Клапан переключающегося типа
Устройство и принцип работы трехходового клапана в системе отопления
Итак, в первую очередь разберемся с устройством. Чтобы было легче понять, что внутри клапана, надо рассмотреть фото ниже, на котором прибор показан в разрезе. Состоит он из трех патрубков (два боковых один нижний), между которыми располагается камера смешивания. С четвертой стороны (верхней) располагается термоголовка, отвечающая за контроль температуры теплоносителя.

Трехходовой клапан в разрезе
Внутри прибора от термоголовки идет подпружиненный шток с двумя плоскими клапанами круглого сечения. Их диаметр соответствует диаметру седел патрубков. Вместо них может быть установлен один шаровой клапан, размещенный внутри смешивающей камеры между двумя седлами. При давлении на шток клапаны частично перекрывают подачу из нижнего патрубка и открывают верхний. Все то же самое только наоборот происходит, если шток поднимается вверх.
Но тут надо разобраться, по каким законам работает шток, под действием какой силы он опускается или поднимается. Все дело в самой термоголовке. Внутри нее располагается температурный датчик, заполненный специальной жидкостью. Она термочувствительная. Как только температура теплоносителя начнет подниматься, жидкость расширяется и поднимается по капиллярной трубке в специальный сильфон (емкость), который расположен в термоголовке. Резервуар сам начинает расширяться, тем и давит на шток. Последний опускается и открывает нижний патрубок, откуда в трехходовой клапан поступает холодная вода. Горячая поступает с левого патрубка (см. фото).

Разделительный и смесительный клапаны
Конечно, просто так при любом повышении температуры воды давление произойти не может. Для этого на термоголовке установлена градация по температуре, которую регулируют вручную. Именно выставленный параметр и является моментом нажатия на шток.
Итак, шток отреагировал на изменение температуры теплоносителя в подающем патрубке, открыл нижний для холодной воды, и внутри клапана произошло смешивание горячей и холодной сред до необходимой температуры. То есть, получается так, что температура теплоносителя на входе не изменилась, а на выходе стала меньше.
В том случае если теплоноситель продолжает нагреваться, то шток может опуститься до максимально нижнего положения. То есть, он полностью закроет подачу горячей воды и полностью откроет подачу холодной. И это будет продолжаться до тех пор, пока теплоноситель внутри отопительной системы не опуститься до требуемой температуры. После чего откроется верхний клапан, он пустит горячую воду.

Схема смешивания теплоносителя с обраткой
Так работает смешивающий регулирующий трехходовой клапан. Что касается разделительной модели, то принцип работы у нее практически такой же, только наоборот. В один патрубок входит теплоноситель, внутри корпуса прибора он разделяется на два потока и выходит через два соседних патрубка.
Этот вид запорной арматуры устанавливается на тех участках, на которых надо поток теплоносителя разделить на два контура. Один из них будет с постоянным тепловым режимом, другой с переменным. Первый – это поток жидкости, к которому предъявляются требования по качеству. Второй с требованиями по количеству. При этом чисто конструктивно поток с постоянным гидрорежимом никогда не перекрывается, потому что в конструкции прибора длина штока сделана таким образом, чтобы клапан не закрывал постоянный контур.
Но необходимо обозначить, что длина штока может регулироваться. Это дает возможность настроить требуемый объем теплоносителя на постоянном контуре. Что касается переменного, то он может полностью перекрываться. Именно таким образом и регулируется расход и давление теплоносителя в отопительной системе. Как видите, принцип работы трехходового крана достаточно прост. Главное – точно выбрать тип прибора и установить его в требуемое место в схеме.
Как работает трехходовой термостатический клапан в системе «теплый пол»
Чтобы было понятно, как работает схема с клапаном, можно привести пример циркуляции теплоносителя в системе теплого пола. Трехходовой клапан для теплого пола является смесительным. Схема циркуляции здесь такова:
- горячая вода через коллектор поступает в систему теплого пола;
- у нее должна быть определенная температура, которая отслеживается именно в процессе прохождения через трехходовой клапан;
- как только ее значение будет превышать допустимое, клапан открывает один из контуров, который соединен с обраткой отопления;
- внутрь поступает охлажденный теплоноситель, понижая температуру,
- после чего смешанная вода поступает в отопительный контур теплого пола;
- как только температура упадет до требуемой, внутри клапана перекрывается штоком контур с обраткой.

Разводка труб для теплого пола с трехходовым клапаном
Трехходовые клапаны с приводами
Специалисты утверждают, что регулировка трехходового клапана с помощью термоголовки и датчика – самая простая и точная. К тому же в ней нет затрат электроэнергии. Именно поэтому этот тип трехходовых клапанов сегодня популярен. Но управлять процессом можно и другими способами.
Простой из них – ручной. Скажем прямо, не самый точный вариант, потому что диапазон глубины погружения штока выставляется рукояткой, расположенной снаружи корпуса клапана.
Внимание! Клапан с такой регулировкой рекомендуется использовать лишь в тех отопительных системах, где перепады температуры теплоносителя незначительны.
Второй вариант – это управление температурным режимом с помощью электроприводов. Они получают команды от контроллера.

Клапан трехходовой с приводом
Трехходовой клапан с электроприводом
Установленные на клапанах двигатели часто называют сервоприводами. По сути, это обычные электродвигатели, в которых вал не крутиться, а поворачивается на определенный градус. Необходимо отметить, что в эту категорию входят любые типы двигателей, к примеру, тепловые. Главное – выполнять условие поворота, а не вращения.
Производители сегодня предлагают две позиции, касающиеся комплектации. Первая – это полный пакет, в который входит контроллер и температурный датчик. Есть возможность сразу настроить прибор на требуемую температуру, а также на угол поворота, к примеру, от 0 до 180°. При этом возможны любые промежуточные значения. Вторая – это отдельный привод с датчиком внутри, к которому надо добавить контроллер, как отдельно стоящий элемент.

Чугунная арматура с сервоприводом для больших сетей отопления
Что касается контроллера, то это прибор, который решает задачи по управлению сигналами. В случае с отоплением он реагирует на температурные изменения, которые ему сигнализирует температурный датчик. Он сигналы обрабатывает и решает, что делать – открывать клапан или закрывать, а точнее, поворачивать по часовой стрелке или против.
Сегодня производители предлагают огромную модельную линейку трехходовых кранов с электроприводами. Одна из самых популярных марок – «ESBE» (Швеция).
Трехходовой клапан ESBE с электроприводом
В первую очередь надо обозначить, что у этой марки клапанов внутри располагается шарик со сквозными прорезями. Последние открывают или закрывают два канала, третий всегда остается открытым. Через него в отопительную систему поступает теплоноситель. Градус поворота – 90÷180°.

ESBE от шведского производителя
В магазинах клапан этой модели продается отдельно от сервопривода, поэтому перед установкой их соединяют между собой путем вставки оси (вала) привода в верхнюю часть штока. В нем под ось есть отверстие. После чего надо точно по инструкции, приложенной к прибору, провести настройку в плане температурного режима.
Сегодня производитель предлагает достаточно широкий модельный ряд трехходовых клапанов ESBE с приводом и без такового:
Другие модели трехходовых клапанов
Еще один известный бренд – трехходовой клапан Навьен от южнокорейской компании. Необходимо отметить, что этот прибор является неотъемлемой частью двухконтурного котла этого производителя. И устанавливается он внутрь отопительного оборудования. Его основное назначение – разделять теплоноситель на подачу в отопительную сеть и на горячее водоснабжение.
Внимание! Клапаны Навьен не подлежат ремонту. Основная причина поломки – шестеренчатая передача от мотора к штоку. Запчасти нигде не продаются. При выходе из строя прибор должен заменяться новым.

Трехходовой клапан Навьен
Датская компания Danfoss – известный производитель трехходовых клапанов. Она предлагает четыре модели, которые предназначаются для разных систем:
| Фото | Модель | Назначение |
|---|---|---|
![]() | VF3 | Используется в системах кондиционирования и теплоснабжения. Материал изготовления – чугун. С фланцевым соединением. |
![]() | VMV | Применяется только в системах отопления. Материал изготовления – бронза или нержавейка. |
![]() | VRB3 | Это смеситель, который используется и в отопительных системах, и в холодильных установках. Материал – нержавеющая сталь. |
![]() | VRG3 | Устанавливается в отопительных сетях или при транспортировке хладагента. Материал или нержавейка, или чугун. |
Схемы подключения трехходового клапана к отопительной сети
После всего разбора относительно конструкции клапана и его принципа работы появилось понимание, как его можно использовать в различных отопительных системах. Чаще всего его используют в трех случаях.
- В системе теплых полов температура теплоносителя должна быть в пределах +45°С. Именно этот режим и поддерживается с помощью прибора. Об это уже говорилось выше, и было показано, как это должно работать.
- Для защиты твердотопливных котлов от образования внутри топки конденсата. Это случается, когда относительно сильно холодная вода по обратке попадает в теплообменник генератора. От этого на внешних поверхностях образуются капли воды от сконденсированного пара. Того допускать нельзя, потому что конденсат сокращает срок эксплуатации оборудования.
- Если есть необходимость поддерживать разный температурный режим в разных частях отопительной системы.
Первый вариант рассматривать не будет, потому что он уже был описан. Что касается второго случая, то надо за основу разбора брать фото ниже.

Схема обвязки твердотопливного котла с трехходовым клапаном
На схеме двойной контур: один большой проходит через радиаторы, второй – короткий через байпас (это вертикальная красная линия, начало которой вверху до радиаторов, конец упирается внизу в клапан). Пока котел не разогрелся, теплоноситель движется по короткому контуру. Температура поднялась до необходимой, клапан закрывает байпас и открывает обратку (нижняя синяя линия).
И третья позиция, в основе которой лежит распределение теплоносителя по потребителям, в них требуемая температура не всегда является одинаковой. К примеру, для бойлера косвенного нагрева требуется вода с большей температурой, для батарей с меньшей, а для теплых полов и того меньше.
Внимание! В такой схеме нет необходимости устанавливать регулирующую запорную арматуру перед бойлером.
Принципиальная схема разводки с установкой трехходового клапана должна быть приблизительно такой, как показано на фото ниже.

Распределение теплоносителя по потребителям
Трехходовые клапаны для отопления с фиксированной температурой теплоносителя
Это так называемый бюджетный вариант. По цене он дешевле 30-35% от приборов с приводами. Чем он отличается от всех остальных. В его конструкции нет ни штоков, ни датчиков, ни термоголовок. Внутри установлен так называемый термостатический элемент, который настроен на определенную температуру теплоносителя. К примеру, это может быть или 45°, или 65°. То есть, показатель может быть любым в зависимости от требований потребителя горячей воды.
Элемент выбирают на заводе и там же устанавливают, поэтому на клапане обязательно указывают, какая температура на выходе будет после него. К примеру, если вам требуется клапан для теплого пола, то выбираем с температурой 45°.
Положительной стороной этих приборов является их дешевизна. Отрицательной – невозможность настраивать температурный режим воды.
Внимание! Если клапан этого типа устанавливается на байпас твердотопливного котла, то необходимо перед покупкой изучить паспорт самого генератора. Основной показатель для клапана – температура воды в обратном контуре. Именно по ней и подбирается прибор.

Термостатическая модель
Правила установки трехходового клапана в системе отопления
Трехходовой клапан с сервоприводом или без такового установить своими руками несложно. Это просто запорная арматура, но надо отметить, что она может иметь разные способы крепления. Обычно их два: резьбовой или фланцевый. В первой позиции резьба может быть внутренней или внешней. В любом случае соединение с трубами производится посредству герметизирующих материалов, таких как фум-лента или пакля. Что касается фланцевого соединения, то для его герметичности надо изготовить прокладку из термостойкой резины или паранита.

Правильное соединение клапана с трубами
Есть два нюанса, которые касаются правильного монтажа.
- Прибор устанавливается обычно на обратном контуре до циркуляционного насоса, потому что выходной патрубок всегда открытый.
- Ставить в систему трубопроводов надо клапан точно по стрелке движения теплоносителя. Последняя указывается на корпусе прибора.

Виды соединения клапана с трубами
Цены на трехходовые клапаны
Цены на трехходовые клапаны для отопления с терморегулятором и приводом сильно разняться. В основном все дело в том, в какие отопительные системы они должны быть установлены. Это касается давления внутри сети и температуры теплоносителя. Конечно, приборы с приводом стоят дороже.
Разнообразие трехходовых клапанов иногда ставить в тупик при их выборе. Не каждый может сразу определить, какой прибор нужно приобрести для конкретной системы отопления. Поэтому обращайтесь к нам в комментариях, и наши специалисты ответят на все ваши вопросы.
Статья по теме:
Терморегуляторы с датчиком температуры воздуха. В отдельном материале представлено практическое руководство по выбору и монтажу терморегуляторов.
Видео: трёхходовой клапан для систем отопления
Похожие статьи
kirpich174.ru




