Коптильня холодного копчения своими руками чертежи и инструкция с пошаговыми фото
Содержание статьи:
- 1 Коптильня холодного копчения из кирпича своими руками. Пошаговая инструкция
- 2 Коптильня холодного копчения из дерева своими руками. Пошаговые фото
- 3 Коптильня из бочки
- 4 Коптильня холодного копчения из старого холодильника
- 5 Домашняя коптильня холодного копчения «Дым Дымыч»
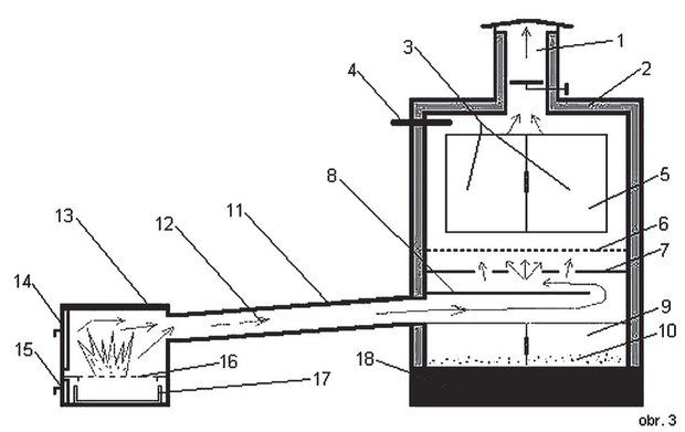
Процесс холодного копчения отличается тем, что на продукты воздействует холодный дым, температура которого не бывает больше двадцати пяти градусов. Поэтому все чертежи коптильни холодного копчения учитывают расположение топки в некотором отдалении. Пока дым идет по трубе и поднимается в коптильной камере, он охлаждается и освобождается от копоти и вредных примесей.
Коптильня холодного копчения из кирпича своими руками. Пошаговая инструкция
Прежде чем приступать непосредственно к строительству, необходимо сделать чертеж коптильни холодного копчения и разметить расположение всех составных ее элементов на участке.
Коптильня холодного копчения. Принцип действия
Наиболее основательной и надежной конструкцией является коптильня холодного копчения из кирпича. Чтобы ее правильно возвести, необходимо учесть несколько моментов. В пошаговой инструкции по строительству коптильни холодного копчения рассмотрены все детали процесса.
• Этап первый – закладка фундамента
На месте, где будет располагаться коптильная камера, выбирается грунт. Глубина ямы должна быть шестьдесят сантиметров. В нее устанавливают опалубку, возвышающуюся над краями на двадцать пять сантиметров. Пространство армируется, в центр ставится десятилитровое ведро, чтобы получилось углубление после заливки бетонного раствора. В этом месте дым будет выходить из трубы.
Пошаговая инструкция по строительству коптильни холодного копчения. Фото
• Этап второй – возведение стен
Для стен такой коптильни используется строительный кирпич или бетонные блоки. Конкретная конструкция коптильни холодного копчения зависит от личных пожеланий владельца. Она может быть совсем маленькой для минимального количества продуктов или же просторной. В ней можно обустроить окно, но оно должно быть небольшим. Поскольку солнечные лучи вредны коптящимся продуктам, оно должно выходить на северную сторону или же располагаться так, чтобы свет не попадал на зону размещения копченостей.
Коптильня холодного копчения своими руками. Фото
• Этап третий – обустройство крыши
Наиболее экономичным, легким в обустройстве и удобным вариантом является мягкая кровля.
Для ее создания из бруса небольшого сечения сооружают стропильную систему. На стропила укладывают листовой материал, например, влагостойкую фанеру или плиты ОСБ. На ровную основу монтируются уже элементы гибкой черепицы.
• Этап четвертый – обустройство топки
Топку можно сложить из кирпича или использовать в таком качестве металлическую печку. Если применяется кирпич, то надо взять огнеупорный шамотный. Также нужна огнеупорная труба, которая будет отводить дым от топки к камере копчения. Диаметр трубы должен быть достаточно большим, чтобы дым шел медленно, остывал и освобождался от частичек копоти.
• Этап пятый – внутреннее обустройство
Внутри коптильня устроена очень просто. Над отверстием для выхода дыма устанавливаются решетки и подвешиваются крюки.
После этого коптильней холодного копчения из кирпича можно пользоваться.
Коптильня холодного копчения своими руками. Фото
Упрощает установку коптильни холодного копчения рельеф участка с уклонами и террасами.
Наличие террасы позволяет не углублять топку в землю. Ее можно просто расположить на нижнем ярусе, а на верхнем установить коптильную камеру. В результате сокращается количество работ, коптильня возводится быстрее, с меньшими затратами труда и времени.
Пошаговая инструкция по строительству коптильни холодного копчения. Видео
Коптильня холодного копчения из дерева своими руками. Пошаговые фото
Чтобы сделать коптильню холодного копчения своими руками, совсем не обязательно использовать кирпич. Отлично для данной цели подходит и дерево. Поможет в строительстве пошаговая инструкция по строительству коптильни холодного копчения из натуральной древесины.
1. На участке выкапывают траншею для трубы, коптильной и топочной камеры. Глубина траншеи должна быть от полутора до двух штыков лопаты. Часть, предназначенная для трубы, располагается несколько выше, чем яма для коптильни.
Коптильня холодного копчения своими руками.
Фото
2. Яму для коптильной камеры выкапывают на два или три штыка лопаты глубиной. При попадании в нее дым слегка задерживается. В это время из него выпадают крупные частички сажи, т.е. дым очищается. После этого он поднимается в коптильную камеру.
3. Яму для топки заливают цементом, чтобы получился надежный пол. Такое ровное основание необходимо, чтобы сложенная из кирпича топочная камера не стала впоследствии разрушаться при естественных подвижках почвы.
4. В траншею для дымохода укладывают трубу. Ее диаметр должен быть достаточным, чтобы дым свободно проходил до коптильной камеры, охлаждаясь по пути.
5. Выкладывают топочную камеру. Для этого берут огнеупорный кирпич, из которого складывают стенки топки и ее верхнюю часть.
6. Закрепляют на топку дверцу из чугуна, которая надежно закрывается.
Пошаговая инструкция по строительству коптильни холодного копчения. Фото
7. Для коптильни холодного копчения из дерева обустраивают основание. Для этого строительным кирпичом выкладывают стенки углубления под нее и их выводят на некоторую высоту над землей. На такое кирпичное основание потом и будет установлена непосредственно деревянная часть конструкции.
8. Траншею с дымоходной трубой засыпают землей и тщательно утрамбовывают. Земля нужна для лучшего охлаждения трубы и дыма. Влажная земля лучше проводит тепло, чем воздух.
9. Создают деревянную коптильную камеру:
• Чтобы сделать коптильню холодного копчения из дерева, используют деревянные бруски. Желательно взять материал из твердых пород древесины. Из брусков собирают основание будущей камеры.
Коптильня холодного копчения своими руками. Фото
• На основание набиваются ровные дощечки.
Они должны максимально плотно прилегать друг к другу, чтобы через щели не выходил дым.
• Крышу делают одно или двускатной. На переднюю часть закрепляют дверь так, чтобы она прилегала плотно и легко открывалась. Избежать самопроизвольного открывания поможет задвижка.
• В крыше оставляют отверстие для трубы и ее туда устанавливают. Труба должна быть небольшого диаметра, чтобы дым не выходил слишком быстро.
• Проверить правильность работы всех частей поможет первая растопка.
Коптильня из бочки
Если все предыдущие варианты кажутся сложными и дорогими, то стоит обратить внимание на коптильню холодного копчения из бочки. Основой тапкой конструкции послужит бочка из дерева или другого материала. Исключением является только пластмасса. У емкости снимают днище, чтобы дым мог проходить насквозь.
Чтобы сделать коптильню холодного копчения своими руками, в земле надо выкопать две ямы под топку и коптильную камеру, а также соединяющую их траншею.
Топка должна быть около пятидесяти сантиметров диаметре, а глубиной около сорока сантиметров. Дно закрывают листом железа. Стенки можно укрепить кирпичом, но и без него топка будет функционировать.
Яму под коптильную камеру из бочки выкапывают на расстоянии около трех метров. По диаметру она должна быть немного меньше диаметра основания бочки, а глубиной примерно в сорок сантиметров.
Ямы соединяют траншеей, которая будет использоваться для проведения дыма. Глубина траншеи должна составлять около тридцати сантиметров. Готовую траншею закрывают металлическими листами, засыпают землей и утрамбовывают. Использовать трубу не обязательно, но стенки траншеи лучше утрамбовать, чтобы они не осыпались со временем.
На дно бочки закрепляют металлическую решетку. На нее будет выкладываться материал для фильтрации дыма, например, солома или мешковина. Фильтрующие материалы увлажняют, чтобы они лучше очищали дым от крупных частичек продуктов сгорания.
Такой слой делает дым более легким, тонким, не содержащим сажи. Кроме того, решетка не позволит продуктам провалиться в глубину ямы.
В верхней части бочки устанавливают прутья, на которые будут крепиться крюки для мяса. Можно установить и решетку для размещения продуктов.
Получившуюся коптильню холодного копчения из бочки накрывают мешковиной, деревянным щитом или аналогичным материалом. Коптильня готова и ее можно использовать по назначению.
Чтобы дым не терялся, не выходил снизу из-под бочки, подножие ее засыпают землей. Этот грунт вокруг основания тщательно утрамбовывают.
Коптильня холодного копчения из старого холодильника
Практически в каждом хозяйстве можно найти старый холодильник, который давно сломался. Чтобы не множить количество мусора, его, а точнее корпус, можно использовать для изготовления коптильни.
Соорудить коптильню холодного копчения из старого холодильника совсем не сложно.
Для этого потребуется взять корпус холодильника (внутренности демонтируются), трубу длиной около четырех метров, жаропрочные кирпичи для обустройства топки и железная крышка для нее же.
Топку обустраивают ниже уровня коптильной камеры. Лучше использовать участок, имеющий склон для удобного размещения. Для топки выкапывают яму, которую выкладывают жаропрочным кирпичом. Если в хозяйстве имеется металлическая емкость достаточного объема, то можно вкопать ее. Сверху она закрывается металлической крышкой, чтобы дым шел в дымоотводную трубу.
Следующим элементом коптильни холодного копчения из старого холодильника является труба для отвода дыма. Она должна быть довольно большой длины, чтобы дым, проходя по ней, успевал остывать. Кроме того, трубу рекомендуется закапывать под землю. Окруженная сырой землей она будет лучше остывать и остужать дым до нужной температуры.
Вход трубы в корпус холодильника можно выполнить двумя способами.
В первом случае привязка делается к уже существующим отверстиям, которые служили для размещения основных рабочих частей холодильника. При этом вход может быть как вверху, так и внизу. Конкретный вариант зависит от модели холодильника.
Второй способ – врезка трубы в нижнюю часть корпуса. Это требует дополнительной работы, но зато обеспечивает наиболее оптимальное поступление дыма. Он будет проходить снизу вверх и обеспечит наилучший результат, поскольку через продукт пройдет больше дыма.
Внутри корпус холодильника оснащают всеми необходимыми приспособлениями для размещения продуктов. Используются решетчатые полки или крючки, чтобы мясо или рыбу можно было подвешивать.
В завершении самодельную коптильню следует оснастить дымоходом для оттока дыма. Но он потребуется только в том случае, если уплотнитель на дверце еще достаточно эффективный и не создает щелей. В большинстве же случаев уплотнитель на старом холодильнике оставляет небольшие щели, через которые и выполняется отток дыма.
Такой вариант утилизации старого холодильника можно считать наиболее оптимальным, т.к. он еще послужит с пользой.
Домашняя коптильня холодного копчения «Дым Дымыч»
Если рассматривая чертежи коптильни холодного копчения, понимаешь, что они не подходят для небольшого приусадебного участка, то стоит обратить свое внимание на домашнюю коптильню Дым Дымыч.
Такая бытовая коптильня изготавливается из холоднокатаного стального листа, толщина которого составляет восемь десятых миллиметров. Емкость для копчения имеет объем тридцать два литра. В комплекте имеются дымогенератор и компрессор. Дым поступает в коптильную камеру через гибкий шланг.
В дымогенератор коптильни закладывается деревянная щепа. Там выделяется дым, который отправляется в коптильную емкость. Регулируется подача дыма при помощи электрического компрессора. Через шланг, длина которого составляет семьдесят четыре сантиметра, дым проходит к заложенным продуктам.
Сроки копчения зависят от нескольких факторов. Во-первых, они зависят от веса и объема продуктов, а во-вторых, от активности обработки дымом. Результатом являются сроки, составляющие от пяти часов до пятнадцати.
Такая коптильня имеет сразу несколько преимуществ. Она компактна и в нерабочем состоянии может храниться в любом месте. Использовать устройство можно не только в условиях загородного участка, но и в городе, например, на балконе или неподалеку от дома. Коптильня Дым Дымыч продается в уже полностью готовом для использования виде. Ее не требуется предварительно монтировать или изготавливать собственными силами.
При помощи коптильни легко и относительно быстро изготавливаются вкуснейшие копченые продукты. Длительная обработка холодным дымом создает среду неблагоприятную для бактерий. В результате продукт не только получает неповторимый вкус, но и значительно дольше хранится.
Из представленного разнообразия устройств для холодного копчения каждый может выбрать оптимальный для себя вариант.
Если нет желания самостоятельно сооружать коптильню, а объемы приготовления небольшие, то подойдет последний вариант. Если же хочется сделать особенную, собственную коптильню или сэкономить, то можно подобрать любой из вариантов, изготавливаемый своими руками.
Также стоит упомянуть, что продукты перед копчением необходимо подготовить. Их предварительно засаливают по определенной схеме. Если этого не сделать, то настоящие копчености из них не получатся.
Коптильня холодного копчения — 94 фото идей для полноценного производства
Что может быть вкуснее домашних копченостей? Многих мастеров интересует описание принципа создания полезных в хозяйстве самоделок.
Готовые изделия запечатлены на фото, коптильни холодного копчения можно изготовить своими руками. Продукция домашнего приготовления – это желанное угощение.
Содержимое обзора:
Самостоятельное изготовление конструкции
Холодное копчение представляет собой обработку еды с помощью дыма, имеющего температуру 32 градуса.
Процесс должен быть организован грамотно, поэтому мастеру понадобится разобраться, как сделать коптильню холодного копчения правильно. Важно не ошибиться со схемой строительства.
Необходимо, чтобы горячий дым стал холодным. Для этого используют туннель, который топку подсоединяет к отделению, куда помещают продукты. Длина туннеля может варьироваться в пределах 2-7 м. Это расстояние учитывают, чтобы вычислить длину дымохода.
Если топка находится от коптильни на расстоянии более 7 м, проблем с тягой, как правило, не удается избежать.
Как работает устройство?
Принцип работы самодельной коптильни можно представить следующим образом. Обработка еды может длиться от 3 дней. Процесс может продолжаться в течение нескольких недель.
Главное – следить, чтобы процесс копчения происходил равномерно. В камере для копчения нельзя смешивать различные виды пищи.
Нужно готовить еду за один прием. Важно сортировать продукты по размерам.
Подробнее о конструкции коптильни
Чтобы сделать топку, необходимо выкопать траншею с габаритами 50х50. Эти значения могут быть больше. Часто ширину с глубиной ямы делают метровой.
Дно топки можно сделать кирпичным, после чего накрыть его жестяным листом. Готовить цементный раствор нет необходимости. Кирпичи достаточно утрамбовать близко друг к другу. Боковые стороны также отделывают кирпичом. Здесь для кладки понадобится глиняный раствор.
Создавая чертеж коптильни холодного копчения, требуется принимать во внимание как удаленность отдельных частей конструкции, так и размеры материалов.
Под дымоход с диаметром 25 см специально выкапывают траншею. Сверху ее нужно закрыть листом железа. Чтобы не допустить просачивания дыма, листовой материал засыпается землей.
В месте стыковки коптильни с дымоходом ставят фильтр. В качестве основного элемента берут сетку из металла с маленькими ячейками. На сетку кладут плотный материал.
Фильтр защищает готовую продукцию от сажи.
Коптильню важно сделать прочной и надежной. В этом случае конструкция будет стоять устойчиво и не упадет, если ее случайно кто-нибудь заденет. Вверху коптильню оснащают прутьями из нержавейки.
Показатель их толщины варьируется в диапазоне от 8 до 10 мм. Они прочные, и на них подвешивают еду, приготовленную для копчения. Обычно еду вешают на специальные крюки. Альтернативной заменой служит обычная решетка.
Самая простая схема
Бюджетным вариантом считается коптильня, позволяющая мастеру сэкономить стройматериалы и время, потраченное на строительство.
Камера с продуктами удалено от топки на 2 м. Основой для коптильни может служить металлическая бочка.
Этапы работы
Определив для себя размеры коптильни, можно приступать к строительству. Сначала понадобится выкопать яму под камеру топки. Ее дно закрывают жестяным листом. Благодаря этому удается обеспечить более равномерное тление щепок и опилок.
Следующий этап работы – устройство дымохода. Вырытую траншею требуется накрыть сверху. Для этой цели подойдут только негорючие материалы.
Яму можно накрыть листом шифера. Сверху дымоход засыпают грунтом для обеспечения герметичности.
Коптильную камеру устраивают в бочке с отрезанным дном. Внизу монтируется сетка из металла, на которую кладут мешковину. Благодаря комбинированию этих материалов эффективно решается задача отфильтровать частицы сажи.
Вверху бочки болтами крепят решетку из металла, отступив от края 20 см. Этот вариант использовать необязательно, можно ограничиться прутьями с крюками.
Чтобы до конца разобраться во всех нюансах, нужно посмотреть соответствующий видео ролик.
При холодном копчении еда теряет влагу постепенно. В процессе подсушивания дым проникает все глубже в продукты. В результате получаются мясные и рыбные деликатесы с восхитительным вкусом.
Когда коптят тушу старого животного, его мясо останется жестковатым.
Чтобы не разочароваться, нужно на первых порах руководствоваться рецептами, которые уже были апробированы многими. Эксперименты с оттенками вкуса лучше оставить на потом.
В готовой коптильне заводского производства имеется несколько решеток и поддон. Лучше выбирать изделие с большой емкостью, чтобы копчение осуществлялось более равномерно.
Для любителей затяжных походов нужна коптильня, сделанная из металла с толщиной 0,8 мм. На даче можно установить более тяжелые варианты, где толщина стального корпуса составляет 2 мм.
Фото коптильни холодного копчения своими руками
Строительство коптильни холодного копчения
Мой первоначальный план коптильни состоял в том, чтобы сделать что-то достаточно большое для холодного копчения ветчины и бекона на две свиньи одновременно.
Я разделываю свиней только один или два раза в год для лечения, …. но я готовлю несколько свиней в год в своей яме из шлакоблоков.
Я хотел дымовую коробку, которую можно было бы установить прямо на моей блочной яме и провести трубу от отдельной дымовой/топливной коробки для создания холодного дыма. Используйте мою плиту из шлакоблоков как для горячего, так и для холодного копчения.
Как оказалось, я решил (после того, как соорудил коробку) сделать коптильню постоянной.
Ящик сделан из необработанной древесины, которая была у меня под рукой.
Я купил дымовую трубу….в нее встроена заслонка.
Я сделал дождевик для трубы, используя подвесные железные ремни и обычную старую форму для кекса….она крепится гайками и болтами. Я покрасил кастрюлю жаростойкой краской, устойчивой к ржавчине. Верх дымовой трубы закрыт экраном, удерживаемым хомутом. (для защиты от жуков)
Я покрыл верхнюю часть коптильни металлом.
Загерметизируйте дно дымовой трубы.
Для полок и держателей для дюбелей я просверлил отверстия размером 2×4… затем вырезал 2×4 посередине.
Крепятся винтами к внутренней части домика.
Шпонки упираются в пазы.
Таким же образом я сделал еще один держатель для удочек и использую его для крепления стоек.
Основание коптильни из шлакоблоков….. Я использовал метод сухой кладки. Раствор не используется, блоки укладываются всухую, арматура проходит через каждое второе отверстие и заполняется быстробетонным раствором.
Оставшиеся отверстия засыпаны землей и заделаны быстробетонным раствором.
Оставлено отверстие для дымовой трубы. Это было сделано с использованием 1-дюймовой металлической рамы и металлической пластины спереди. Вырежьте отверстие размером с вашу дымовую трубу. от прямого контакта с быстробетонным/блоковым основанием
При заполнении шлакоблоков быстробетонным….Я пропустил 18-дюймовые металлические ленты внутри угловых шлакоблоков до того, как быстробетон высох.
Я использовал эти ремни, чтобы связать коптильню.
Пожарный или дымовой ящик представляет собой бочку, урезанную примерно до 1/4 размера. Для потока воздуха добавлены три патрубка 3/4″ с заглушками.
Также добавлен один шаровой клапан для потока воздуха.
Колосниковая решетка изготовлена из просечно-вытяжного листа, армированного 1-дюймовой трубкой, чтобы она не деформировалась со временем.
Я прикрепил небольшие «ножки», сделанные из той же 1-дюймовой трубы, чтобы решетка удерживалась над моими воздушными ниппелями и клапаном.0005
Я добавил заслонку/клапан между моей коробкой для огня/дыма и печной трубой для дополнительного контроля дыма/тепла.
Огонь/дымовая камера, покраска высокотемпературной краской для гриля.
Огонь/дымовой бокс.
Для защиты от атмосферных воздействий древесина покрыта атмосферостойким прозрачным покрытием.
Основание покрыто двумя тонкими слоями раствора.
Готов к работе!
Готовый дом 6 футов 7 дюймов в высоту, 4 фута в ширину и 3 фута в глубину.
Некоторые плиты холодного копчения, рулет и канадский бекон. Специи, соль, оливки, орехи, сыры, мед и т.д..
Я получаю много пользы от коптильни… Мне это нравится. 🙂
Как построить коптильню или коптильню: 30 советов и руководств
Кулинария
Автор: Эшли Зиглер |
Есть что-то особенное в копченой еде. Он полон аромата мескитового вкуса, и это определенно не то, что можно воспроизвести с помощью любого другого типа кухонного оборудования.
Если вам нравится вкус копченой пищи, наличие собственной коптильни или (а еще лучше) коптильни позволит вам есть ее так часто, как вам захочется. Вам даже не нужно покупать дорогой прибор – вы можете сделать его сами!
Впечатляющая коптильня своими руками
ИсточникЭта коптильня впечатляет тем, что в ней есть все необходимое в одной компактной конструкции (посмотрите на эту организацию).
Одной из самых уникальных частей этой коптильни является то, что к ней примыкает место для хранения дров, необходимых для коптильни.
Кроме того, крыша коптильни выдвигается для защиты дров!
Как построить коптильню из мелочей
Простой и простой
ИсточникЕсли вам не нравятся большие и вычурные конструкции, ознакомьтесь с этими схемами коптильни, чтобы узнать о более простой и базовой конструкции.
Эта коптильня стоит на нескольких камнях (для надлежащей циркуляции воздуха), невелика по размеру и отлично справляется со своей задачей.
Построить коптильню, живя деревенской жизнью
Простая сборка
ИсточникСкорее всего, у вас уже есть много материалов, необходимых для постройки этой коптильни, потому что вся древесина получается из выброшенных поддонов.
Человек, который сделал эту коптильню, говорит, что потратил меньше 100 долларов на все это, и что это была простая конструкция. Ознакомьтесь с инструкциями, чтобы увидеть процесс из 11 шагов.
Коптильня своими руками от Instructables
Коптильня из шлакоблоков
Источник На первый взгляд эта коптильня выглядит так, как будто ее построил профессионал, но на самом деле это сложенные друг на друга шлакоблоки, а не какой-то причудливый камень (а шлакоблоки очень недороги).
Если у вас есть место для большой коптильни, что-то вроде этого определенно поможет и даст вам возможность коптить много мяса и сыра одновременно.
Как построить коптильню от Mother Earth News
Переделанный шкаф
ИсточникЕсли у вас когда-нибудь возникнет возможность переделать выброшенную мебель во что-то новое, всегда делайте это!
Эта коптильня была сделана из старого шкафа-гардероба (можно также сделать из небольшого уличного навеса). Посетите веб-сайт Аны Уайт, чтобы увидеть планы.
Небольшой открытый сарай или чулан, превращенный Анной Уайт в коптильню
Маленькая коптильня
ИсточникКонечно, вы можете построить огромную, грандиозную коптильню, но не у всех есть место (или даже желание) для такой большой.
Эта коптильня ни в коем случае не самая маленькая из существующих, но она все же компактнее многих из них. Он все еще хорошо построен и выполнит свою работу!
Моя старая «новая» коптильня от Smoking Meat Forums
Смешанные материалы
Источник При строительстве коптильни не обязательно придерживаться одного типа материала, вы можете использовать камень, кирпич, дерево, металл или что угодно.
хотите и комбинируйте их.
Эта коптильня — отличный пример того, насколько гладкой и собранной может выглядеть коптильня, даже если она неоднородна по стилю.
Коптильня своими руками. Но вы все еще можете любить их обоих.
Если вы просто не можете решить, что вам больше нравится, вы можете собрать коптильню и гриль, как этот, на Instructables.
Brick Barbeque от Instructables
Коптильня на колесах
SourceНе всегда легко (или практично) постоянно оставлять коптильню, если вы не собираетесь ею пользоваться регулярно, поэтому важно иметь возможность хранить ее отдельно. .
Эта коптильня, построенная на колесах, позволяет легко перемещать ее из гаража на задний двор, не поднимая ее.
Небольшая коптильня, построенная форумами Smoking Meat Forums
Backyard Ready
Источник Если вы живете по соседству с ТСЖ или другими строгими правилами, постройка коптильни, которая гармонирует с вашим настоящим домом, облегчит получение разрешения на ее содержание.
в вашем дворе.
Дизайн, подобный этому, по-прежнему функционален, но почти замаскирован из-за небольшого крыльца, которое придает ему более архитектурный вид.
Как построить коптильню с друзьями на заднем дворе
Высококачественный вид
ИсточникКоптильне не нужна крытая черепицей крыша или причудливое окно, но, безусловно, не помешает включить их, как это сделали в этой семье!
Это, по общему признанию, очень впечатляющая и шикарно выглядящая коптильня, но она все же была построена относительно легко и быстро!
Строительство коптильни двумя детьми с фермы
С печью для пиццы
ИсточникИз всех проектов коптильни эта может быть лучшей, потому что она включает в себя печь для пиццы. Кто не любит пиццу на дровах?!
Чтобы воссоздать этот (удивительный) дизайн, вам нужно научиться использовать кубики. Но если когда-либо и была причина научиться строить из кирпичей, то это она.
Коптильня Build Like a Brick Smokehouse by BBQ Brothers
Коптильня для бочек виски
Источник Если вы сидите и думаете: «Эти большие коптильни хороши, но мне не нужно что-то такое большое», то небольшая коптильня может оказаться хороший вариант.
Эта самодельная коптильня сделана из бочки из-под виски и отлично коптит мясо. Кроме того, он имеет очень красивый, отполированный вид.
Бочка для копчения виски из The Smoke Ring
Бюджетно
ИсточникГотовая коптильня стоит дорого, но многие варианты, сделанные своими руками, тоже могут стоить дорого. Так что, если вы ищете что-то более бюджетное, этот дизайн для вас.
Эти блоггеры смогли построить простую коптильню своими руками примерно за 20 долларов! Он не огромный и грандиозный, но крепкий, функциональный и не требует большого мастерства для воссоздания.
Как построить коптильню за 20 долларов с помощью Morning Chores
Хижина-двойник
ИсточникРазве эта коптильня не выглядит так, будто ей самое место в горах, с ее дизайном, похожим на хижину?
К сожалению, у блогера нет официальных планов по поводу этой коптильни (он построил ее с нуля!), но он дает некоторые довольно хорошие детали, которые позволят опытному строителю воссоздать ее.
Коптильня Walk-In Проект Роберта Форто
Коптильня из подручных материалов
ИсточникЭтот блоггер создал эту коптильню из древесных отходов (и он весело построил ее, чтобы она выглядела как уборная, чтобы немного повеселиться).
Это еще один проект коптильни, у которого нет официальных планов, но есть отличные детали и фотографии, которые помогут вам воссоздать его самостоятельно.
Чертежи коптильни от копчения мяса
Изящный и стильный
ИсточникВот еще одна коптильня, которая сочетает в себе коптильню и печь для пиццы, а также бонусный гриль!
Честное предупреждение, это не самый простой дизайн для воссоздания (он включает в себя дерево, кирпичи и штукатурку), но готовый продукт будет стоить всей работы и времени, потраченных на его создание.
Коптильня, печь для пиццы, садовый гриль DIY by Instructables
Переделанный холодильник
Источник Не хотите учиться деревообработке или каменной кладке? Тогда вы можете просто превратить старый холодильник в коптильню.
Вы, конечно, не можете войти в этот дизайн, но он по-прежнему имеет много места и даст вам вкус копчености, который вы жаждете.
Как сделать коптильню для холодильника от журнала Grit Magazine
Металлическая изоляция
ИсточникСуществует множество способов спроектировать коптильню так, чтобы она была эффективной и не создавала большой пожарной опасности.
Этот блоггер решил обшить внутреннюю часть своей коптильни алюминием, чтобы сохранить тепло и защитить конструкцию от возгорания.
Коптильня для мяса из блога Рона на открытом воздухе
Кирпичная коптильня
ИсточникНекоторые коптильни могут быть чрезвычайно эффективными, но также и раздражающими. Так что нет ничего постыдного в том, чтобы хотеть чего-то более эстетичного.
Эта самодельная коптильня отличается уникальным и стильным дизайном, а кирпичный фасад придает изюминку общему виду. Вы бы не возражали посидеть во внутреннем дворике с этим в поле зрения.
Как построить коптильню из кирпича с помощью Goods Home Design
Коптильня из газовых баллонов
ИсточникУникальный способ сделать коптильню — использовать газовые баллоны, как это сделал этот мастер-сделай сам.
Чтобы сделать одну из этих коптилен, вам потребуются некоторые навыки работы с металлом (требуется резка и сварка). Но, в конце концов, он может вместить много мяса и будет стоить работы.
Горячая коптильня из газового баллона своими руками от The BBQ Info
Роторная коптильня
SourceЭта коптильня не только компактна (для удобства хранения), но и оснащена колесами, поэтому ее можно легко перемещать по дому или двору.
Этот урок предназначен только для изготовления ролика, а не для коптильни. Но если у вас уже есть курильщик, это фантастический проект «сделай сам».
Как сделать коптильню на колесиках от Mixed Kreations
Переделанный картотечный шкаф
Источник Картотечные шкафы так легко найти в любом комиссионном магазине (или вы можете просто связаться с кем-то, кто уходит на пенсию, потому что он, вероятно, более чем счастлив избавиться от своих!).
Как только вы подготовите хороший картотечный шкаф, вы можете переделать его в коптильню (шутка над вами, пенсионер!). Это определенно не будет большой коптильней, но она отлично подходит для небольших приемов пищи.
Коптильня для документов от Instructables
Коптильня-плантер
ИсточникЕсли вы не пытаетесь коптить сразу все мясо, которое вы только что купили у мясника, вам не нужна массивная коптильня, вам просто нужно что-то маленькое, чтобы справиться с работой.
Если это то, что вам нужно, обратите внимание на эту коптильню, сделанную из двух терракотовых горшков (их можно найти в любом магазине товаров для рукоделия). Это очень простой и недорогой способ получить желаемый вкус!
Easy DIY Project: сделайте свою собственную терракотовую коптильню от Cute DIY Projects
Easy DIY Smoker
Источник Все, что вам нужно, чтобы сделать эту коптильню, это два выброшенных водонагревателя. В результате получится высокий тонкий коптильня, в который поместится довольно много мяса.
Вам понадобятся некоторые базовые навыки работы с металлом, потому что вам нужно немного порезать и сварить.
Коптильня DIY From 2 Geysers от Instructables
Большая и портативная
ИсточникТем, кто хочет коптить много мяса за раз, нужна большая коптильня. Этот, построенный на трейлере, определенно большой и портативный.
Что-то подобное не для всех, но это отличный проект для тех, кто интересуется кейтерингом, любит устраивать большие вечеринки или просто хочет коптить много мяса за раз.
Как построить 100+ галлонный трейлер для барбекю (с чертежами) от Food Truck Empire
Холодная коптильня своими руками
ИсточникХолодное копчение немного отличается от традиционного копчения мяса. Это связано не столько с жаром, сколько с тем, что мясо буквально пропитывается дымом, а не готовится.
Если это похоже на то, что вы готовы попробовать, и у вас есть четыре свободных часа, вы можете сделать свою собственную коптильню холодного копчения, используя руководство из блога Country Skills.
Самодельная коптильня холодного копчения by Country Skills Blog
Крошечная коптильня
ИсточникОсновная часть этой коптильни сделана из старой банки из-под кофе. Серьезно.
Это очень маленькая коптильня для холодного копчения, но она определенно может быть эффективной для подачи достаточного количества дыма, чтобы действительно впитаться в мясо и придать ему восхитительный вкус.
Генератор холодного дыма мисс Бетси от Instructables
Недорогой и простой
ИсточникЭтот коптильня очень похож на конструкцию с двумя терракотовыми кашпо, но имеет некоторые возвышенные черты, которые придают ему более изысканный вид.
Вам потребуются некоторые базовые навыки работы с деревом, чтобы создать нижнюю половину этой коптильни, но помимо этого вам просто нужно повозиться с деталями, чтобы все заработало в кратчайшие сроки.
Коптильня «Сделай сам» легко и дешево от Instructables
Самая причудливая коптильня
ИсточникИтак, если вы можете воссоздать эту величественную коптильню/гриль/духовку/плиту, значит, вы мастер во всем, что можно сделать своими руками!
На самом деле это проект, который может быть выполнен кем-то с большим опытом DIY (и есть планы помочь вам в этом).
