Баня 4 на 4 планировка внутри фото
Баня 4 на 4 планировка внутри
Компактная баня 4х4 м – прекрасное решение для небольшого участка. Даже в условиях столь скромной по своим габаритам конструкции, можно вполне удачно расположить все необходимые помещения, получив в результате полноценную, функциональную и удобную баню.
Баня внутри
Ознакомившись с нижеизложенной информацией, вы узнаете о наиболее оптимальных вариантах расположения внутренних помещений бани 4х4 м, выборе рациональных габаритов каждого из них, особенностях внутренней отделки, а также дополнительных сопутствующих нюансах.
Баня 4х4
Общие рекомендации по планированию бани
Составление проекта любой бани, и строение размерами 4х4 м не является исключением, начинается с обозначения расположения наиболее главных помещений рассматриваемого строения, т.е. парилки, помывочной комнаты и предбанника.
Планировка бани Планировка баниВажно! Если баня 4 на 4 будет строиться из бревен (а именно этот материал наиболее часто используется при возведении конструкций столь скромных размеров), учитывайте, что внутреннее пространство в результате будет несколько меньше по сравнению с наружным. В процессе выполнения расчетов, отнимите от внутренней стороны используемых бревен толщину бревна (в случае срубки «в лапу»), либо же добавьте к этой толщине дополнительные 250 мм (в случае срубки «в чашу»). Это позволит вам максимально правильно выполнить требуемые расчеты.
К примеру, если баня строится из бревен длиной 400 см и диаметром 24 см, срубленных «в чашу», внутренние размеры подобного строения не будут превышать 3х3 м. Учитывайте эти моменты заранее, грамотно подбирая размеры бревен и метод врубки, ориентируясь на желаемые внутренние габариты бани.
Рубка бревен
superbany.ru
Баня 4 на 4 — планировка внутри, фото

Итак, предположим, что у вас стоит баня 4 на 4. Планировка внутри, фото и эскизы помогут вам оптимально спланировать все банные помещения на такой небольшой площади.
Банные помещения в срубе бани 4 на 4
На 16 квадратных метрах вам нужно будет разместить следующие банные помещения:
- Парная (главное помещение в любой русской бане).
- Моечное отделение.
- Предбанник.
- Комната отдыха (по возможности).
- Топочная (по возможности).
Чем хороша баня 4 на 4, планировка внутри, фото и схемы которой представлены на этой странице? Тем, что все указанные выше помещения в полном составе размещены на площади всего в 16 кв. м.
Если же вам кажется, что отдельные банные помещения получаются слишком маленькими по площади, то можно сделать следующее:
- Комнату отдыха можно совместить с предбанником или вообще вынести в пристроенную к бане веранду. Также можно отдыхать на террасе у бани, если, конечно, погода и климат позволяют.
- Топочная вам не понадобится, если у вас банная печь топится прямо из парного отделения. То есть, топка выходит в парную. Конечно, в этом случае весь мусор от протопки будет в парной – лишние движения по уборке щепок и золы.
Баня 4 на 4 – фото планировки внутри
Как видите, баня 4 на 4, планировка внутри, фото и эскизы которой представлены здесь, может состоять из нескольких помещений.
А может быть всего одно помещение, в котором совмещены все указанные выше. То есть, в одном помещении могут быть совмещены парная, моечное отделение и топочная.
И к такому срубу может быть пристроен холодный дощатый предбанник.
Именно так всегда строили бани в деревнях, и часто сейчас строят также.
Вот несколько фото того, как может быть реализована планировка внутри небольшой бани 4 на 4 метра.









dom-data.ru
Баня 4х4: идеи планировки на фото
Компактная баня 4х4 м, планировка которой является сегодня отличным решением для самых небольших участков, вполне может быть функциональной и очень комфортной в плане эксплуатации.
Оптимальных вариантов, определяющих удобное расположение внутренних банных помещений, несколько, но при самостоятельном выборе их рациональных габаритов необходимо учитывать не только особенности внутренней отделки, но и некоторые сопутствующие нюансы. Стандартный вариант бани в базовом исполнении включает в себя разграничение комнаты отдыха, душевой и парного помещения.


Удобство эксплуатации парильного помещения бани в зимний период чаще всего предполагает дополнение стандартного проекта небольшим, но практичным тамбуром.


Баня с крыльцом способна украсить любой дачный участок и делает внешний вид такого небольшого строения полностью законченным. При этом крыльцо может быть вынесено за пределы здания, но наилучшим вариантом станет его расположение под единой крышей с другими помещениями.


В последнее время актуальным стало возведение небольшой бани, оснащённой вместительной террасой, которая может использоваться в качестве полноценной зоны отдыха, защищённой от солнечных лучей и атмосферных осадков.


Полноценная малогабаритная баня со вторым (мансардным) этажом, позволяет экономить свободное место, поэтому очень востребована на небольших по площади дачных или приусадебных участках.


С целью получения комфортных условий для банного отдыха требуется учитывать не только правильный выбор материала для строения и его внешнюю эстетику, но также определённые особенности планировки. В любом случае полученная конструкция должна быть удобной, долговечной и обязательно пожаробезопасной.
stroy-banya.com
Баня 4х4 планировка фото
Баня 4 на 4 планировка внутри
Компактная баня 4х4 м – прекрасное решение для небольшого участка. Даже в условиях столь скромной по своим габаритам конструкции, можно вполне удачно расположить все необходимые помещения, получив в результате полноценную, функциональную и удобную баню.

Баня внутри
Ознакомившись с нижеизложенной информацией, вы узнаете о наиболее оптимальных вариантах расположения внутренних помещений бани 4х4 м, выборе рациональных габаритов каждого из них, особенностях внутренней отделки, а также дополнительных сопутствующих нюансах.

Баня 4х4
Общие рекомендации по планированию бани
Составление проекта любой бани, и строение размерами 4х4 м не является исключением, начинается с обозначения расположения наиболее главных помещений рассматриваемого строения, т.е. парилки, помывочной комнаты и предбанника.
Планировка бани Планировка бани Важно! Если баня 4 на 4 будет строиться из бревен (а именно этот материал наиболее часто используется при возведении конструкций столь скромных размеров), учитывайте, что внутреннее пространство в результате будет несколько меньше по сравнению с наружным. В процессе выполнения расчетов, отнимите от внутренней стороны используемых бревен толщину бревна (в случае срубки «в лапу»), либо же добавьте к этой толщине дополнительные 250 мм (в случае срубки «в чашу»). Это позволит вам максимально правильно выполнить требуемые расчеты.К прим
superbany.ru
Проект бани 4х4

Проект бани 4х4
Стремление обзавестись банькой, в которой можно попариться всей семьей, или душевно провести время в компании друзей – рождается сразу же после счастливого обретения земельного участка, на котором можно реализовать мечту. Те застройщики, которые полностью перепоручают строительство и благоустройство подрядной организации или гостям из Среднеазиатских республик, вникают в суть проектирования первый раз — на стадии выбора красивого домика/бани, нарисованного в фотошопе, второй — когда картинка в глянцевом журнале критически не совпадает с творением рук наемных строителей. Чтобы избежать такого травмирующего психику несоответствия, можно самостоятельно подготовить проект бани 4х4 и приступить к его реализации, затрачивая минимум сил и средств, поскольку в таком проекте будут учтены не интересы проектировщика и неизбежная маржа, а предпочтения собственника, рачительно экономящего каждую копейку.
Баня 4х4Проект, план, чертеж – в чем разница?
Для многих застройщиков, впервые столкнувшихся с необходимостью подготовить проект незатейливого сооружения на садовом участке, является откровением, что план – отличается от чертежа, а проект – это не только набор картинок с размерами, но нечто гораздо большее! Разработать проект бани 4х4 не представляет сложности даже для неподготовленного и далекого от строительства собственника, главное – понять, что проект – это не набросок на листке бумаги, и даже не выполненный аккуратно чертеж. Проект – это совокупность последовательных действий, включающих в себя все этапы подготовки, планирования, строительства, подключения к коммуникациям и последующего обслуживания будущей постройки.
В проектной документации учитывается все!
Проект бани 4х4Начиная с геодезической съемки участка местности и геологических изысканий, заканчивая расчетом стоимости метизов – гвоздиков и скобок для степлера, которые могут понадобиться при строительстве и отделке баньки своей мечты.
Выбор планировочного решения
Баня 4х4 – небольшое сооружение, но это не значит, что его можно разместить в любом месте на земельном участке.

Вариант планировки 2
Вариант планировки 3В процессе эксплуатации бани приходится использовать источник открытого горения – печь. Следовательно – соблюдать требования пожарной безопасности. Выбирая место, где расположить баньку, необходимо исходить из следующих требований:
- Место расположения от границы участка – не менее 1 метра, если это одноэтажное строение без фундамента – редчайший случай постройки щитовой сауны с электрокамином. Либо – 3 метра – в том случае, если у бани есть фундамент, сама постройка может быть отнесена к разряду жилых помещений. Все требования к размещению постройки можно изучить, прочтя следующие документы:
- Коммуникации – важнейшее требование при выборе места строительства бани! Вряд ли кому-то доставит удовольствие — перед тем как попариться морозным вечером накануне Рождества, несколько часов носить ледяную воду из колодца, расположенного на другом конце участка или совсем за его границей. Баня должна размещаться вблизи от источника водоснабжения и системы сбора сточных вод (септика). Иначе, возможна ситуация когда после банных процедур окажутся затопленными мыльной водой грядки с любимой клубникой или начнет чахнуть яблонька, десятки лет радовавшая хозяев своими плодами.
- Согласование с соседями. При соблюдении СНиП обычно не требуется согласовывать проект бани 4х4 с владельцами соседних участков. Исключения составляют случаи, когда участок обременен сервитутом. Ели по нему проходит тропинка на соседний участок, проложен водопровод, существует единственный подъезд и т.д. В этом случае необходимо либо изменить месторасположение планируемой бани, либо перенести в другое место сервитутные обременения.
Проектирование фундамента
В теории проектирование закладки фундамента начинают с геологических изысканий. Определяют структуру грунта, глубину залегания почвенных вод, глубину промерзания грунта. Основываясь на этих данных, выбирают оптимальную конструкцию фундамента. Большинство застройщиков пренебрегают этими требованиями и строят фундамент по принципу максимальной дешевизны, забывая о поговорке: «Дешевый сыр бывает только в мышеловке!»
ВАЖНО! Пренебрежение к устройству фундамента оборачивается многотысячными затратами на устранение огрехов, допущенных при строительстве!
Проект столбчатого или свайного фундамента на первый взгляд кажется самым простым и дешевым вариантом. На деле – бурение шурфов или аренда агрегата для закручивания винтовых свай может стоить гораздо дороже сборного ленточного фундамента из ФБС. Второй минус свайного фундамента – холодный пол! Затраты на утепление цоколя и дрова для топки бани «съедят» всю экономию пи закладке фундамента!
Проект свайного фундамента 4х4
Фундамент бани из пеноблоковПроектирование сруба
Баню 4х4 нельзя назвать маленькой. Если она построена по принципу русской парной – то это вполне достаточная площадь. Если вы выстроите сауну – будет тесновато так как придется разбить 16 м2 на три помещения:
- Парилку;
- Помывочную;
- Предбанник.
Согласитесь, что 5,33 м2 , приходящиеся на каждое из помещений, тесновато даже для одного человека, не говоря о какой-либо компании или совместной бане для всей семьи.
Такую небольшую баню рационально строить по классической русской планировке – единое пространство совмещающее парную с помывочной. Пар в такой бане влажный, редко выше 70°С, но зато – он более здоровый, легче переносится женщинами, престарелыми и детьми, а баня помимо своих гигиенических функций может использоваться для хозяйственных нужд – в качестве помещения для стирки и сушки белья, сушки осенних заготовок, в качестве резервного жилого помещения в экстренных ситуациях.
Проектирование крыши
Современные легкие отделочные материалы позволяют без проблем устраивать мансарды или второй не отапливаемый этаж, который эксплуатируется в теплое время года. В зависимости от фантазии застройщика крыша может иметь самый разнообразный вид.
Самая простая – двускатная с небольшим углом возвышения чердачное помещение используется только для сушки веников или хранения инвентаря. Менее популярна односкатная крыша. Её неудобство сказывается в зимнее время – если устроить угол уклона, обеспечивающий самостоятельный сход снега – баня будет смотреться нелепо, а если угол сделать пологим – то придется несколько раз за зиму чистить крышу от снега.
Пропорции двускатной крыши баниВальмовые и полувальмовые крыши у бани – большая редкость. Обычно при проектировании стремятся к максимальному удешевлению, а вальмовая крыша сложна в строительстве, требует определенных навыков и велика по площади что сказывается на цене кровельного материала.
Чертеж стропильной системы вальмовой крышиМансардная крыша – самое распространенное решение, придающее постройке вид катафалка! К сожалению, функциональность никак не сочетается с эстетикой. Проектируя баньку со вторым этажом, подумайте, часто ли у вас будет возникать желание после парной подниматься на второй этаж, чтобы покормить там комаров.
Мансардная крыша баниСоставление сметы к проекту
Самая неприятная часть работы – составление сметы. Баня 4х4 – сказочно красивая мечта начинает обретать материальные очертания, когда застройщик просчитывает, во сколько ему обойдется оздоровительное времяпрепровождение в парилке.
Главная ошибка неопытного застройщика заключается в том, что он считает только стоимость строительных материалов. Без учета затрат на проектирование, оформление документации транспортные услуги по доставке стройматериалов или аренде спецтехники: бурильной установки, манипулятора-погрузчика, найма работников для выполнения трудоемких работ.
Часто в проекте не учитываются такие «мелочи», как:
- Трубы для устройства дренажной системы бани.
- Материалы для устройства электропроводки.
- Теплоизоляционные материалы которые служат для обеспечения пожарной безопасности.
ВАЖНО! Если сауна оснащается электрической печью-каменкой, затраты на электроэнергию могут быть сопоставимы с месячным потреблением энергии на все остальное хозяйство!
About the Author
xn--80ab1bbeg6h.xn--p1ai
планировка внутри, фото, варианты дизайна

Для небольшого участка такая баня выглядит идеальным вариантом. Компактная конструкция может вместить в себя всё необходимое для полноценного отдыха. Функциональная баня 4 на 4 подразумевает интересную планировку внутри. О подробностях ее возведения, особенностях отделки и лучших примерах дизайна более детально поговорим далее.
Особенности планировки
Первым делом составляется проект, где обозначается размещение в пространстве ключевых узлов: предбанника, парилки и душевой. Небольшая конструкция предполагает акцент на вместительности. Некоторые хозяева выходят из положения с помощью надстройки второго этажа, где располагают комнату отдыха. Так или иначе, основным моментом при строительстве и планировке бани остается выбор подходящего места.
Что касается материалов для конструкции, то здесь традиционно в приоритете обработанный брус, кирпич и т.д. У древесных объектов при этом есть безусловный плюс — отсутствие необходимости в дополнительной отделке. Достаточно лишь обустроить сооружение выносной кровлей и террасой.
Типовые характеристики сооружения 4х4
При составлении технического проекта следует руководствоваться следующими характеристиками:
- площадь бани с оглядкой на фундамент — порядка 21,6 кв. м;
- распределение площади может происходить следующим образом: парилка — около 4 кв. м, предбанник — 3 кв. м, душевая — 3,5 кв. м, терраса — до 3 кв. м;
- что касается потолочного перекрытия, то здесь важно соблюдать высоту от 2 м.
Внимание! Высота потолка не зависит от выбора владельца — и одноэтажное, и строение с верандой необходимо обустраивать одинаково.
Классические размеры легко регулировать, отнимая полезные метры от той же душевой в пользу парилки. Либо оставить все на откуп второму этажу. Однако в таком случае нужно будет учесть пару метров для лестничного пролета.
Строительство бани
Рассмотрим каждый этап возведения бани по отдельности:
Надежной основой для здания бани станет ленточный фундамент. При этом желательно найти точку промерзания грунта, чтобы строение было максимально прочным. Если же грунтовые воды проходят слишком высоко, то владельцу следует обратить внимание на винтовые сваи. Также допускается вариант с установкой столбчатой основы, поскольку здесь также предполагается монтаж ниже точки промерзания почвы.
Внимание! Гидроизоляция производится в обязательном порядке!
Если выбирать между сборкой сруба или кирпичом, то следует отдавать себе отчет в трудоемкости монтажа последнего. Все элементы выбранного материала необходимо разметить и подогнать под данные проекта. Брус перед кладкой необходимо обработать специальным составом. При этом можно обойтись без крепления, поскольку собственный вес прочно удержит конструкцию. Помимо брусьев, важно предусмотреть битумную мастику и для фундамента. Это убережет древесный материал от влияния влаги.
Когда первый венец будущих стен будет уложен, следует еще раз проверить диагональ конструкции. После чего с помощью нагелей и джутового уплотнителя все ряды соединяются. Щели при этом тщательно герметизируют. Под самой кровлей нужно установить поперечные лаги на последний ряд брусьев.
Особенности проведения работ
Далее речь пойдет о внутренних работах:
- Внутренние перегородки устанавливают одновременно с кладкой венца. Для этого нужно заранее отметить место для посадочной выемки. Обычно перегородка отделяет парилку и душевую от предбанника. Саму же парилку лучше отделить переносной конструкцией, чтобы не снижать прочность сруба очередной врубкой.
- Для бани такого размера достаточно предусмотреть два окна: одно — в парилке, другое — в предбаннике. Альтернативным вариантом выступает установка продухов в парилке, и окна — в душевой. В последней должна быть предусмотрена вентиляция.
- Стропильная система должна быть изготовлена из качественной древесины. При этом желательно не злоупотреблять сложными конструкциями, который чрезмерно нагружают фундамент бани. Интересным вариантом представляется вальмовая конструкция, когда чердак выступает в качестве зоны отдыха. Одно- или двускатная модель кровли предполагает возможность использования практически любого материала. Первый вариант выглядит экономнее, однако тогда владелец останется без зоны отдыха.
Совет. Весовая нагрузка на стропильную систему снижается при уменьшении угла наклона.
Завершающие шаги
Внутреннее благоустройство бани позволяет хозяину проявить собственную фантазию. Хотя тот же профилированный брус не нуждается в каком-то декоре. Если же древесный материал толком не был обработан, то его недостатки легко скроет сайдинг или камень. Зачастую интерьер бани выполняется в вагонке или подобных материалах. Однако наибольшую пользу в себе несут древесные материалы из лиственных пород деревьев (например, липы). Сами отделочные работы могут потребовать от владельца монтаж обрешетки с гидроизоляцией. От последней можно отказаться лишь в субтропических регионах с мягким климатом. К низким же температурам хорошая порода деревьев вполне устойчива.
А еще нужно не забыть про такое оборудование, как печная труба. Место ее вывода следует обозначить еще перед началом внутренних работ в бане — после возведения объекта и отопительной системы. Также есть любители печей-каменок, которые делали еще наши деды. Однако последние требуют надежного фундамента и наличия места дымоотвода. Их делают в стенах, которые затем тщательно изолируют практичными составами. Это необходимо как для сохранения тепла, так и для предохранения от перегрева выходящей трубы.
На заключительном этапе монтажных работ следует подсоединить канализацию, подвести электричество и водопровод. После завершения этих операций баню можно считать готовой к эксплуатации.
Дизайн проект бани четыре на четыре мало чем отличается от более габаритных строений. Он также требует соблюдения банальных правил безопасности. Возможность для фантазии появляется у владельца лишь при отделке внутреннего интерьера.
Пример проекта бани: видео
thekomod.ru
Баня 4 на 4 метра. Особенности строительства и планировки

Строительство бани 4х4 мало отличается от строительства маленькой бани 3 на 3 метра, а вариантов планировки становится значительно больше. Самым главным вопросом при строительстве бани 4 на 4 становится, можно сказать, существенное увеличение по стоимости по сравнению с баней 3х3 и даже небольшой бани 3х4. Почему же это происходит?
Дело в том, что баня 3х3 и 3х4 часто рубится из бревна 160-180 миллиметров, тогда как для строительства 4-х метровой бани чаще идет бревно 180-200 мм, а иногда и 200-220 мм. Кроме этого при длине 3 метра стандартное 6-ти метровое бревно делится на 2, а с 4-х метровой так не поступить. В итоге получается большое количество обрезков длиной 2 метра, которые также включаются в стоимость как минимум по закупочной стоимости бревна. В итоге стоимость бани 4 на 4 метра оказывается ближе к варианту бани 6 на 6.
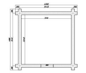
Так разумно ли строить баню таких габаритов? Чтобы понять рассмотрим различные варианты планировок в бане 4х4. Но для начала выясним, какое же пространство мы получаем внутри такой бани. Что мы имеем: габарит бани по бревну равен 4 метрам, диаметр бревна возьмем средний 200 мм, соответственно зауголок получится длиной 280 мм (200х1,4).

Здесь необходимо сделать две оговорки: во-первых, производитель может округлять длину зауголка до 300 мм, а во-вторых, для расчета мы берем зауголок для русской чаши, так как в лапу баня 4 на 4 делается крайне редко (такой вариант рубки применяют чаще для маленькой бани 3х3 для экономии пространства).
Возникает вполне логичный вопрос: «Почему тогда не строить баню 6 на 6 метров?»
Проблема в том, что не на каждом участке это возможно. Вот и приходится при близкой стоимости сруба бани 4х4 и 6х6 метров выбирать меньший вариант, где стоимость квадратного метра оказывается больше. При всех расчетах толщин и зауголков в итоге получается 3,24х3,24 метра полезное пространство (3,2 на 3,2 при зауголке 300 мм). Именно из таких внутренних размеров бани мы и будем рассматривать планировку бани 4 на 4 метра.

Планировка бани 4 на 4 метра
Говоря о планировке бани 4х4, зададимся вопросом: «Чем она отличается от бани 3х3?» Такая баня шире и длиннее на 90 см. Значит, мы можем взять за основу планировку маленькой бани и разместить все с большим простором для перемещения и риска обжечься. Именно этот подход мя применяем относительно длины или глубины бани (по отношению к двери). А вот по ширине мы свободно можем добавить еще один лежак.
Что в итоге мы получаем. При входе с одной стороны мы размещаем зону топки с печью, а с другой зону раздевания. Со стороны печи помещаем бак с холодной водой, который можно сдвигать (для этого лучше поставить на ролики): зимой ближе к печи, так замерзшая вода быстрее оттает, а летом дальше от печи – вода меньше нагреется. Здесь же может помещаться и бак с горячей водой, если он находится не на печи.
По диагонали от печи располагаем два широких полка (лежака) длиной 2 метра. В результате одновременно мыться или париться смогут 3-4 человека. Дополнительно оборудуем баню широкой сдвижной скамьей шириной 500-600 мм. При необходимости скамью можно поставить на лежак и лечь на нее, оказавшись в более жаркой зоне. Также рекомендуем поместить в бане табурет. Для чего? Лавка в зоне раздевания уже есть, но если возникнет ситуация, что широкую скамью переставили на полок сильнее погреться, то на второй лежак забраться без приступка будет сложнее. Здесь и пригодиться табурет.
Вариант такой планировки удачный, он полностью соответствует русской бане, когда моечная и парильная зоны едины. Но здесь нет теплого предбанника. Кроме этого много людей хотят отдельную парилку и моечное отделение. Возможно ли это в планировке бани 4 на 4 метра?
Планировка бани 4х4 с теплым предбанником

За основную идею планировки бани 4 на 4 с теплым предбанником можно взять вариант, который разбирался в статье «Планировка небольшой бани 3 на 4 метра». В ситуации с 4-х метровой баней она становиться шире, а значит, вместо сидячего полка можно поместить полноценный лежак или многоярусные узкие полки как в сауне.
Подробно разбирать этот вариант планировки не будем, так как вариаций может быть несколько. Предложим только одну из идей и поясним ее. На рисунке представлен вариант с лежаком длиной 1,75 м. Это минимальная удобная длина для взрослого мужчины, так как ступни могут свисать над баком.
Лавки справа сделаны шириной 400 мм, то есть с учетом свесов их реальная ширина будет 45-50 см. Такой ширины достаточно не только чтобы сесть и погреться несколько минут как в жаркой сауне, но и чтобы мыться, поставив таз с водой. Самая верхняя полка высокая. Она предназначена для прогревания лежа или чтобы поставить таз с водой в более жаркой зоне.
Особое внимание в предложенном варианте необходимо уделить средней лавке (полке). Если ее высота равна лежаку, который расположен рядом, то длина лежака увеличивается с 1,75 метра до 2,15 метров. То есть комфортно разместиться даже достаточно высокому человеку.
Планировка бани 4 на 4 метра с раздельной парилкой и моечной
В настоящее время стала популярна концепция раздельной парилки и моечного отделения. Реализовать планировку бани 4х4 по этому принципу тоже возможно. В ситуации простого деления бани 4х4 пополам сложности нет, поэтому такой вариант планировки рассматривать в данной статье не будем. Рассмотрим только варианты, когда есть еще и теплый предбанник для перехода из одной зоны в другую.
В ситуации с двумя отдельными помещениями парилки и моечного отделения, парилка может быть как русского типа, в этом случае размещается один лежак шириной 80 см и длиной от 1,7 до 2 метров, так и по типу сауны с многоуровневыми сидячими полками. В последнем варианте делаются многоуровневые полки шириной около 30 см, для увеличения вмещаемости полки располагаются углом. Описанные варианты без труда можно применить в предложенных планировках, поменяв концепции.
В предложенных вариантах сделана попытка объединения идей русской и финской бани, при этом в одном варианте приоритет по площади отдан парилке, а в другом – моечному отделению. Рассмотрим оба варианта детальнее. Сразу оговоримся, полки шириной 30 см исключены. Почему? Потому что русский человек не следует правилам!
Полка в 30 см предназначена для сауны с температурой 90-1100С. Человеку долго находиться при такой температуре (больше 7-10 минут) вредно для здоровья, но русский человек сидит, так как не привык следовать правилам. Долго сидеть на полке шириной 30 см неудобно, по этой причине ширина полок применяется 40 см.
Планировка бани 4х4 с приоритетом парилки

Когда приоритет в бане 4х4 отдается парилке, то габарит ее делается примерно 2х2 метра, на моечное отделение остается чуть больше метра ширины, но этого достаточно, чтобы один – два человека могли помыться, ополоснуться после парилки. Также здесь можно помыть маленьких детей, когда взрослые парятся, или помет помыться пожилой человек, которому противопоказаны высокие температуры.
В самом парильном отделении возможны различные комбинации полок. Рассмотрим предложенный вариант. Полка слева имеет ширину 800 мм и скошена к дверям, а ее длина около 1,7 метра. При высоте 75-80 см это вариант лежака, на нем можно париться по русскому варианту, но придется подогнуть ноги в коленях. При желании можно развернуться и положить ноги на более высокую полку. А если высоту рядом расположенной полки шириной 50 см сделать равной этому лежаку, то длина для лежания будет более 2 метров.
В тоже время полку шириной 500 мм можно сделать высотой до 110 см., тогда на ней можно и сидеть и лежать в более жарких условиях. А можно сделать ниже и сравнять все высоты полок, тогда мы получим лежак шириной до 90 см и длиной 2 метра. В общем комбинируйте по собственному вкусу.
И еще пара слов о моечном отделении. На картинке показана высокий полок шириной 60 см, на нем удобно сесть с тазом, а также сдвижная скамья для удобства забираться на высокую полку. Ширину этой скамьи можно увеличить, например до 80 см, тогда в полностью задвинутом состоянии будет приступок шириной около 20 см чтобы забраться на высокую полку, а при полностью выдвинутом варианте большая приподнятая от пола полка, где могут плескаться дети, а возможный холодный пол уже не проблема.
Планировка бани 4 на 4 с приоритетом на мойку

В этом случае площади моечного и парильного отделений распределяются примерно одинаково. Да, при приоритете на моечное отделение примерно одинаково! Габарит 2х1,5 метра – это минимум, который можно отвести на парилку, так как у нас в ней размещается или один широкий лежак или несколько сидячих ярусов.
В предложенном варианте есть и широкий лежак и сидячие ярусы для одного человека. В такой парилке могут поместиться 3 человека: один сидит и прогревается, второй лежит, а третий его парит. На первый взгляд может показаться, что парить неудобно. Но это не так! Сдвинув скамью и согнув руки с вениками, парящему надобности тянуться не будет, так как веники окажутся в зоне спины, а располагаться будут практически вдоль тела.
В моечном отделении полки можно разместить уже углом. Здесь же можно разместить бак, который в первом варианте (не прорисован) пришлось бы размещать в теплом предбаннике с подачей в моечное отделение.
В общем, варианты планировок есть. Определите ваши потребности, выбирайте и комбинируйте.
В заключении замечание относительно дверей
На схемах показаны двери разной ширины. Ширина банной двери может варьировать от 60 см по коробке до 80 см по дверному полотну. Общий принцип: в дверь должен входить человек, но тепла выходить должно как можно меньше. Поэтому ширина двери должна стремиться к минимальному значению, а открываться желательно внутрь. Если в вашем конкретном случае узко и неудобно, то меняйте на удобный вариант.
И, легкого вам пара!
teremwood.ru
